Материал: Оборудование для кустового бурения скважин

Внимание! Если размещение файла нарушает Ваши авторские права, то обязательно сообщите нам

Завершив сборку основания, устанавливают и закрепляют на нем лебедки, электропривод и вспомогательный привод, а затем, после сборки буровой вышки и подъема ее в рабочее положение, монтируют на основании все необходимое оборудование, собирают укрытие и устанавливают приемный мост.

Насосный блок

Насосный блок представляет собой основание, на котором монтируются два буровых насоса У8-6МА2 с индивидуальными электроприводами, электрокомпрессор высокого давления КР-2 для подготовки сжатого воздуха и зарядки пневмокомпенсаторов буровых насосов, пульт управления насосами и металлическое укрытие панельного типа. Кроме того, на блоке предусмотрены два консольно-поворотных крана грузоподъемностью по 5 кН для обслуживания буровых насосов.

Основание насосного блока состоит из одной нижней рамы, двух верхних рам и и четырех площадок. Каждая верхняя рама вместе с установленными на ней буровым насосом и электроприводом представляет собой насосную секцию, которая может транспортироваться отдельным блоком. Для перевозки блока в собранном виде на нижней раме основания предусмотрены два съемных кронштейна и один поворотный кронштейн под тяжеловозы.

Компрессорный блок

Компрессорный блок установки предназначен для получения сжатого воздуха, осушки, очистки его и накопления в воздухосборниках. Он представляет собой металлическое основание, выполненное в виде общей рамы с установленным на ней оборудованием и цельнометаллическим укрытием. На основании блока монтируются два компрессора КСЭ-5М с индивидуальным электроприводом, пульт управления и два воздухосборника.

Установка для осушки воздуха УВ-10-МВ2М, входящая в комплект пневмосистемы буровой, собирается отдельно, вблизи компрессорного блока.

Транспортировка блока в собранном виде предусматривается на передвижной платформе ПП-40Бр.

Энергетический блок

Энергетический блок установки, предназначенный для распределения электроэнергии на буровой, выполнен в виде металлического основания рамной конструкции с установленными на нем понижающим трансформатором для питания вспомогательных механизмов, вспомогательным распределительным устройством KPHB-6VI, осуществляющим прием электроэнергии напряжением 6000 В и питание электроприводов буровой лебедки и насосов, станции управления вспомогательными механизмами, а также панелей магнитных пускателей и штепсельных разъемов для подключения кабелей внешних.

Дизель-генераторный блок

Дизель-генераторный блок, предназначенный для аварийного питания вспомогательных механизмов буровой установки электроэнергией переменного тока и освещения рабочих мест, представляет собой металлическое основание с установленным на нем дизель электрическим агрегатом АСДА-200.

2.2 Устройство и монтаж буровой установки БУ-2500ЭУК


Буровая установка БУ-2500ЭУК, как и установка БУ-3000ЭУК, предназначена для кустового бурения скважин на нефтяных месторождениях Западной Сибири. В состав бурового оборудования БУ-2500ЭУК, поставляемого Волгоградским заводом буровой техники (ВЗБТ), входят вышечно-лебедочный блок, оснащенный механизмом передвижения и выравнивания, насосный блок, а также компрессорный, энергетический и дизель-генераторный блоки. Циркуляционная система очистки бурового раствора, укрытия системы и манифольдная линия буровых насосов здесь тоже поставляются смежными предприятиями и полностью заимствованы у установки БУ-3000ЭУ.

Техническая характеристика БУ-2500ЭУК

Условная глубина бурения при массе 1 м бурильной колонны 30 кг, м 2300

Нагрузка на крюке, допускаемая в процессе проводки и крепления скважины, кН 1400

Мощность привода подъемного механизма, кВт .430

Мощность привода буровых насосов, кВт 1260

Тип привода:

Буровой установки

Электрический, переменного тока, напряжением 6000 В

Лебедки и ротора групповой

Буровых насосов индивидуальный

Оснастка талевой системы 4Х5

Диаметр талевого каната, мм 28

Буровой насос НБТ-600 2

Гидравлическая мощность буровых насосов, кВт 950

Наибольшая суммарная подача, м3/с 0,085

Наибольшее давление на выкиде насосов, МПа 25

Тип ротора Р560Ш-8

Вышка ВМ4б18Бр

Максимальная грузоподъемность на крюке при оснастке 4X3 кН 1400

Высота (от стола ротора до низа подкронблочной рамы), м 42,5

Размер нижней базы, м 9

Номинальная длина свечи, м 25

Отметка пола буровой от уровня земли, м 6,3

Масса буровой установки, кг 570100

Вышечно-лебедочный блок

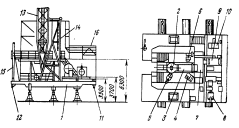
Вышечно-лебедочный блок (рис.4) установки представляет собой разборное металлическое основание на колесно-рельсовом ходу с расположенным на нем оборудованием. Основание блока выполнено в виде жесткой платформы, собранной из двух боковых по одной центральной рамы.

К платформе закрепляются плоские фермы и подпираются до волнительно регулируемыми по длине стяжками. На верхние пояса ферм устанавливаются две рамы, которые в совокупности с промежуточными площадками образуют на высоте 6,3 м от уровня земли буровую площадку. На площадке монтируются ротор 2, трансмиссия ротора 3, вспомогательная лебедка 4, буровой ключ 5, пульт бурильщика 6 и т.д.

Ниже, на отметках 3,7 и 3,5 м устанавливаются соответственно лебедочная и приводная секции блока, смонтированные на отдельных рамах. На раме лебедочной секции располагаются буровая лебедка 7 со вспомогательным тормозом и электрооборудование, oтносящееся к этой секции, а на раме приводной секции - электропривод 8 лебедки и ротора, коробка передач 9 и станция управления 10. Как лебедочная, так и приводная секции блока могут перевозиться отдельно на передвижных платформах ПП-40Бр. Для транспортировки блока на тяжеловозах к основанию крепятся балка 11 с балансирным устройством и съемные кронштейны VI

В приустьевом пространстве к основанию блока подвешивается площадка для обслуживания клиньев ротора и устанавливаются ограждения.

Под основанием устанавливаются металлоконструкции и узлы механизма передвижения и выравнивания блока. Здесь, как и при установке БУ-3000ЭУК, передвижение блока по направляющим балкам осуществляется с помощью гидроцилиндров, а выравнивание - домкратами. На время бурения ходовые колеса механизма разгружаются, и блок устанавливается на направляющие своими резьбовыми опорами.

Конструкция механизма обеспечивает также безопасное передвижение блока вместе с комплектом бурильных свечей, установленных на подсвечниках.

На боковые рамы платформы опираются буровая вышка 13, механизм подъема 14 и консольно-поворотный кран 15 для обслуживания приемного моста грузоподъемностью 20 кН.

Высота буровой вышки, как и высота вышки ВМР-45Х170 на установке БУ-3000ЭУК, позволяет работать с удлиненной ведущем трубой и наращивать бурильный инструмент свечами.

Каркас укрытия 16 блока выполнен разборным и состоит из от дельных стоек, ферм, связей и ограждений. Все элементы каркас, крепятся между собой посредством штырей, осей и планок с болтами, а жесткость всей конструкции обеспечивается с помощью резьбовых регулируемых стяжек.

Обшивка каркаса не входит в комплект буровой установки и изготовляется на местах из имеющихся материалов.

Со стороны приемного моста в каркасе укрытия предусмотрены ворота. Створки ворот обшиты металлическим листом и закрываются с помощью задвижки. Передние стенки каркаса выполнены поворотными и обеспечивают свободное прохождение буровой вышки в момент ее подъема или опускания. Задняя стенка, расположенная за пультом бурильщика, обшита металлическими листами с двух сторон и между листами уложен звукоизолирующий наполнитель. Над пультом бурильщика устанавливается козырек, защищающий бурильщика от прямых солнечных лучей и атмосферных, осадков. Положение козырька регулируется.

Для проведения ремонтных работ в приводной части блока к фермам каркаса закреплен монорельсовый путь, на котором подвешивается ручная таль грузоподъемностью 10 кН, а для обслуживания электродвигателя главного привода предусмотрена навесная площадка с дополнительной секцией каркаса укрытия.

Рис.4 Вышечно-лебедочный блок БУ-2500ЭУК

Приемный мост блока состоит из двух горизонтальных трапов 1 и 2 (рис.5), наклонного трапа 3 и девяти стеллажей 4.

Горизонтальный трап 1 представляет собой плоскую сварную раму, а трап 2 - изогнутую. На трапах уложен настил из листовой рифленой стали и предусмотрены направляющие для перемещения специальной тележки, используемой при выбросе инструмента с буровой площадки.

Наклонный трап тоже выполнен в виде плоской рамы с настилом из листовой стали. Верхний конец его устанавливается в специальные гнезда на основании блока и закрепляется в них осями. В рабочем положении трап удерживается подкосами 5, закрепленными в проушинах основания. Желоб трапа оканчивается вниз съемным желобом 5, который применяется лишь при подъеме труб. На буровую площадку, и демонтируется при выбросе инструмента, а на освободившееся место устанавливается предусмотренная для этой цели тележка.

Наклонный трап соединяется с горизонтальным с помощью шарнирных звеньев 7, позволяющих компенсировать относительное смещение трапов при проседании приемного моста или блока в целом. Такие звенья раскрепляются при передвижке блока и соединяются снова на новой скважино-точке.

При передвижении блока в кусте необходимо раскрепить и болтовые соединения 8, связывающие между собой горизонтальные трапы.

Стеллажи приемного моста выполнены в виде трехгранных ферм и обшиты металлическим листом. На стеллажах устанавливаются съемные балки 9, обеспечивающие одинаковый уровень с горизонтальными трапами. При передвижке блока балки переставляются и закрепляются к стеллажам с помощью стяжек.

Во избежание раскатывания труб на стеллажах предусмотрены скобы для установки стоек. Стойки заводом не поставляются и изготавливаются на месте из труб.

Монтаж блока обычно осуществляется в следующей последовательности. Сначала устанавливают на подготовленной площадке направляющие балки механизма передвижения и собирают на балках основание блока, закрепляя к нему все остальные узлы механизма. Затем на основании собирают лебедочную и приводную секции, устанавливают ротор, привод ротора, вспомогательную лебедку и пульт бурильщика. Завершив монтаж основного оборудования, приступают к сборке буровой вышки и механизма подъема, оснащают талевую систему буровой и после подъема вышки рабочее положение монтируют на блоке неустановленное оборудование, коммуникации, укрытие и устанавливают приемный мост.

Рис.5 Приемный мост

Буровая вышка ВМ-45 - 185Бр

Вышка ВМ-45-185Б (рис.6) представляет собой А-образную конструкцию, состоящую из двух четырехгранных ног. Каждая нога вышки собирается из четырех цельносварных секций У, 2 и 3 длиной по 11 ми секции 4 длиной 11,7 м. Секции заканчиваются фланцами и соединяются между собой на хомутах 5. Ноги вышки заканчиваются проушинами и устанавливаются в регулируемые опоры на основании блока.

В секциях левой ноги вышки до уровня платформы встроены маршевые лестницы с переходными площадками, а от платформы до кронблочной площадки - лестницы тоннельного типа. Последние встроены и в секциях правой ноги вышки до площадки для обслуживания стояка нагнетательной линии буровых насосов, а выше - лестницы-стремянки (на рисунке лестницы не показаны).

В рабочем положении вышка опирается на козлы 12 и 13 механизма подъема, выполняющие роль подкосов, и расчаливается четырьмя растяжками 14. Козлы шарнирно связаны с основанием блока и устанавливаются вертикально с помощью крана.

Вышка собирается в горизонтальном положении, как показано на рис.87. Для обеспечения необходимой устойчивости блока под выступающие части боковых рам основания устанавливают на время подъема вышки дополнительные опоры, которые переставляются затем под основание в районе приводной секции.

Подъем вышки обеспечивается с помощью вспомогательного привода па первой передаче. При входе штока механизма фиксации вышки в корпус буфера 2 подъем прекращается, и вышку соединяют с козлами стяжками 3 с помощью пальцев. Пальцы закрепляют чеками и чеки шплинтуют. В случае несовпадения отверстий стяжек и проушин 4 последние перемещаются с помощью винтовых тяг 5 и гаек 6 в ту или другую сторону. Схема оснастки механизма подъема вышки представлена на рис.7.

При демонтаже вышка опускается в горизонтальное положение в обратной последовательности. Из рабочего положения она выводится винтовыми тягами.

В случае необходимости допускаются подъем и опускание вышки с помощью трактора. При этом принципиальная схема оснастки механизма подъема сохраняется. Разница заключается лишь в том, что ходовой конец талевого каната не закрепляется на барабане лебедки, а огибает его и выводится на тяговый трактор. Направление перепуска каната выбирается в зависимости от возможностей перемещения трактора на площадке.

Центрирование вышки может производиться в двух направлениях. В направлении продольной оси блока вышка центрируется винтовыми тягами, а в поперечном направлении - гидравлическими домкратами грузоподъемностью 250 кН. Такие домкраты входят в комплект буровой установки и устанавливаются при центрировании под специальные упоры в нижних секциях вышки

Рис.6 Буровая вышка ВМ-45 - 185Бр

Рис.7 Монтаж и подъем вышки

Насосный блок

Насосный блок буровой установки состоит из основания, на котором смонтированы два буровых насоса 1 (рис.8) с электроприводами 2, электрокомпрессор 3 высокого давления, предназначенный для заполнения пневмокомпенсаторов насосов сжатым воздухом, пульт управления 4 насосами, каркас укрытия 5 и коммуникации. Основание блока представляет собой платформу 6 с установленными на ней рамами 7 и 8, центральной площадкой 9 и боковыми площадками 10 и 11. Платформа опирается на опоры 12 и снабжена кронштейнами 13 и 14 под тяжеловозы. Передний моно ротный кронштейн 13 выполнен съемным.

Рис.8 Насосный блок

Компрессорный блок

В состав компрессорного блока входят установленные на общей раме две компрессорные станции, пульт управления станциями, два воздухосборника, фильтр-влагоотделитель и укрытие. Каждая компрессорная станция состоит из компрессора КТ6 и электродвигателя. Блок может транспортироваться в собранном виде передвижной платформе ПП-40Бр.

Дизель-генераторный блок

Блок состоит из дизель-генераторного агрегата АСДА-200 мощностью 200 кВт, панелей управления, сливного бака и аккумуляторной батареи, установленных на общей раме. Кроме того, на блоке монтируется трансформатор ТС-2,5/0,5 для приводов механизмов, обеспечивающих выполнение геофизических работ.

Энергетический блок

На раме энергетического блока устанавливают понижающий трансформатор, высоковольтное распределительное устройство, станция управления вспомогательными механизмами и панель магнитных пускателей.

3. Циркуляционные системы ЦС2-3000ЭУК И ЦЗН3-3000ЭУК


3.1 Циркуляционная система ЦС2-3000ЭУК


Циркуляционной системой ЦС2-3000ЭУК комплектуется обычно специальные буровые установки для кустового бурения.