|
№
|
Наименование оборудования
|
Количество
|
Мощность N (кВт)
|
Напряжение U (В)
|
Суммарная Мощность N∑ (кВт)
|
|
1
|
Очистное сооружение
|
1
|
2,8
|
380
|
2,8
|
|
2
|
Моечное оборудование
|
4
|
1,8
|
220
|
7,2
|
|
3
|
Пылесос
|
4
|
1,9
|
220
|
7,6
|
|
4
|
Компрессор
|
4
|
4
|
380
|
16,0
|
|
5
|
Балансировочный стенд
|
3
|
0,35
|
220
|
1,05
|
|
6
|
Компрессор РЕМЕЗА
|
3
|
2,2
|
380
|
6,6
|
|
7
|
Вулканизатор настольный
|
3
|
1
|
220
|
3
|
|
8
|
Торм. стенд
|
1
|
8
|
330
|
8,0
|
|
9
|
Пост подготовки к окраске
|
4
|
6,7
|
380
|
26,8
|
|
10
|
Машина швейная
|
1
|
1,8
|
220
|
1,8
|
|
11
|
Оверлок
|
1
|
220
|
0,15
|
|
12
|
Утюг
|
1
|
1,6
|
220
|
1,6
|
|
13
|
Гайковерт пневматический
|
3
|
2,2
|
220
|
6,6
|
|
14
|
З/у для АКБ
|
1
|
1,7
|
220
|
1,7
|
|
15
|
Газоанализатор
|
2
|
1,5
|
220
|
3,0
|
|
16
|
Осветительные приборы
|
|
10,79
|
220
|
10,79
|
|
17
|
Оргтехника
|
|
1,2
|
220
|
1,2
|
|
Итоговая мощность всего оборудования
|
105,89
|
Итоговая мощность всего установленного на предприятии оборудования и
осветительных приборов определяется как:
5.3 Проектирование системы
теплоснабжения
Проектирование системы отопления выполняется на основании
архитектурно-строительных, санитарно-технических чертежей в соответствии с СНиП
2.04.05-91 «Отопление, вентиляция и кондиционирование». Выбор системы
отопления, вида и параметров теплоносителя определяется тепловой инерцией
ограждающих конструкций, характером и назначением помещения.
Целью расчета системы отопления является нахождение потребного количества
тепла для поддержания в холодный период года во всех помещениях здания
оптимальных температур в соответствии с требованиями по охране труда. При
расчете теплообеспечения станций технического обслуживания следует учитывать
дополнительные потребности тепла, связанные с частым открыванием ворот,
нагреванием автомобилей и воздухообменом, и прочее.
Исходными данными для расчета являются метеорологические условия района
застройки.
Расчет теплоснабжения производственной зоны.
1. Определяется коэффициент теплопередачи:
,
где
=8,7- коэффициент теплоотдачи внутренней поверхности,
;
-
толщина слоя пенополистерола (
=0,25 м);
-
теплопроводность пенополистерола (
=0,055Вт/м
С);
-
толщина слоя стального листа (
=0,0015м);
-
теплопроводность стали (
=43,5 Вт/м
С).
=23-
коэффициент теплоотдачи наружной поверхности,
.
.
Вычисляется стандартный температурный напор:
, 0С
где
- температура воздуха внутри помещения;
-
температура наиболее холодной пятидневки года.
3. Определяются потери теплоты через отдельные наружные элементы:
, Вт
где
- площадь ограждения, м2;
-
коэффициент, учитывающий разность температур.
Используя
таблицу «потери окон различной конструкции» определяем потери через оконные
проемы:
Где Qуд- потери тепла через 1 м2 оконного проема.
4.
Учитывая добавочные теплопотери
для
каждого элемента помещения согласно рекомендациям СНиП 2.04.05-91 вычисляются
общие потери тепла через ограждения:
, Вт
.
Находятся суммарные теплопотери для всех помещений:
, Вт
где
- общие потери тепла через ограждения;
-
теплопотери на инфильтрацию врывающегося воздуха;
-
поступление холодного воздуха в помещение;
=2 -
поправочный коэффициент;
=8,5 -
объемный расход воздуха через 1 м щели или притвора, м3/с;
- длина
щели или притвора, м;
=1,005 -
удельная теплоемкость воздуха,
;
-
стандартный температурный напор, 0С;
=0,8 -
коэффициент, учитывающий влияние встречного потока.
Для
производственных помещений теплопотери на инфильтрацию врывающегося воздуха
допускается принимать равными 30% от остальных потерь через ограждения.
Исходя
из вышесказанного принимаем
Вт
, Вт
6. Определяются теплопоступления для каждого помещения:
, Вт
Где:
-теплопоступления
от одного человека, находящегося в помещении;
Вт -
теплопоступления от работающего электрооборудования;
=1,07 -
коэффициент, учитывающий интенсивность работы;
=0,7 -
коэффициент, учитывающий теплозащитные свойства одежды;
=0,16 -
скорость воздуха в помещении, м/с;
=19 -
температура воздуха внутри помещения;
-
поправочный коэффициент;
-
итоговая мощность всех источников электропотребления установленных на
предприятии.
.
Определяется потребное количество теплоты:
, Вт
8. Вычисляется расчетная площадь отопительных приборов:
, м2
где
=640 Вт/м2- номинальная плотность теплового
потока, Вт/м2 для конвекторов типа «Универсал ТБ» КСК-20М-0,655к.
-
коэффициент, учитывающий понижение температуры нагревательного элемента;
-
коэффициент, учитывающий количество секций (труб регистров);
-
коэффициент, учитывающий способ подвода теплоносителя;
-
коэффициент, учитывающий способ установки нагревательного элемента.
9. Определяется необходимое число отопительных приборов:
,принимаем
10 шт.
где
- число труб в отопительном приборе;
-
наружная площадь одной секции (трубы регистра).
Расчет теплоснабжения мойки.
.Определяется коэффициент теплопередачи:
,
2. Вычисляется стандартный температурный напор:
, 0С
.
Определяются потери теплоты через отдельные наружные элементы:
, Вт
Используя
таблицу «потери окон различной конструкции» определяем потери через оконные
проемы:
.
Учитывая добавочные теплопотери
для
каждого элемента помещения согласно рекомендациям СНиП 2.04.05-91 вычисляются
общие потери тепла через ограждения:
, Вт
5.
Находятся суммарные теплопотери для всех помещений:
Вт
, Вт
6.
Определяются теплопоступления для каждого помещения:
, Вт
Вт -
теплопоступления от работающего электрооборудования;
7.
Определяется потребное количество теплоты:
, Вт
8.
Вычисляется расчетная площадь отопительных приборов:
, м2
9.
Определяется необходимое число отопительных приборов:
,принимаем
6 шт.
Расчет
теплоснабжения шиномонтажной.
.Определяется
коэффициент теплопередачи:
,
2. Вычисляется стандартный температурный напор:
, 0С
.
Определяются потери теплоты через отдельные наружные элементы:
, Вт
Используя
таблицу «потери окон различной конструкции» определяем потери через оконные
проемы:
4.
Учитывая добавочные теплопотери
для
каждого элемента помещения согласно рекомендациям СНиП 2.04.05-91 вычисляются
общие потери тепла через ограждения:
, Вт
.
Находятся суммарные теплопотери для всех помещений:
Вт
, Вт
6. Определяются теплопоступления для каждого помещения:
Вт
Вт -
теплопоступления от работающего электрооборудования;
7. Определяется потребное количество теплоты:
, Вт
.
Вычисляется расчетная площадь отопительных приборов:
, м2
9.
Определяется необходимое число отопительных приборов:
,принимаем
2 шт.
Расчет
теплоснабжения офиса.
.Определяется
коэффициент теплопередачи:
,
2. Вычисляется стандартный температурный напор:
, 0С
3.
Определяются потери теплоты через отдельные наружные элементы:
, Вт
Используя
таблицу «потери окон различной конструкции» определяем потери через оконные
проемы:
4.
Учитывая добавочные теплопотери
для
каждого элемента помещения согласно рекомендациям СНиП 2.04.05-91 вычисляются
общие потери тепла через ограждения:
, Вт
5. Находятся суммарные теплопотери для всех помещений:
Вт
, Вт
6. Определяются теплопоступления для каждого помещения:
, Вт
Вт -
теплопоступления от работающего электрооборудования;
.
Определяется потребное количество теплоты:
, Вт
.
Вычисляется расчетная площадь отопительных приборов:
, м2
9. Определяется необходимое число отопительных приборов:
,принимаем
0 шт.
5.4 Проектирование системы вентиляции
Расчет вытяжной вентиляции включает в себя: определение необходимых
расходов вытягиваемого воздуха, подбор вентиляционного оборудования.
I) В соответствии с нормами СНиП 2.04.05 - 91 и ВСН 01 - 81 определим
необходимые расходы воздуха для участков вентиляционной сети:
Вредные газы, находящиеся в производственном помещении удаляются системой
вентиляции из верхней части помещения разнесенными воздухоприемниками,
вмонтированными в подвесной потолок. Расход воздуха также определим методом
нормированной кратности воздухообмена. Согласно нормам в помещениях где
осуществляются работы с подъемно-транспортным оборудованием удаление воздуха
должно происходить с нормой кратности воздухообмена кратностью К = 10
.
К - норма кратности воздухообмена,
;
При проектирование системы вентиляции нормативным документом является
СНиП 2.04.05-91.
Важнейшим требованием, предъявляемым к вентиляционному оборудованию
станции технического обслуживания автомобилей, является предотвращение
образование в воздушном пространстве концентрации газов, паров и пыли,
превышающих величину, установленных общей инструкцией и правилами пожарной
безопасности.
Методика расчета :
1. Определяется необходимая производительность систем вентиляции для
удаления выхлопа газов одного автомобиля (расходов воздуха, удаляемый из
рабочей зоны помещения):
2.
где
Vл - объем двигателя, л;N - номинальная частота вращения
коленчатого вала двигателя, об/мин;зап - коэффициент запаса;
3. Определяется воздухообмен общей вентиляции:
а) удаление явной теплоты:
где
явные тепловыделения в помещении;
С - удельная теплоемкость воздуха, Дж/кг ∙Кp
= tB + 4 - температура воздуха удаляемого из обслуживаемой
зоны, 0C;
tпр
- температура приточного воздуха ( согласно с СНиП 2.04.05-91);’ч -
теплота, выделяющаяся одним человеком, Вт;‘авт= Mавт ∙
Cавт ∙(tавт - tр) ∙ I - теплота от
нагрева автомобиля, Вт;
Мавт
- масса автомобиля, кг;
С
авт- средняя удельная теплоемкость автомобиля, Дж/кг∙Кавт-
средняя температура автомобиля, 0С;- количество автомобилей,
въезжающих в течение одного часа;
- теплота от одного работающего двигателя;час - часовой расход
топлива, кг/ч;
Ни - низшая теплота сгорания, Дж/кг;
1 - коэффициент выделения теплоты;
2 - коэффициент, учитывающий время работы двигателя;
3
- коэффициент, учитывающий
одновременную работу двигателей;
-
теплота от электрооборудования, Вт;’эл - теплопоступления от
работающего электрооборудования, Вт;
1 - коэффициент использования установленной мощности;
2 - коэффициент загрузки;
3
- коэффициент одновременной
работы электрооборудования;
4
- коэффициент перехода
электрической энергии в тепловую;
тепловой
поток, поступающий от солнечной радиации через остекления, Вт;ост -
площадь поверхности остекления, м2;ост - теплопоступление
от солнечной радиации через 1м2 остекления;
аост
- коэффициент, зависящий от характера остекления;
б) удаление вредных примесей:
где mпр - масса вредных веществ поступающих в помещение
(согласно с СНиП 2.04.05-91);
кр - концентрация вредного вещества, удаляемого из рабочей
зоны;
кпр - концентрация вредного вещества в воздухе.
. Определяется распределение кратности воздухообмена:
где S - площадь помещения, м2;
Н - высота помещения, м.
В административных помещениях для обеспечения санитарно-гигиенических
норм на каждого рабочего расход воздуха составляет L1 = 25 м3/ч.
Поэтому необходимый воздухообмен для административных помещений рассчитывается
по формуле:
где n - число людей находящихся в помещении.
5. Определяется естественное расчетное давление в воздуховоде общеобменой
вентиляции:
101325+0,2352=101325,2352,
Па;
где Pатм - атмосферное давление , Па;
1,6
9,8
(1,22-1,205)=0,2352 перепад давления в воздуховоде, Па;i -
вертикальное расстояние от центра оконного проёма до устья вытяжной шахты, м;
ρн -
плотность наружного воздуха, кг/м3;
6. Вычисляется эквивалентный диаметр для каждого участка воздуховода
прямоугольного сечения:
(2
0,8
0,7)/(0,8+0,7)=0,75, м
где a и b - соответственно длина и ширина, м.
7. Определяется площадь сечения трубы для каждого участка по заданному
эквивалентному диаметру:
, м2
8. Скорость течения воздуха в воздуховоде для участка будет равна:
, м/
9. Гидравлические потери характеризуется числом Рейнольдса:
где v - кинематический коэффициент вязкости, м/с2.
На заданную подачу вентиляторной установки принимается запас в пределах
10% на возможные дополнительные потери.
10. Определяется полная мощность вентилятора:
, Вт.
где L - производительность вентилятора;
Р - давление создаваемое вентилятором;
- КПД
вентилятора;
- КПД
привода.
Данный
расчет был произведен на 1 автомобиль, т.к. на посту мойки 3 места и при въезде
- выезде автомобилей открываются ворота, принимаем мощность вентилятора 250 Вт.
Подбирается
Марка вентилятора и электродвигателя.
5.5 Проектирование системы
водоснабжения и канализации
Проектирование систем водоснабжения и канализации выполняется на
основании СНиП 2.04.01-85 «Внутренний водопровод и канализация».
Внутренним водопроводом называется система трубопроводов и устройств,
обеспечивающая подачу воды к санитарно-техническим приборам, технологическому
оборудованию, обслуживающая одно здание или группу зданий и имеющая общее
водоизмерительное устройство от сети водопровода населенного пункта или
промышленного предприятия.
Внутренние сети водопровода проектируются в соответствие с ГОСТ 3262-75.
Ввод водопровода заканчивается водомерным узлом, который служит для учёта
количества воды, расходуемой в здании.
Водомер подбирается по максимальному суточному расходу воды:
, м³/сут,
где
- норма максимального водопотребления на 1 чел;
-
расчётное число людей в здании;
-
коэффициент, суточной неравномерности;
- норма
максимального водопотребления на 1 автомобиль.
м³/сут.
По таблице СНиП П-Г-2.1-7 принимаю счетчик для воды антимагнитный «Бетар»
СВГ 15 (Россия).
Внутренняя канализация - система трубопроводов и устройств,
обеспечивающая отведение сточных вод от санитарно-технических приборов, а также
дождевых и талых вод в сеть канализации соответствующего назначения населенного
пункта или промышленного предприятия.
Элементами внутренней канализации являются:
приёмники сточных вод,
отводные линии от приёмников сточных вод к стоякам,
стояки с ревизиями и вытяжной частью,
выпуск в дворовую канализацию с прочистками.
Чтобы загрязнённый воздух из канализационной сети не попадал в помещение,
все приёмники сточных вод снабжаются гидравлическими затворами - сифонами.
6. Технологическая
часть
6.1 Характеристика
методов восстановления крестовин и выбор наиболее перспективного метода
К традиционным методам увеличения ресурса деталей относятся: создание
новых материалов с повышенными свойствами; улучшение конструкции деталей,
качества и технологии их обработки; повышение интенсивности охлаждения [5, 22].
Быстроизнашивающиеся детали, изготовленные целиком из легированных сталей
с применением объемной либо поверхностной термообработки, обладают высокой
износостойкостью, но способ их получения экономически нецелесообразен. Поэтому
детали изготавливают из дешевых углеродистых сталей или чугунов с упрочнением
лишь их рабочих поверхностей нанесенным слоем покрытия с необходимыми рабочими
характеристиками.
Методы химико-термической поверхностной обработки стальных деталей
(цементация, азотирование, борирование и другие) применяют лишь для новых
деталей. Это позволяет добиться небольшой толщины упрочненного слоя.
Широко распространена в ремонтном производстве, а также при создании
новых деталей в машиностроении износостойкая наплавка.
В практике ремонта и упрочнения различных деталей находят применение
новые эффективные методы плазменной наплавки и напыления, диффузионной сварки,
лазерного и электромеханического упрочнения и электроконтактной приварки.
Последняя при использовании порошковых материалов позволяет создать в материале
наносимого слоя гетерогенную структуру.
Материалы с гетерогенной, а еще лучше с неравновесной структурой обладают
очень высокой изоносостойкостью в условиях абразивного и других видов
изнашивания. Это обусловлено тем, что частицы твердых включений прочно связаны
упругопластичной, достаточно износостойкой металлической основой. При высоких
контактных давлениях твердые включения ограничивают область микро- и макро-
схватывания поверхностей.
Композиционный материал трудно получить методами наплавки, так как в
результате высокотемпературного нагрева происходит потеря первоначальных
свойств твердого компонента порошковой шихты. Даже при индукционной наплавке,
позволяющей регулировать температуру и размеры зоны разогрева, расплавляется
20...70% и более частиц феррохрома, вводимых в наплавочную порошковую смесь.
Для того чтобы избежать расплавления частиц порошковых материалов
применяют нанесение покрытий с помощью электроконтактных машин, которые
позволяют легко изменять термомеханические условия приварки (наварки)
порошковых слоев на различные детали.
Малая длительность процесса электроконтактного спекания и приварки
позволяет его проводить на воздухе без дополнительной защиты даже для активных
металлов.
Для наварки используют как однокомпонентные порошки металлов и
легированных сплавов, так и различные порошковые смеси. Последние могут
содержать в качестве твердого упрочняющего компонента одно или несколько
соединений типа карбидов, боридов, сицилидов, нитридов и оксидов. В этом случае
возможно частично или полностью сохранять свойства таких соединений и получать
материалы как с равновесной, так и неравновесной структурой.
В качестве материалов применяют дешевые и недефицитные порошки железа,
меди, ферросплавы, порошки из сплавов для наплавки по ГОСТ 21448-75, порошки
электрокорунда, карборунда, смеси порошков, пасты, ленты и проволоку.
Метод электроконтактной приварки (наварки) при восстановлении и
упрочнении различных деталей машин и сельскохозяйственной техники можно
применять для размерного восстановления изношенных и изготовления
биметаллических деталей с поверхностным слоем, имеющим повышенные свойства
твердости, износостойкости, коррозионной стойкости и так далее, а также для
повышения срока службы деталей, что будет снижать расходование запасных частей,
материалов, затраты труда.
Производственный опыт подтверждает приемлемость этого способа для
восстановления широкой номенклатуры деталей с наибольшими и средними износами,
с малой поверхностью восстановления.
Экономические расчеты, проведенные для способа электроконтактной наварки
материалов с целью восстановления и упрочнения различных деталей, показывают их
высокую эффективность.
6.2 Общая
характеристика способа электроконтактной приварки, достоинства и недостатки
Электроконтактная приварка (наплавка) обладает высокой
производительностью (до 100 см2/мин), минимальными потерями
присадочного материала (до 5%) и припуском на последующую механическую
обработку за счет возможности регулирования толщины наваренного слоя (0,2...1,5
мм) припуск на механическую обработку 0,2…0,5 мм. Минимальное термическое
влияние на деталь (до 0,3 мм) позволяет восстанавливать как наружные, так и
внутренние поверхности деталей из различных марок сталей, чугунов, цветных
металлов и сплавов.
Сущность процесса заключается в совместном деформировании навариваемого
металла и поверхности основы, нагреваемых электрическим током до пластического
состояния.
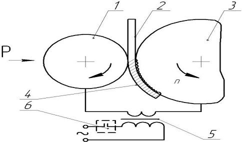
Навариваемая лента 2 (рис. 6.1) прижимается к детали 3 роликом 1. Между
деталью и роликом пропускается электрический ток большой плотности от
понижающего трансформатора 5. Амплитуда и продолжительность импульсов тока
измеряются регулятором 6.
Рисунок 6.1 - Схема электроконтактной приварки: 1 - ролик;
2 - навариваемая лента; 3 - деталь; 4 - наваренный слой; 5 - трансформатор; 6 -
регулятор цикла сварки
В качестве навариваемого материала применяют ленты, проволоки, а также
порошки различного состава (процесс напекания). Чтобы интенсифицировать
процесс, на деталь следует подавать охлаждающую жидкость.
От материала ленты зависит твердость наваренного слоя.
Высокая износостойкость может быть получена за счет порошков сложного
состава.
После напекания слой состоит из вязкой железохромоникелевой матрицы,
армированной высокотвердыми частицами карбидов, боридов, нитридов хрома,
титана, вольфрама и других металлов.
Оборудование для электроконтактной наплавки состоит из вращателя и
сварочной головки, которая определяется видом проводимого процесса. Питание
процесса от трансформатора при токе I = 10...20 кА.
Режимы приварки (напекания) зависят от удельного сопротивления, удельной
массы, температуры плавления и теплопроводности присадочного материала (табл.
6.1).
Таблица 6.1 - Режимы приварки ленты и напекания порошка на детали типа
«вал»
|
Показатель
|
Материал
|
|
лента из стали 40
|
порошок УС25+феррохром
|
|
Сила сварочного тока, кА
|
16,1 … 18,1
|
14,0 … 15,0
|
|
Длительность, с:
|
|
|
|
импульсов
|
0,04 … 0,08
|
0,08
|
|
пауз
|
0,1 … 0,12
|
0,12
|
|
Усилие сжатия электродов, кН
|
1,3 … 1,6
|
5,0 … 6,0
|
|
Скорость приварки, м/ч
|
42 … 72
|
30
|
|
Подача электродов, мм/об
|
3 … 4
|
_
|
|
Ширина рабочей части электродов, мм
|
4
|
15
|
|
Расход охлаждающей жидкости, л/ч
|
90 … 180
|
200
|
|
Твердость слоя, НRC
|
40 … 45
|
58 … 62
|
Количество теплоты (Q, Дж), необходимой для сплавления ленты или
припекания порошка к детали, определяют в соответствии с законом
Джоуля-Ленца:
,
где Q - количество теплоты;
I -
сила тока, А; - сопротивление цепи, Ом;
t -
продолжительность цикла, с.
Основные параметры процесса - частота вращения детали, подача
присадочного материала, шаг приварки и частота импульсов должны обеспечивать
перекрытие сварочных точек на 25...35%.
Подготовка деталей к электроконтактной приварке заключается в шлифовке
поверхности деталей до устранения изношенного и наклепанного слоя и
обезжиривания.
После нее проводят размерную обработку деталей, как правило, шлифовкой.
Припуск на механическую обработку 0,2…0,5 мм.
Зачастую детали, требующие восстановления имеют твердость 32…38 единиц
HRC и значительные линейные и угловые деформации.
Учитывая данное техническое состояние необходимо предусматривать
применение рациональных и ресурсосберегающих технологических процессов
восстановления. В этой связи способы электроконтактной приварки (наварки,
напекания) являются наиболее востребованными.
Основное достоинство электроконтактной наварка, имеет ряд преимуществ по
сравнению с другими способами:
) благодаря малому нагреву детали уменьшаются внутренние напряжения и
деформации детали;
) наносится покрытия заданной толщины;
) потери металла и выгорание легирующих элементов при нанесении покрытий
почти отсутствуют, что позволяет характеризовать эту технологию как
малоотходную;
) применяются многие виды присадочных материалов: стальная лента,
проволока различного состава, порошки металлов и сплавов и т. д., а также такие
доступные и дешевые порошки, как сормайт и другие, цена которых в 10…30 раз
ниже, чем самофлюсующих при равной износостойкости и хорошей обрабатываемости
шлифованием (отсутствует «засаливание» кругов);
) в отличие от дуговых, плазменных, гальванических способов процесс
экологически чистый;
) в процессе наварки происходит закалка поверхностных слоев;
) высокая прочность сцепления покрытий (100...250 МПа);
) широкое внедрение процесса показало, что его могут выполнять рабочие
после 2…3-дневного обучения;
) контактная наварка позволяет в 5…10 раз увеличить износостойкость
деталей путем нанесения композиционных покрытий, содержащих различные твердые
сплавы.
Недостатки процесса контактной наварки:
) малая автоматизация процесса;
) трудность обработки покрытий резанием и нанесения покрытий на детали
сложной формы;
) неправильный выбор режимов наварки приводит к несплавлению в отдельных
местах ленты и проволоки с основным металлом;
) при наварке порошковых материалов получаемый металлический слой имеет
участки расплавленного и спеченного порошка, различную твердость, что
затрудняет механическую обработку.
6.3 Восстановление
карданных подшипниковых узлов при помощи электроконтактной приварки стальной
ленты
Частота вращения детали, продольная подача сварочных клещей и частота
следования импульсов является важными параметрами процесса, определяющими его
производительность. Соотношение этих величин должно быть 6..7 сварочных точек
на 1 см длины сварочного шва.
Рекомендуется следующий режим приварки ленты толщиной до1 мм: сила
сварочного тока - 12 кА; длительность сварочного цикла -0,6 с; длительность
паузы - 0,1 с; подача сварочных клещей - 3 мм/об.; усилие сжатия электродов -
1,5 кН; ширина рабочей части сварочных роликов - 4 мм; скорость наплавки - 1,2
м/мин.
Частоту
вращения детали
(мин-1) определяем по формуле:
, мин-1.
Скорость
подачи ленты определяем
(м/ч) по формуле:
,
где
- плотность электродной ленты для наплавки, г/см3;
-
коэффициент наплавки, г/Ач.
.
Шаг наплавки S (мм/об) рассчитываем по формуле:
,
мм/об.
Вылет
электрода
(мм) определяем по формуле:
,
мм.
Смещение электрода от зенита е (мм) определяем по формуле:
,
мм.
Толщину слоя h (мм), наносимого на наружную цилиндрическую
поверхность, определяем по формуле:
мм.
где И - износ детали, мм;1 - припуск на обработку перед
покрытием на сторону, мм.2 - припуск на механическую обработку после
наплавки на сторону, мм.
7. Специальная часть
Цель этого раздела проекта - разработка вопросов по организации работы
объекта проектирования. В данной части курсового проекта стоит решить
нижеперечисленные задачи:
· выбор способа организации для производства в ТО и ТР в СТО;
· постановка организации технологического процесса производства
на объекте;
· схема технологического процесса производства на объекте
проектирования;
· обозначение режима работы для производственных подразделений
СТО;
· расчет необходимого количества постов для зон ТО и ТР и
постов диагностики (ежели это предусмотрено заданием);
· расчет необходимого количества линий для ТО (если это
предусмотрено заданием);
· распределение по специальностям и квалификации исполнителей
работ;
· подбор оборудования, технологической или организационной
оснастки;
· расчеты производственной площади объекта.
7.1 Выбор метода организации
производства ТО и ТР в СТО
Данный параграф предусматривает следующие действия:
· обоснование выбранного метода производственной организации ТО и ТР в СТО;
· описание его организационных принципов;
· приведение схем управления производством ТО,ТР и объекта
проектирования.
Помимо прочих методов организации производства ремонта и ТО автомобилей
в настоящее время самым прогрессивным есть метод, который основан на
формировании ремонтных подразделений на основе технологического принципа (метод
технологических комплексов) с применением централизованного управления
производством (ЦУП).
Главные организационные принципы данного метода основаны на следующем:
1. управление процессом ТО и ремонта подвижного состава в СТО происходит
отделом либо центром управления данным производством.
2. организация ТО и ремонта в СТО базируется на технологическом
принципе формирования производственных комплексов. При этом каждый тип
технического воздействия (ЕО, ТО-1, ТО-2, Д-1, Д_2, ТР) выполняют
специализированные подразделения.
. остальные подразделения (бригады, исполнители, участки), которые
выполняют однородные виды технических действий, для удобства управления следует
объединить в производственные комплексы:
--- комплекс технического обслуживания и диагностики (ТОД);
-- …текущего ремонта (ТР);
-- …ремонтных участков (РУ).
. подготовка производства (комплектование оборотного фонда, доставка
агрегатов, узлов и деталей на рабочие места и с рабочих мест, обеспечение
рабочим инструментом, перегон автомобилей в зонах ожидания ТО и ремонта и т.д.)
осуществляется централизованно комплексом подготовки производства (КПП).
5. информационный обмен между центральным отделом и всеми подразделениями
базируется на двусторонней диспетчерской связи и средствах
автоматики(телемеханики).
7.2 Выбор метода организации
технологического процесса производства ТО и ТР в СТО
Увеличение масштабов и появление новых типов СТО привели к необходимости
разрабатывать и внедрять новые формы организации и управления производством
работ по ТО и ремонту подвижного состава на СТО.
Техническая служба СТО представлен из производственных подразделений,
выполняющих:
- постовые работы ТО и ТР непосредственно на автомобиле:
- работы по восстановлению агрегатов, узлов и деталей, не
связанные с выполнением их на автомобиле;
работы по подготовке производства;
работы, связанные с содержанием производственно-технической базы
предприятия.
Организационная структура технической службы СТО определяет кол-во,
назначение и взаимосвязи производственных подразделений. Она есть основной для
разработки методов управления производством.
На организационную структуру технической службы СТО влияют как условия
внешней кооперации, определяющие перечень выполняемых производственных основных
и вспомогательных функций, так и ряд внутренних факторов, отражающих условия
выполнения этих функций и включающих структуру подвижного состава с учётом
технологической совместимости при производстве работ по ТО и ремонту, а также
режим использования подвижного состава.
Внешнее кооперирование производства ТО и ремонта существенным образом
влияет на номенклатуру и объемы работ, выполняемых технической службой СТО.
Для СТО необходимо определить рациональные формы централизации работ.
Предметом централизации в первую очередь являются сложные виды работ, требующие
единого процесса производства, имеющие тесные материальные и технологические
связи.
С учётом принятой специализации и кооперации производства работ по ТО и
ремонту составляют схему организации технологического процесса производства,
которая определяет последовательность выполнения работ по ТО и ремонту
подвижного состава, отражает порядок производства обслуживания и ремонта
прицепного состава при его наличии на СТО.
При выборе эффективного метода организации технологического процесса
производства, определяющим критерием есть суточная (сменная) программа по ЕО,
ТО-1 и ТО-2. Зависимо от ее величины возможно принятие метода универсальных
постов или специализированных (проездного / тупикового типа).
Согласно рекомендации НИИАТ, целесообразно организовать техническое
обслуживание на специализированных постах и поточным методом (также с
внедрением в процесс конвейеров для передвижения машин с поста на другой пост:
для ЕО - непрерывного действия, для ТО - периодического), в случае если сменная
программа составляет не меньше:
-- для ЕО - 50 и более обслуживаний;
-- для ТО-1 - 12-15 и более обслуживаний;
-- для ТО-2 - 5-7 и более обслуживаний.
При остальных случаях должен быть следует применять метод тупиковых
специализированных постов или универсальных постов.
В выборе метода следует руководствоваться тем, что самым прогрессивным
методом есть поточный, т.к. обеспечивает повышение производительности труда как
следствие специализации рабочих мест и исполнителей на них, создает возможность
для широкой механизации работ, способствует трудовой и технологической
дисциплине, обеспечивает ритмичность производства, повышает качество
обслуживания и снижает себестоимость, улучшает условия труда и способствует
сокращению производственных площадей.
Все большее распространение на СТО завоевывает метод специализированных
постов, ведь позволяет по максимуму механизировать трудоемкие процессы, снизить
необходимость в однотипном оборудовании, улучшить трудовые условия исполнителей
работ и использовать менее квалифицированных, улучшить качество ремонта ,
производительность труда.
Технологический процесс для диагностики организуется исключительно
методом универсальных или тупиковых постов.
7.3 Технологический процесс объекта
проектирования
Данный параграф раскрывает краткое содержание технологического процесса
производства на объекте (здесь следует подать дать его описание). Для
отображения содержания технологического процесса производства на данном
объекте, стоит указать виды работ и их последовательность. Порядок видов работ
/операций технологического процесса производства по завершении их описания,
необходимо представить как схему.
Для данного СТО назначается схема комплексного типа с организацией
производства по методу специализированных бригад и с централизованным
управлением производства работ по ТО ремонту.
8. Организационно-экономический
раздел
Главными из задач, стоящими перед проектированием являются: снижение
себестоимости перевозок, экономия топливо-энергтических ресурсов, сокращение
трудовых затрат и сокращение производственных площадей , повышение качества
выполняемых работ и др.,.
Необходимо принять во внимание перспективы дальнейшего развития и
расширение АТП, т.е. в результате проектирования или выбора типовых проектов
может оказаться несколько вариантов проекта. Для сравнения этих вариантов, а
также анализа результатов расчета принимается методика сопоставления удельных
показателей конкретного проекта с эталонным.
В качестве таких показателей используют:
число производственных рабочих на 1млн.км пробега парка;
число постов на 1млн.км пробега парка;
площадь производственно-складских помещений на 1 автомобиль;
площадь вспомогательных помещений на 1 автомобиль;
площадь территории на 1 автомобиль.
Значения нормативные эталонные перечисленных показателей берутся из [2,
табл.5.1]. Эти показатели сводим в таблицу 8.1.
Числовые значения удельных показателей для эталонных условий
корректируются следующими коэффициентами, учитывающими:
К1-списочное число автомобилей;
К2-тип подвижного состава;
К3-наличие прицепов;
К4-среднесуточный пробег;
К5-способ хранения;
К6-категорию условий эксплуатации;
К7-климатический район;
Таблица 8.1 Числовые значения удельных показателей для эталонных условий.
|
Наименование показателя
|
Показатели
|
|
Численность производственных рабочих, чел. на 1 млн км
пробега, 5.5
|
|
|
Количество рабочих постов на 1 млн км пробега, 1.15
|
|
|
Площадь производственно-складских помещений, м2
на единицу ПС, 27
|
|
|
Площадь вспомогательных (административно-бытовых)
помещений, м2 на единицу ПС, 9.5
|
|
|
Площадь территории предприятия, м2 на единицу
ПС, 160
|
|
|
Площадь стоянки на одно автомобиле -место хранения 53
|
|
Коэффициенты приведены в таблицах. Сведем эти коэффициенты в одну
таблицу.
Таблица 8.2- Значения корректирующих коэффициентов
|
Коэффициенты
|
Значения коэффициентов для определения
|
|
Численность производственных рабочих
|
Число рабочих постов
|
Площади
|
|
|
|
Производственно-складские помещения
|
Вспомогательные помещения
|
Территория
|
|
К1
|
1,025
|
1,07
|
1,05
|
1,07
|
1,045
|
|
К2
|
1,0
|
1,0
|
1,0
|
1,0
|
1,0
|
|
К3
|
-
|
-
|
-
|
-
|
-
|
|
К4
|
1,0
|
1,0
|
1,0
|
1,0
|
1,0
|
|
К5
|
-
|
-
|
-
|
-
|
1,17
|
|
К6
|
1,18
|
1,15
|
1,15
|
1,08
|
1,07
|
|
К7
|
1
|
1
|
1
|
1
|
1
|
|
|
|
|
|
|
|
|
;(5.1)
;(5.2)
;(5.3)
;(5.4)
. (5.5)
Подставляя значения коэффициентов в вышеперечисленные формулы, получаем:
;
;
;
;
.
Значения удельных технико-экономических показателей, приведенных к
условиям работы проектируемого предприятия, определяются из выражений:
рП = РП·LГ/Аи (5.6)
хП = ХП·LГ/Аи (5.7)
FпрП = fпрП /Аи (5.8)всП
= fвсП/Аи (5.9)
FтП = fтП/Аи (5.10)
Определяем удельные значения технико-экономических показателей:
рП = 114∙23,2/250 = 9,03 чел
хП = 16∙23,2/250 =1,48 постов
fпрП = 5130/250 =23,4 м2всП
= 1460/250 = 7,26 м2тП = 50000/250 = 200м2
Полученные
значения при проектировании численности производственных рабочих РП
=114 , числа рабочих постов ХП = 16, площади производственных
помещений
5130 м2, площади вспомогательных помещений
1460 м2, площади территории
50000м2.
Сравнивая
полученные при проектировании значения с эталонными можно сделать вывод, что
удельные показатели площади вспомогательных помещений выше и площади
производственных помещений ниже соответствующих эталонных, а численность
производственных рабочих выше эталонного показателя. Численность рабочих постов
и площадь территории незначительно отличаются от соответствующих эталонных.
Показатели не соответствуют эталонным вследствие того, что данная методика
расчета не учитывает пробег автомобиля с начала эксплуатации.
Таблица 8.3- Результаты технико-экономической оценки проекта
|
удельный показатель
|
эталонный
|
приведенный к АТП
|
% отклонения
|
|
р
|
6,65
|
9,03
|
28
|
|
х
|
1,41
|
1,48
|
3,2
|
|
fпр
|
32,6
|
23,4
|
24
|
|
fвс
|
10,97
|
7,26
|
33
|
|
fт
|
209,31
|
200
|
3,8
|
9. Безопасность
жизнедеятельности
В технологической части дипломного проекта указано, что с целью
наилучшего использования высокопроизводительного моечного оборудования мойка
проектируется как автономный вид обслуживания. Поэтому в качестве объекта
анализа принимается участок мойки автомобилей проектируемой СТОА.
Содержание автомобилей в чистом и опрятном состоянии - одно из
обязательных условий соблюдения санитарных правил при пассажирских перевозках и
транспортировании различных грузов, особенно продуктов питания. Кроме того,
своевременная мойка автомобилей способствует сохранению лакокрасочных покрытий,
а также позволяет обнаружить при осмотрах появившиеся неисправности
В большинстве случаев небрежность и халатность становятся причинами
повреждения собственности и несчастных случаев. Однако есть ряд правил,
соблюдение которых поможет избежать многих проблем, а во многом и свести к нулю
все инциденты. Стандартные инструкции помогут грамотно и без каких-либо
последствий справиться с любыми возникшими ситуациями.
При анализе потенциальной опасности объекта для персонала и окружающей
среды рассматриваются следующие вопросы:
) опасные и вредные производственные факторы;
) воздействие объекта на окружающую среду;
) возможность возникновения чрезвычайных ситуаций.
ГОСТ 12.0.002-80 подразделяет опасные и вредные производственные факторы
по природе действия на физические, химические, биологические и
психофизиологические.
Для участка мойки наиболее характерны физические факторы (шероховатости
на поверхностях инструментов и оборудования, повышенный уровень шума, вибрации)
и химические (химические вещества, которые по характеру воздействия на организм
человека подразделяются на: токсические, раздражающие, сенсибилизирующие,
канцерогенные, мутагенные, влияющие на репродуктивную функцию; по путям
проникновения в организм человека они делятся на: проникающие через органы
дыхания, желудочно-кишечный тракт, кожные покровы и слизистые оболочки) [13, 26].
Законодательную и правовую основу охраны труда станции технического
обслуживания составляют следующие законы и постановления:
. Конституция РФ.
. Кодекс законов о труде, устанавливающий основные правовые гарантии в
области охраны труда.
. Федеральный закон «О промышленной безопасности производственных
объектов» от 20.06.1997.
. Закон «Об охране окружающей природной среды» от 3.02.1992
Предприятие спроектировано согласно СанПиН 245-71 «Санитарные нормы
проектирования промышленных предприятий» и с учетом всех требований по
компоновке оборудования согласно требования по ГОСТ 12.2.00-84 «Оборудование и
производство» и ГОСТ 12.3.017-89 «Ремонт и техническое обслуживание
автомобилей» [14, 34].
Работа
с электрооборудованием <#"802792.files/image194.gif">, Дц.
Дц.
Величина коэффициента К, определяющего эффективность экрана [3]:
.
Эффективность
экрана
Дц [3].
Уровень
звукового давления на рабочем месте слесаря после установки экрана:
.
Дц.
Мероприятия и средства по защите окружающей среды
Рациональная организация мойки автомобилей предусматривает максимальную
механизацию процесса при экономном расходе воды за счет повторного ее
использования. Все это непосредственно связано с решением важных экологических
задач - бережным отношением к природным ресурсам, охране окружающей среды
В данном случае необходимо быстрее решать задачи прекращения сброса
сточных вод без очистки или при их недостаточной очистке после мойки
автотранспортных средств, ибо это представляет серьезную угрозу чистоте
водоемов, а также подземных вод, почве и растительности.
Все водопользователи обязаны принимать меры к сокращению расхода воды и
прекращению сброса неочищенных сточных вод на основе применения оборотного
водоснабжения и других технических приемов Задача заключается в том, что
следует быстрее решать проблемы рационального использования водных ресурсов,
совершенствования техники очистки сточных вод, создания наиболее совершенных
систем оборотного водоснабжения. В связи с этим всем автотранспортным
предприятиям уже в самое ближайшее время и в короткие сроки предстоит
осуществить реконструкцию постов мойки автомобилей с обязательным возведением
очистных сооружений и системы оборотного (повторного) использования воды, с
учетом применения синтетических моющих средств. Это позволит в 2…3 раза
сократить расход воды, а в пересчете на чистую воду, забираемую из источников
водоснабжения общего пользования, расход воды для мойки автомобилей уменьшится
в 4…5 раз.
Очистка производственных сточных вод
Самой главной задачей по защите окружающей среды при мойке автомобилей
является обеспечение экологической безопасности сточных вод. Основные
загрязнители сточных вод - это механические примеси и нефтепродукты. Для этого
необходимо регулировать сброс загрязняющих веществ, применяя современные методы
очистки воды.
Водоочистительный комплекс «Укос-Авто», предназначен для очистки сточных
вод, образующихся при мойке автотранспорта. Очистка сточных вод обеспечивается
применением комбинированной технологии, включающей механическую,
электрохимическую и физико-химическую очистку. Качество очищенной воды
позволяет использовать ее в системе оборотного водоснабжения мойки или
сбрасывать в канализацию. После дополнительной глубокой доочистки вода может
отводится в водоем.
Необходимая степень очистки сточных вод
Состав сточных вод и их свойства зависят от времени года, состояния
дорог, технического состояния автомобиля, а также качества и продолжительности
мойки. Состав стоков может значительно колебаться по взвешенным веществам,
эфирорастворимым, цветности и жесткости.
Учитывая данное положение, система очистки должна обладать большими
резервами для достижения необходимого качества при экстремальных значениях
загрязнения стоков. Нормативные требования к качеству воды, используемой для
мытья легковых автомобилей в системе автотранспортных предприятий по
«Укрупненным нормам водопотребления и водоотведения для различных отраслей промышленности»
указаны в табл. 9.4.
Таблица 9.4 - Нормативные требования к качеству воды
|
Показатели
|
Ед. изм.
|
Вода для мойки
|
|
1
|
2
|
3
|
|
Температура
|
°C
|
не нормируется
|
|
Взвешенные вещества
|
мг/л
|
40
|
|
Эфирорастворимые
|
мг/л
|
15
|
|
Запах
|
балл
|
до 3
|
|
pH
|
-
|
7,2…8,5
|
|
Жесткость карбонатная
|
мгэкв/л
|
-
|
|
Щелочность общая
|
мгэкв/л
|
до 10
|
|
Сухой остаток
|
мг/л
|
до 2000
|
|
Хлориды
|
мг/л
|
до 350
|
|
Сульфаты
|
мг/л
|
до 500
|
|
Fe общ.
|
мг/л
|
до 4
|
|
Окисляемость перманганатная
|
мг О/л
|
до 15
|
|
БПК полн.
|
мг О2/л
|
до 20
|
|
Биогенные элементы
|
мг/л
|
не нормируется
|
|
Мешающие, токсичные, возгораемые вещества, выделяющиеся при
нагревании с образованием огня и взрывоопасных смесей
|
|
не допускаются
|
Необходимая степень очистки: взвешенные вещества не более 40 мг/л;
нефтепродукты не более 15 мг/л. Вода не должна иметь на поверхности пленку
нефтепродуктов и масел, оставлять солевых пятен на поверхности автомобиля и
содержать абразивных веществ, вызывающих повреждение лакокрасочного покрытия
автомобиля и стекол.
Очистные сооружения с безнапорными гидроциклонами
На СТО в последнее время начинают успешно действовать очистные сооружения
с безнапорными гидроциклонами по методу механической очистки загрязненной воды
после мойки автомобилей.
В результате поиска рационального технического решения технологии очистки
сточных вод в комплексе с системой оборотного водоснабжения разработан проект
очистных сооружений и системы оборотного водоснабжения на основе применения
безнапорного гидроциклона (рис. 5.1).
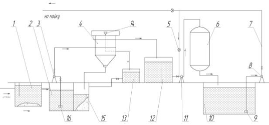
Рисунок 9.1 - Схема работы очистных сооружений с безнапорными
гидроциклонами для систем оборотного водоснабжения мойки автомобилей со
следующими трубопроводами: 1 - песколовка; 2 - приёмный резервуар сточных вод;
3 - насос подачи воды в безнапорный гидроциклон; 4 - безнапорный гидроциклон; 5
- вентиль; 6 - напорный фильтр; 7 - трубопровод; 8 - насос подачи воды на
мойку; 9, 16 - фильтры на всасывающем трубопроводе; 10 - приёмный резервуар
чистой воды; 11 - насос подачи воды в напорный фильтр; 12 - резервуар; 13 -
резервуар для сброса нефтепродуктов; 14 - плавающая воронка для сбора
нефтепродуктов; 15 - накопитель осадка
Гидроциклон представляет собой цилиндрический резервуар с конусным
днищем, он обеспечивает отделение в загрязненной водной среде взвешенных
частиц, отбрасываемых к стенкам центробежными силами, а затем падающих в
конусную часть безнапорного гидроциклона.
Данное проектное решение обеспечивают требуемую степень очистки как по
взвешенным веществам, так и по нефтепродуктам для повторного использования
сточных вод в системе оборотного водоснабжения.
Технологический процесс очистки сточных вод
Сточные воды с установки для мойки автомобилей поступают самотеком в
песколовку очистных сооружений с безнапорными гидроциклонами, где происходит
осаждение наиболее крупных взвешенных веществ, которые накапливаются в
устанавливаемых в песколовке контейнерах для осадка (шлама). Далее сточные воды
поступают в приемный резервуар, откуда забираются насосами и подаются на
безнапорный гидроциклон. После безнапорного гидроциклона сточные воды насосами
подаются для доочистки на напорные песчаные фильтры с фильтрацией снизу вверх.
Профильтрованные в такой последовательности на требуемом уровне очистки сточные
воды собираются в резервуар очищенной воды, откуда насосами подаются на мойку
автомобилей. При этом следует иметь в виду, что легковые автомобили после
обмыва оборотной водой должны домываться водой из сети хозяйственно-питьевого
водопровода
Пополнение системы оборотного водоснабжения должно производиться для
восполнения потерь воды, уносимой с обмываемыми автомобилями в количестве до
10%, и может осуществляться от сети хозяйственно питьевого или технического
водопровода. Вода на пополнение должна поступать непосредственно в резервуар
очищенной воды через электромагнитный вентиль, открываемый и закрываемый в зависимости
от заданных уровней в этом резервуаре. Кроме того, при домывке легковых
автомобилей вода, забираемая для этих целей из сети хозяйственно-питьевого
водопровода, должна также использоваться для пополнения оборотной системы.
Осадок (шлам) из безнапорных гидроциклонов под гидростатическим давлением
выпускается в передвижной контейнер. Всплывающие нефтепродукты в безнапорных
гидроциклонах отводятся через плавающую воронку в бак для сбора нефтепродуктов.
В целях обеспечения нормального обслуживания безнапорных гидроциклонов
необходимо предусмотреть площадку на отметке 4,3...4,5 м, а для сбора случайных
вод в полу должны быть сделаны приемные трапы с подключением к приемному
резервуару.
Расчёт очистных сооружений
В основу расчета очистных сооружений и системы оборотного водоснабжения с
безнапорными гидроциклонами прежде всего принимается расход воды на мойку
автомобилей, исходя из норм расхода на мойку одного автомобиля и количества
автомобилей, подлежащих мойке в течение суток.
Часовой максимальный расход сточных вод от мойки автомобилей Q
может быть определен по формуле:
, м3/час,
где qуд - средний расход воды по норме на мойку одного
автомобиля, м3,
N - максимально возможное число автомобилей, проходящих мойку в течение 1 ч.
Расчет песколовки с контейнерами для сбора осадка (шлама) предусматривает
скорость (Vп) протекания сточных вод 0,15 м/с.
Площадь живого сечения потока
, м2,
где qc - секундный расход сточных вод, м3/с;
Vп -
скорость протекания воды, м/с (0,15 м/с).
Ширина песколовки В обычно принимается равной 1,0 м, при этом
длина ее L составит:
, м,
где К - коэффициент, принимается равным 1,3,
Нр - расчетная глубина проточного слоя песколовки (м),
находится по формуле Нр = Fжс / В;
Uо
- гидравлическая крупность взвешенных частиц, в основном песка, мм/с
(принимается Uо = 18 мм/с).
Гидравлическая крупность взвешенных частиц характеризует их размер,
форму, плотность, от которых зависит скорость падения (оседания) частиц в
водной среде, поэтому и изменяется в миллиметрах в секунду.
Общая глубина песколовки
, м,
где Нпер - глубина от пола до уровня воды в песколовке,
переменная величина, зависящая от удаленности песколовки от моечной канавы и
отметки лотка подводящего трубопровода, м;
Нр - расчетная глубина проточного слоя песколовки, м;
Нос - глубина осадочной части песколовки, принимается равной 1,0
м.
В зоне осадочной части устанавливаются контейнеры для осадка шлама с
таким расчетом, чтобы над верхней кромкой контейнера был обеспечен слой воды,
равный расчетной глубине проточного слоя.
Принимая во внимание особенности конструктивного выполнения песколовки,
следует ее длину принимать кратной длине контейнера, помещенного в песколовке
для сборки осадка.
Объем приемного резервуара сточных вод рассчитывается исходя из
15-минутного (0,25 ч) пребывания в нем сточных вод:
, м3,
где Qч - часовой расход сточных вод, м3/ч,
t
- время нахождения сточных вод в приемном резервуаре, ч (0,25 ч).
Исходя из данного расчета, объем приемного резервуара сточных вод,
обеспечивающего бесперебойную работу насосов и откачивающего сточные воды на
безнапорный гидроциклон, должен составлять не менее объема 10-минутного отбора
воды насосами. По форме конструкции объем приемного резервуара определяется в
зависимости от имеющихся площадей для строительства очистных сооружений, а
также от уровня грунтовых вод.
Насосная станция первого подъема, предназначенная для подачи сточных вод
из приемного резервуара на безнапорный гидроциклон, укомплектовывается
насосами, производительность которых должна определяться по часовому притоку
сточных вод.
Для перекачки сточных вод от мойки легковых автомобилей следует применять
насосы марок «К», «Гном», «НЦС». На всасывающих линиях насосов должны
предусматриваться приемные обратные клапаны.
Гидравлическая нагрузка определяется по формуле:
, м3/м2час,
где 3,6 - переводной коэффициент согласно СНиПу;
К
- коэффициент для гидроциклона с диафрагмой и цилиндрической перегородкой,
равный 1,98;
Uo
- гидравлическая крупность взвешенных частиц, мм/с.
По опытным данным принимается Uo = 1 мм/с. При этих данных в
безнапорных гидроциклонах будут задерживаться взвешенные частицы крупностью
0,035 мм.
В этом случае гидравлическая нагрузка будет составлять:
Мгц=3,6·1,98·1=7,1, м3/м2час.
При этом площадь водного зеркала безнапорного гидроциклона определяется
по формуле:
, м2,
где Qч - часовой расход сточных вод, подаваемых
насосами на безнапорный гидроциклон, м3/ч.
Если принять диаметр безнапорного гидроциклона 2,2 м, то:
, м2.
м2.
Часовой расход сточных вод, подаваемых насосами на безнапорный
гидроциклон при принятом диаметре определяется по формуле:
, м3/час.
, м3/час.
На основе полученных расчетным путем показателей объем приемного
резервуара сточных вод равен:
, м3.
Производительность одного аппарата определяют по формуле:
.
, м3/час.
Зная часовой расход сточных вод, подаваемых насосами на безнапорный
гидроциклон, и его производительность, мы можем определить количество
необходимых безнапорных гидроциклонов (n) для каждого предприятия:
.
где
- часовой расход сточных вод, подаваемых насосами на
безнапорный гидроциклон;
-
производительность одного аппарата.
, шт.
Для более надежной работы очистных сооружений рекомендуется
предусмотреть, кроме расчетного количества, еще резервный безнапорный
гидроциклон.
Насосная станция второго подъема, предназначенная для подачи осветленной
воды из безнапорных гидроциклонов на напорные фильтры для доочистки, должна
укомплектовываться насосами той же производительности, что и насосы первого
подъема. Напор должен определяться с учетом его потерь в фильтрах, которые
ориентировочно могут быть равны 10 м.
Фильтры напорные применяются типовые. Их назначение - доочистка сточных
вод от взвешенных веществ и нефтепродуктов после прохождения ими безнапорных
гидроциклонов Выбор фильтров производится в соответствии с СНиП П-32-74, пп.
7.162 и 7.163, а также СНиП П-31-74, пп 6.105...6.129. Скорость фильтрования
принимается 10 м/ч для двухслойных фильтров (СНиП П-32-74).
Площадь напорных фильтров (Fф) может быть определена по
формуле:
, м2,
где
- часовой расход сточных вод, подаваемых насосами на
безнапорный гидроциклон;
Vф - скорость фильтрования, м/ч.
По результатам расчета принимаются напорные фильтры с двухслойной
загрузкой: первый слой - кварцевый песок, высота слоя 600…700 мм, минимальный
размер зерен 0,5 мм, максимальный - 1,25 мм, эквивалентный диаметр зерен 0,8
мм, коэффициент неоднородности 2; второй слой - антрацит, высота слоя 400…500
мм, минимальный размер зерен 0,8 мм, максимальный - 1,8 мм, эквивалентный
диаметр зерен 1,1 мм, коэффициент неоднородности 2.
Фильтры напорные целесообразно применять промышленного производства, при
этом предоставляется широкий диапазон их выбора по производительности.
Резервуар очищенной воды, предназначенный для сбора сточных вод,
поступающих в него из напорных фильтров, также является водозаборной камерой
для насосов, подающих очищенную воду на установку для мойки автомобилей, тем
самым обеспечивая повторное использование воды по замкнутому циклу.
Объем резервуара очищенной воды может быть определен из расчета
обеспечения 30-минутного запаса воды для мойки автомобилей. В этом же
резервуаре хранится запас воды, необходимый на промывку напорных фильтров.
Резервуар очищенной воды должен изготавливаться из железобетона и, как
исключение, из металла, наземным. Ориентировочные размеры этого резервуара 3,0
на 4,5 на 3,0 м с учетом необходимости обеспечения 30-минутного запаса воды для
мойки автомобилей. К резервуару очищенной воды должен быть предусмотрен подвод воды
из сети хозяйственно-питьевою водопровода для пополнения системы оборотного
водоснабжения в количестве 10% от расхода воды на мойку автомобилей. На
подводящем трубопроводе необходимо устанавливать электромагнитный вентиль для
обеспечения бесперебойной автоматической подпитки в зависимости от
максимального (верхнего) и минимального (нижнего) уровней воды в резервуаре.
Насосная станция оборотного водоснабжения, предназначенная для подачи
очищенной воды на мойку автомобилей, может быть спроектирована в двух вариантах
в зависимости от оснащенности моечных установок:
Для перекачки очищенной воды могут быть использованы насосы, входящие в
состав механизированных моечных установок. Для подачи воды, необходимой для
споласкивания автомобилей, должны быть установлены самостоятельные насосы, если
в моечных установках для этих целей не предусмотрены насосы, а указывается
подвод воды от сети водопровода
Давление насосов должно быть предусмотрено. При мойке легковых
автомобилей (достаточное для качественной мойки) 0,3…0,4 МПа.
В любом из этих вариантов следует учесть необходимость устройства рамки
споласкивания легковых автомобилей от сети хозяйственно питьевого водопровода и
блокировку работы устанавливаемых насосов с работой меха визированных моечных
установок.
Бак для сбора нефтепродуктов обеспечивает накопление всплывающих в
безнапорных гидроциклонах нефтепродуктов, которые через плавающие воронки по
отводной трубе сливаются в бак. В поступающей в бак жидкости содержится
значительное количество воды. В баке происходит отделение воды от
нефтепродуктов - в основном минеральных масел. По водомерному стеклу
контролируется уровень масла и воды. Вода сливается в приемный резервуар, а
масло - в металлические бочки, удобные для транспортировки.
Бак для сбора нефтепродуктов металлический, сварной конструкции.
Контейнеры для осадка (шлама) комплектуются в паре - один контейнер для
осадка предназначен для приема и накопления крупных взвешенных веществ,
выпадающих в песколовке. Этот контейнер должен быть металлическим. При установке
данного контейнера в песколовку необходимо, чтобы над его верхней кромкой был
слой воды не менее расчетного проточного слоя в песколовке. Контейнер должен
быть снабжен специальными приспособлениями, обеспечивающими его быстрый и
надежный захват грузоподъемными устройствами для погрузки в кузов автомобиля.
Таких контейнеров может быть установлено несколько в зависимости от размеров
самого контейнера и песколовки. Другой контейнер - передвижной, предназначен
для приема осадка, вы пускаемого из безнапорных гидроциклонов под
гидростатическим напором. Контейнер выполняется из металла и должен быть
смонтирован на раме, опирающейся на самоуправляющиеся колеса, а также должен
иметь приспособления для захвата его грузоподъемным устройством с последующей
погрузкой в кузов автомобиля
Высота этого контейнера должна выполняться с учетом того, что он должен
подкатываться под безнапорный гидроциклон. Объем контейнера определяется с
учетом возможности поднятия его доступными грузоподъемными средствами, а также
с учетом транспортировки осадка автомобилями малой грузоподъемности. Число
контейнеров определяется по суточному объему удаляемого осадка и объему одного
контейнера. На предприятии должна быть предусмотрена площадка для складирования
порожних контейнеров.
Насосы промывки напорных фильтров предназначены для подачи воды под
давлением для промывки напорных фильтров в восходящем потоке воды с целью
восстановления их фильтрующей способности. Интенсивность промывки согласно
техническим условиям (СНиП П-231-74) должна быть для скорых напорных фильтров с
двухслойной загрузкой 14 л/(см2) продолжительностью 6 мин. Стоки
после промывки фильтров сбрасываются в приемный резервуар.
Процесс промывки напорных фильтров осуществляется с автоматическим
управлением. Вывод на промывку выполняется с учетом потерь напора в загрузке
фильтра или по заданному положению задвижки фильтрованной воды. Для определения
потерь давления в фильтрах устанавливаются манометры на трубопроводе, подающем
воду на фильтры, и на трубопровод, отводящий фильтрованную воду. При нормальной
работе напорного фильтра потери давления составляют не более 0,1 МПа. При
превышении этого значения необходима промывка напорного фильтра.
Заключение
Спроектирована универсальна городская станция технического обслуживания
автомобилей на 6 постов для обслуживания отечественных легковых автомобилей со
следующими показателями:
) количество постов - 6, из них: мойка - 1, диагностика, регулировка
тормозов - 1, пост ТО и смазки - 2; пост ТР - 1; пост ремонта систем питания и
электрооборудования - 1;
) штатное число рабочих - 41 человек;
) площадь здания СТО - 620 м2;
) площадь постов - 240 м2;
) площадь производственных и вспомогательных участков - 308,7 м2;
) число заездов на ТО и ТР в год - 15170;
) число заездов на уборочно-моечные работы - 84952.
На территории СТО расположен контрольно-пропускной пункт, парковка для
клиентов и служебных автомобилей, зона ожидания и выдачи автомобилей,
производственный корпус, автоматическая мойка и очистные сооружения.
В конструкторской части разработано приспособление для выпрессовки
крестовин карданных шарниров, использование которого позволит повысить
производительность труда и качество выполняемых услуг.
В разделе технология ремонта разработан технологический процесс ремонта и
восстановления карданных подшипниковых узлов при помощи электроконтактной
приварки стальной ленты. Результаты расчетов параметров наплавки оформлены в
виде маршрутной документации в приложении 1.
В ходе выполнения раздела по безопасности и экологичности проектных
решений были проанализированы все опасные объекты для персонала станции
технического обслуживания автомобилей и окружающей среды. Выбраны мероприятия и
средства по безопасности труда, а также мероприятия и средства по охране
окружающей среды. В результате поиска рационального технического решения
предложена технология очистки сточных вод в комплексе с системой оборотного
водоснабжения на основе применения безнапорного гидроциклона, который
обеспечивают требуемую степень очистки по взвешенным веществам, и нефтепродуктам
для повторного использования сточных вод в системе оборотного водоснабжения,
рассчитан нефтеуловитель. Данные мероприятия обеспечивают экологичность и
безопасность деятельности станции.
Анализ затрат на проектирование, строительство и ожидаемые показатели
(прибыль, остающаяся в распоряжении предприятия -2874,9 тыс. руб.; общая
рентабельность - 41,61%; срок окупаемости капитальных вложений - 2,4 года и
положительный чистый дисконтированный доход ) позволяют оценить проект как
перспективный.
Список литературы
1. Автомобили. Ремонт и
эксплуатация. Трансмиссия. [Электронный ресурс] / - Режим доступа: <http://autodoki.com/node/2299>.
. Афанасьев, Л.Л. Гаражи и
станции технического обслуживания. Альбом чертежей [Текст] / Л.Л. Афанасьев, Б.С. Колясинский, А.А. Маслов.- М.:
Транспорт, 1980. - 216 с.
. Бейлин, В.И. Проектирование
предприятий автомобильного транспорта (Безопасность и экологичность проектных
решений) [Текст] : методические указания по дипломному проектированию для студ.
спец. «Автомобили и автомобильное хозяйство» / В.И. Бейлин, М.Л. Быховский,
Ю.Б. Лахтин. - М.:изд-во МГОУ, 2004. - 76 с.
. Ведомственные строительные
нормы. Предприятия по обслуживанию автомобилей: ВСН 01-89 [Текст] / Минавтотранс РСФСР. - М.: ЦБНТИ Минавтотранса
РСФСР, 1990. - 52 с.
. Восстановление
автомобильных деталей: Технология и оборудование: учеб. для вузов [Текст] /В. Е. Канарчук, А. Д. Чигринец, О. Л. Голяк, П. М.
Шоцкий. - М.: Транспорт, 1995. - 303 с. - ISBN 5-277-01574-4.
. Дюмин, И. Е. Ремонт
автомобилей [Текст] / И.Е. Дюмин, Г.Г. Трегуб; под
ред. И.Е. Дюмина. - М.: Транспорт, 1999. - 280 с. - 5-277-01939-1.
. Епифанов, Л.И. Техническое
обслуживание и ремонт автомобилей [Текст] / Л.И. Епифанов, Е.А. Епифанова. - М.: ФОРУМ: ИНФРА-М, 2004. - 280 с.
. Каталог ГАРО-2000, 60 лет
на рынке оборудования и инструмента для автосервиса. М.: ОАО ГАРО, 2000.
. Кириченко, В.В.
Методические указания по проектированию станций технического обслуживания
автомобилей (организационно-экономическая часть дипломного проекта) [Текст] / Виталий Витальевич Кириченко, под.ред. А.И.
Гарбовицкого. - Губкин: Губкинский институт (филиал) МГОУ. - 2005. - 16 c.
. Крамаренко, Г.В.
Техническое обслуживание автомобилей [Текст] / Г.В. Крамаренко, И.В. Барашков. - М.: Транспорт, 1982. - 368 с.
. Кузнецов, Е.С. Техническая
эксплуатация автомобилей [Текст] / Е.С. Кузнецов; учебник для
вузов. 4-е изд., перераб. и доп. - М: Наука, 2001 - 535 с.
. Марков, О.Д. Станции
технического обслуживания автомобилей [Текст] / Олег Давидович Марков. - К.: Кондор, 2008. - 553 с. - ISBN
978-966-8251-99-3.
. Межотраслевые правила по
охране труда на автомобильном транспорте ПОТ РМ-027-2003 [Текст]. - М.: Минтруда РФ, 2003. - 77 с.
. Напольский, Г.М.
Обоснование спроса на услуги автосервиса и технологический расчет станций
технического обслуживания легковых автомобилей [Текст] / Г.М. Напольский, В.А. Зенченко. - М.: МАДИ, 2000. - 82 с.
. Напольский, Г.М.
Технологическое проектирование автотранспортных предприятий и станций
технического обслуживания: уч. для студентов вузов, обучающихся по спец.
«Автомобили и автомобильное хозяйство» [Текст] /- 2-е изд., перераб. и доп. - М.: Транспорт, 1993. - 271 с. - ISBN
5-277-01256-7.
. Общесоюзные нормы
технологического проектирования авторемонтных предприятий: ОНТП-01-91 [Текст] / Росавтотранс. - М.: Гипроавтотранс, 1991. - 184 с.
. Отраслевые нормы
технологического проектирования предприятий автомобильного транспорта:
ОНТП-01-91 [Текст] / Росавтотранс. - М.:
Гипроавтотранс, 1991. - 184 с.
Перечень категорий помещений
и сооружений автотранспортных и авторемонтных предприятий по взрывопожарной и
пожарной опасности и классов взрывоопасных и пожароопасных зон по правилам
устройства электроустановок [Текст] /Минавтотранс РСФСР. - М.: ЦБНТИ Минавтотранса РСФСР, 1989. - 37 с.
. Положение о техническом обслуживании
и ремонте автотранспортных средств, принадлежащих гражданам (легковые и
грузовые автомобили, автобусы, минитракторы). РД 37.009.026-92. [Текст] / Минпром РФ, Департамент автомобильной
промышленности. - М.:, 1992. - 53 с.
. Положение о техническом
обслуживании и ремонте подвижного состава автомобильного транспорта [Текст]. - М.: Транспорт, 1988 г.
. Ремонт, обслуживание,
эксплуатация ВАЗ (Жигули). Полные технические характеристики, диагностика.
Карданная передача [Электронный ресурс] / - Режим доступа:
http://www.autoprospect.ru/vaz/2105-zhiguli/5-3-6-sborka.html.
. Руководство по ремонту
ВАЗ-2105 и ВАЗ-2104. Снятие с автомобиля, диагностика, разборка и ремонт
карданных валов [Электронный ресурс]/ - Режим доступа:
http://vazik.ru/plugins/content/content.php?content.65.
. Силуянов, В. П.
Прогрессивные способы восстановления деталей машин [Текст] / В.П. Силуянов, В.А. Падольский, П.И. Лужков. -
Минск: Ураджай, 1988. - 120 с. - ISBN 5-7860-0042-7.
. Табель технологического
оборудования и специнструмента для СТО легковых автомобилей, принадлежащих
гражданам. [Текст] - М.: НАМИ.; 1988. - 197 с.
. Техническое обслуживание и
ремонт автомобилей [Текст] / В.М. Власов, С.В. Жанказиев,
С.М. Круглов, В.А. Васильев, В.А. Зенченко, В.В. Майер, Н.С. Захаров, С.В.
Елесин; под ред. В.М. Власова. - 4-е изд., стер. - М.: Издательский центр
«Академия», 2007. - 480 с. - ISBN 978-5-7695-3923-7/
. Туревский, И.С.
<http://www.spbsseu.ru:8000/cgi-bin/cgiirbis_64.exe?Z21ID=&I21DBN=GUSE&P21DBN=GUSE&S21STN=1&S21REF=&S21FMT=fullwebr&C21COM=S&S21CNR=&S21P01=0&S21P02=1&S21P03=A=&S21STR=%D0%A2%D1%83%D1%80%D0%B5%D0%B2%D1%81%D0%BA%D0%B8%D0%B9,%20%D0%98.%20%D0%A1.>
<http://www.spbsseu.ru:8000/cgi-bin/cgiirbis_64.exe?Z21ID=&I21DBN=GUSE&P21DBN=GUSE&S21STN=1&S21REF=&S21FMT=fullwebr&C21COM=S&S21CNR=&S21P01=0&S21P02=0&S21P03=M=&S21STR=>Охрана
труда на автомобильном транспорте [Текст] / И.С. Туревский. - М.: Инфра-М, 2009. - 240 с. - ISBN
978-5-8199-0344-5.