Материал: Новоселов АГ Процессы и аппараты пищ производств Ч1

Внимание! Если размещение файла нарушает Ваши авторские права, то обязательно сообщите нам

Рис. 2.25. Непрерывно действующая фильтрующая центрифуга с пульсирующим поршнем:

1 – ротор; 2 – поршень-толкатель; 3 – труба; 4 – приемная воронка; 5 – щелевое сито; 6 – кожух; 7 – цилиндр; 8 – поршень; 9 – шток; 10 – вал

Внутри перфорированного ротора 1 по его оси размещен пор- шень-толкатель 2. Суспензия по трубе 3 поступает в коническую воронку 4, вращающуюся синхронно с ротором, на внутренней поверхности которого находится металлическое щелевое сито 5. Через отверстие в воронке суспензия поступает в ротор. Под действием разности давления, возникающей за счет вращения ротора, жидкость проходит через сито и через отверстия в стенке ротора и удаляется из кожуха 6 через сливной патрубок. Твердые частицы, которые задерживаются на сите в виде осадка, периодически порш- нем-толкателем перемещаются к открытому концу барабана и выгружаются в кожух. Движение поршня-толкателя осуществляется за счет подачи масла в цилиндр 7, где находится поршень 8, который через шток 9, проходящий внутри полого вала 10, связан с поршнемтолкателем. Попеременная подача масла в правую или левую полости цилиндра обеспечивает возвратно-поступательное движение поршнятолкателя.

46

2.5.Мембранные методы разделения жидких систем

2.5.1.Классификация методов

Ктрадиционным методам разделения жидких систем на молекулярном уровне относятся такие, как адсорбция, экстракция, абсорбция, ректификация и т. д. В последнее десятилетие в различных отраслях промышленности внедряется один из более совершенных методов разделения, основанный на использовании полупроницаемых мембран. Их свойства были давно известны ученым, так как

воснове жизнедеятельности живых клеток лежит использование полупроницаемых биологических мембран. Однако техническое применение стало возможным только после того, как удалось наладить производство синтетических полимерных мембран.

Принципиальное отличие мембранных методов заключается

втом, что в отличие от обычной фильтрации, при которой на поверхности фильтра образуется слой осадка, при мембранных методах обрадуются два раствора.

Косновным мембранным методам разделения относятся: обратный осмос, ультрафильтрация, диализ и электродиализ. В пищевой промышленности наиболее широко используются первые два метода, поэтому их и рассмотрим подробнее [5]. Области применения методов в зависимости от размера частиц приведены на рис. 2.26.

Рис. 2.26. Области применения мембранных методов разделения жидких веществ

47

Устройство аппаратов для реализации этих методов во многом сходно, отличие заключается только в использовании мембран с разными размерами пор.

2.5.2. Обратный осмос

Суть метода заключается в использовании полупроницаемой мембраны, которая при создании избыточного давления со стороны раствора пропускает растворитель и полностью или частично задерживает молекулы растворенных веществ. В основе метода лежит явление осмоса – самопроизвольного перехода растворителя через полупроницаемую мембрану в раствор.

Возьмем сосуд, разделенный полупроницаемой мембраной

(рис. 2.27).

а

б

в

Рис. 2.27. Явление обратного осмоса:

а– осмос; б – равновесие; в – обратный осмос

Содной стороны от мембраны нальем воду (растворитель),

ас другой стороны – раствор, например, сахара. Наличие разности концентрации сахара по обе стороны мембраны приведет к переходу молекул воды через мембрану, так как система будет стремиться

к равновесию (см. рис. 2.27, а). По мере перехода молекул воды в раствор его уровень будет увеличиваться. Это приведет к появлению избыточного давления со стороны раствора, которое будет про-

48

тиводействовать переходу воды в раствор. Когда избыточное давление достигнет давления, равного осмотическому , процесс перехода прекратится (см. рис. 2.27, б). Если же со стороны раствора приложить избыточное давление Р , то молекулы воды из раствора начнут переходить в обратном направлении – возникнет обратный осмос (см. рис. 2.27, в). В этом случае начнется процесс концентрирования раствора. Движущая сила обратного осмоса. p = p – .

Величину осмотического давления можно оценить по формуле Вант-Гоффа:

= сRT,

где с – мольная доля растворенного вещества; R – универсальная газовая постоянная; Т – абсолютная температура раствора.

Закон справедлив для разбавленных растворов, а в концентрированных растворах и в растворах электролитов наблюдается значительное отклонение от него.

Оно может достигать значительных величин, поэтому и рабочее давление Р в установках может быть весьма большим. Так, при работе опреснительных установок на морской воде с содержанием 3,5 % солей Р = 7 8 МПа, так как = 2,5 МПа.

При обратном осмосе концентрируются не только высокомолекулярные соединения (ВМС), но и большая часть низкомолекулярных соединений (НМС).

2.5.3. Ультрафильтрация

Ультрафильтрация (УФ) в отличие от обратного осмоса используется для разделения жидких систем, у которых молекулярная масса растворенных веществ значительно больше молекулярной массы растворителя.

Обычно для ВМС Р, поэтому при определении рабочего давления Р величину можно не учитывать. Рабочее давление в УФ лежит в диапазоне 0,3–1,0 МПа.

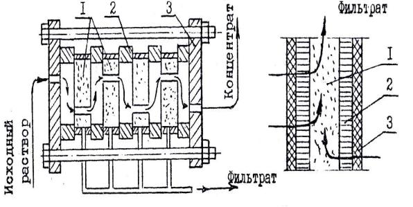
На рис. 2.28 приведена схема УФ-аппарата типа «фильтр-пресс», который применяется, когда не требуется большой производительности [5].

49

Основой аппарата является фильтрующий элемент (см. рис. 2.28, а). Фильтрующие элементы расположены на небольшом расстоянии друг от друга (0,5–5 мм), образуя межэлементное пространство для прохода разделяемого потока. Пакет фильтрующих элементов стягивается болтами. Разделяемый поток проходит последовательно вдоль всех фильтрующих элементов. При этом прошедший через мембрану фильтрат выводится из аппарата через дренажный каркас в радиальном направлении, а концентрат – через отверстие во фланце.

В настоящее время разработано много различных типов УФ-аппаратов [5], причем особое внимание привлекают аппараты, в которых в качестве фильтрующих элементов используются полые волокна. В этих аппаратах достигается удельная поверхность мемб-

ран 20000–30000 м23.

а б

Рис. 2.28. Ультрафильтрационный аппарат

сплоскокамерными фильтрующими элементами:

а– аппарат: 1 – фильтрующий элемент; 2 – рама; 3 – фланец;

б– фильтрующий элемент: 1– дренажный каркас; 2 – мелкопористая подложка;

3 – мембрана

50