Материал: Москатов Электроника 2010

Внимание! Если размещение файла нарушает Ваши авторские права, то обязательно сообщите нам

61Москатов Е. А. Электронная техника. Начало. http://moskatov.narod.ru

4.Биполярные транзисторы

4.1. Общие сведения о транзисторах

Транзисторами называют полупроводниковые приборы, которые располагают не менее чем тремя выводами и в определѐнных обстоятельствах могут усиливать мощность, преобразовывать сигнал, или генерировать колебания. Различных видов транзисторов много

– это полевые (униполярные) и биполярные транзисторы, биполярные транзисторы с изолированным затвором и однопереходные (двухбазовые) транзисторы, фототранзисторы и другие.

Усилительные каскады, выполненные на транзисторах, требуют небольшого напряжения питания величиной всего в несколько вольт, а КПД может достигать нескольких десятков процентов. Транзисторы по сравнению с электронными лампами обладают большей экономичностью, низким энергопотреблением, длительным временем наработки на отказ, малой массой и габаритами, высокой механической прочностью. К недостаткам транзисторов следует отнести невысокую радиационную стойкость, невозможность работы при температуре полупроводникового кристалла из кремния значительно выше 125 °C и прочее.

Транзисторы классифицируют по материалу полупроводника, подразделяя на германиевые, кремниевые, из арсенида галлия и прочие.

Биполярные транзисторы, у которых две из трѐх областей имеют дырочный тип проводимости, называют транзисторами с прямой проводимостью, или структуры p-n-p. А биполярные транзисторы, у которых две из трѐх областей имеют электронный тип проводимости, называют транзисторами с обратной проводимостью, или струк-

туры n-p-n.

62 Москатов Е. А. Электронная техника. Начало. http://moskatov.narod.ru

Рассматриваемые приборы, которые не способны усиливать сигнал с частотой более 3 МГц, называют низкочастотными транзисторами. Приборы, которые могут усиливать сигнал с частотой более 3 МГц, но менее 30 МГц, называют среднечастотными транзисторами. А транзисторы, которые допускают усиление сигнала с частотой, превышающей 30 МГц, называют высокочастотными, а позволяющие работать на ещѐ большей частоте (выше 300 МГц) называют сверхвысокочастотными.

Если компоненты не могут обеспечить мощность рассеяния, превышающую 0,3 Вт, то такие транзисторы называют маломощными. Приборы, которые имеют рассеиваемую мощность более 0,3 Вт, но менее 3 Вт, называют транзисторами средней мощности. А транзисторы, мощность рассеяния которых превышает 3 Вт, называют мощными транзисторами.

4.2. Конструкция некоторых биполярных транзисторов

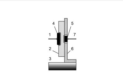
Для изготовления дискретного биполярного транзистора необходим полупроводник электронного или дырочного типов проводимости, именуемый, как и вывод от него, базой, который, например, методом сплавления или диффузии легируют акцепторными примесями так, чтобы по обе стороны от базы были выполнены зоны с противоположными типами проводимостей. Это отражено на упрощѐнной конструкции сплавного биполярного транзистора, приведѐнной на рис. 4.1.

63 Москатов Е. А. Электронная техника. Начало. http://moskatov.narod.ru

Рис. 4.1. Конструкция биполярного транзистора На рисунке цифрами обозначены: 1 – коллектор; 2 – база транзисто-

ра, например, образованная кристаллом германия или кремния; 3 – основание компонента; 4, 5 – вплавленные в кристалл примеси, например, индия или алюминия; 6 – кристаллодержатель; 7 – эмиттер. Кристалл полупроводника, образующий базу транзистора, в данном случае механически прикреплѐн и электрически соединѐн с металлической пластинкой, приваренной к стенке компонента. Толщина базы обычно не превышает нескольких микрон. На рисунке видно, что эмиттерная область имеет меньшую площадь, чем коллекторная. Между базой и коллектором лежит коллекторный переход, а между базой и эмиттером – эмиттерный переход. В области базы транзистора концентрация носителей заряда чрезвычайно низка, а, следовательно, еѐ проводимость очень мала. В области коллектора концентрация и проводимость намного больше, чем в области базы, а в области эмиттера несколько выше, чем в области коллектора. Таким образом, концентрации носителей зарядов в областях транзисторов существенно отличаются.

Усиление или генерация колебаний транзисторами связана с инжекцией носителей зарядов обоих типов. Те компоненты, в которых

64 Москатов Е. А. Электронная техника. Начало. http://moskatov.narod.ru

перемещение носителей зарядов возникает по большей части за счѐт диффузии, называют диффузионными транзисторами, а если за счѐт дрейфа – то дрейфовыми транзисторами.

Вдиффузионных транзисторах неосновные носители заряда проходят область базы за счѐт теплового движения. Чтобы диффузионный транзистор мог обладать высокой граничной частотой усиления, необходимо выполнить область базы как можно меньшей толщины, однако в результате этого еѐ сопротивление будет велико. Если попробовать увеличить еѐ проводимость благодаря легированию, то возрастѐт ѐмкость коллекторного перехода, что ухудшит частотные свойства транзистора.

Вдрейфовых транзисторах создают такое неравномерное распределение примесей в области базы, чтобы концентрация примеси

взоне прилегания базы к эмиттеру была ориентировочно от 2-х до 4-х порядков выше, чем в зоне прилегания базы к коллектору. Благодаря этому неосновные носители заряда будут быстрее преодолевать базу под действием укоряющего поля коллекторного перехода, что позволяет дрейфовым транзисторам иметь более высокую граничную частоту усиления сигнала, чем диффузионным транзисторам. А сопротивление области базы мало даже при небольшой еѐ толщине благодаря легированию места прилегания базы к эмиттеру. Некоторые дрейфовые транзисторы предназначены для усиления и генерации СВЧ сигналов и могут работать на частотах в несколько десятков гигагерц.

4.3. Принцип действия биполярных транзисторов

Изучим принцип усиления биполярного транзистора, для чего обратимся к рисунку 4.2, на котором изображено движение носителей заряда в транзисторе p-n-p структуры, включѐнном по схеме с об-

65 Москатов Е. А. Электронная техника. Начало. http://moskatov.narod.ru

щей базой. На нѐм протяжѐнности областей отражены без соблюдения масштаба и реальных размеров.

Рис. 4.2. Движение носителей заряда в транзисторе На рисунке знаком показаны дырки, а знаком – электроны. В

связи с тем, что в работе компонента участвуют и электроны, и дырки, такой транзистор именуют биполярным. Выводы базаэмиттер транзистора будем считать входом каскада, а выводы базаколлектор – его выходом.

Благодаря включению двух источников питания переход базаколлектор закрыт, а переход база-эмиттер открыт. Из-за этого по переходу база-эмиттер будет течь эмиттерный ток, порождѐнный движением преимущественно электронов. Он течѐт по цепи от положительного полюса источника питания база-эмиттер, по резистору R1, от области эмиттера транзистора к области базы, а затем к отрицательному полюсу этого же источника питания. Резистор R1 символизирует внутреннее сопротивление источника сигнала. Направление протекания тока символически стрелками отражено на рисунке. Эффективность инжекции характеризует коэффициент инжекции. В данном случае он равен отношению тока эмиттера,