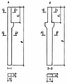
Последовательность построения схем лобовой проходки драглайна и обратной
лопаты показаны на рисунке.
Для
этого определяют стоимость разработки 1 м3 грунта в котловане для каждого типа
экскаваторов
где 1,08 - коэффициент, учитывающий накладные расходы;
Смаш-см - стоимость машино-смены экскаватора 8709.26 тенге/смен;
Псм.выр
- сменная выработка экскаватора, учитывающая разработку грунта навымет и с
погрузкой в транспортные средства, м3/смен
где
Vк - объем грунта котлована, м3;
nмаш-смен -
суммарное число машино-смен экскаватора при работе навымет и с погрузкой в
транспортные средства.
Определяют
удельные капитальные вложения на разработку 1 м3 грунта для каждого типа
экскаваторов
где Соп - инвентарно-расчетная стоимость экскаватора - 7455.46тенге;
tгод - нормативное число смен работы экскаватора в году. Ориентировочно может быть принято равным 350 смен для машин с объемом ковша до 0,65 м3 включительно и 300 - для ковшей более 0,65 м3.
Определяют приведенные затраты на разработку 1 м3 грунта
П=С+ЕК=34.1+0.15х0.1=34.115
где Е - нормативный коэффициент эффективности капитальных вложений,
равный 0,15.
.2 Расчет сменной эксплуатационной производительности экскаватора
Расчетную сменную эксплуатационную производительность экскаватора
определяют по формуле
где Т - продолжительность смены,8 ч;
q - геометрическая вместимость ковша, 0.65м³;
Кн - коэффициент наполнения ковша 1.2
Кв - коэффициент использования экскаватора за смену, который практически равен 0,6-0,8;
Тц - 22 продолжительность рабочего цикла (с) данного экскаватора в данном забое
Кр - 1.2 коэффициент разрыхления грунта в ковше.
Таблица 1
Рациональные расстояния перемещения грунта транспортными машинами
|
Вид транспортных средств |
Расстояние, км |
|
Автосамосвалы |
0,5...5 |
|
Большегрузные автомобили с прицепами |
0,5...5 |
|
Тракторные прицепы |
0,1...1 |
Определяют объем грунта в плотном теле в ковше экскаватора
где Vков -0.65 принятый объем ковша экскаватора, м3;
Kнап - 1.2 коэффициент наполнения ковша;
Кпр
- 1.24 коэффициент первоначального разрыхления грунта
Определяют
массу грунта в ковше экскаватора
Q=Vгр∙g=0.63∙1.8=1.134т
где
g - объемная масса грунта, т/м3.
Таблица 2
Технические характеристики автосамосвалов
|
Марка |
Грузоподъемность |
Емкость кузова, м3 |
Наибольшая скорость движения с грузом, км/ч |
|
ЯАЗ-210Е (КрАЗ-222) |
10 |
8 |
45 |
Количество ковшей грунта, загружаемых в кузов автосамосвала
где
П - 10 грузоподъемность автосамосвала, т.
Определяют
объем грунта в плотном теле, загружаемый в кузов автосамосвала:
Подсчитывают
продолжительность одного цикла работы автосамосвала
где tn - нормативное время погрузки грунта, мин;- расстояние транспортировки грунта, км;ср - средняя скорость (нормативная) транспорта, при движении до места разгрузки и обратно, км/ч
tp - нормативное
время разгрузки транспорта с маневрированием;м - нормативное время
маневрирования при загрузке;
Нвр - норма машинного времени для погрузки экскаватором 1 м3 грунта в транспортные средства в мин.
Требуемое количество автосамосвалов составит
Принимаю
N=10
4.
Определение объемов работ надземной части здания
.1 Характеристика здания
В данном курсовом проекте рассматривается монтаж сборных железобетонных конструкций одноэтажного промышленного здания на основании следующих данных:
длина здания -96 м;
ширина пролета -18,24 м;
количество пролетов -3;
шаг колонн -6 м;
высота от пола до оголовка колонны -9,6 м, 14,4 м;
Сборные конструкции доставляются с завода железобетонных изделий, находящегося от строительной площадки на расстоянии 8 км.
Место строительства г. Зайсан;
начало монтажных работ - май 2015 г.
конец - по календарному графику.
Здание, подлежащее монтажу, представляет собой однопролетное одноэтажное здание с железобетонным каркасом - ремонтный блок для щебёночных и гравийно-песчаных заводов. Здание в плане прямоугольное, не оборудовано мостовыми кранами.
Для определения объемов работ, пользуясь исходными данными и каталогом
типовых конструкций, составляем сводную спецификацию сборных элементов
конструкций подлежащих монтажу (таблица 3).
Таблица 3 - Сводная спецификация сборных элементов
|
№ п.п |
Наименование и марка элемента |
Схематический внешний вид элемента |
Габариты элемента, мм |
Масса элемента, т |
Количество элементов данной марки |
Масса всех элементов данной марки, т |
||||
|
|
|
|
Ширина, b |
Длина, а |
Высота, h |
|
На 1 температурный блок |
На все здание |
|
|
|
1 |
2 |
3 |
4 |
5 |
6 |
7 |
8 |
9 |
10 |
|
|
1 |
Колонны сплошного сечения крайние КПI-7 |
|
400 |
800 |
10600 |
7,1 т |
72 |
72 |
511,2 т |
|
|
2 |
Колонны сквозные крайние КДХ-36 |
|
500 |
1000 |
15750 |
9,7 т |
36 |
36 |
349,2 т |
|
|
3 |
Фундаментная балкаФБ6-3 |
|
260 |
4750 |
450 |
1,2 т |
52 |
52 |
62,4 т |
|
|
4 |
Подкрановая балкаБКНБ-2с Q=10т |
|
20 |
5950 |
1000 |
4,2 т |
64 |
64 |
268,8 т |
|
|
5 |
Подкрановая балкаБКНБ-3с Q=20т |
|
20 |
5950 |
1000 |
4,2 т |
32 |
32 |
134,4 т |
|
|
6 |
Ферма длинной 18мФБМI18П-5П |
|
250 |
17940 |
3000 |
8,1 т |
36 |
36 |
291,6 т |
|
|
7 |
Ферма длинной 24 мФБМ24П-3П |
|
250 |
23940 |
3300 |
11 т |
18 |
18 |
198 т |
|
|
8 |
Ребристая плитаПГ-3АтУТ |
|
2980 |
5970 |
300 |
2,6 т |
320 |
320 |
832 т |
|
|
9 |
Стеновая панель ПСЛ |
|
240 |
6000 |
1200 |
4,8 т |
554 |
554 |
2660 т |
|
|
10 |
Стеновая панель ПСЛ |
|
240 |
6000 |
1800 |
4,8 т |
41 |
41 |
196,8 т |
|
|
11 |
Оконные блоки |
|
120 |
6000 |
1200 |
0,252т |
48 |
48 |
12,1 т |
5516,5 т |
.2 Конструктивные решения стыков сборных элементов
Для обеспечения пространственной жесткости здания после монтажа и временного закрепления конструкций осуществляется их стыковка путем сваривания закладных деталей и замоноличивания стыков.
Для замоноличивания стыков колонн используется бетон класса В25, для ферм и плит покрытия В15. Для сваривания закладных деталей используют электроды Э42, Э46.
При устройстве сопряжений элементов расходуется значительное количество
материальных и трудовых ресурсов. В настоящее время расценки на дополнительные
работы (сваривание закладных деталей, герметизация швов, замоноличивание стыков
и др.) приводятся в СН РК 8.02-05-2002. Дополнительные ресурсы, необходимые для
сопряжения элементов, приведены в таблице 4.
Таблица 4 - Ведомость потребных материалов и полуфабрикатов
|
№ |
Наименование |
Вид материала |
Объем |
Нормы расхода |
|
|
|
|
|
ед. изм. |
кол-во |
|
|
1 |
Установка колонн в стаканы фун-тов прямоуг. сечения |
-Бетон мелкозернистый (песчанный) кл. В25 |
м3 |
14.9 |
0,138 |
|
2 |
Установка фундаментных балок |
- Раствор готовый кладочный тяжелый цементный М-50 |
м3 |
1,1232 |
0,0216 |
|
3 |
Установка подкрановых балок |
- электроды диаметром 6 мм Э42 -Бетон тяжелый класса В-15 |
т м3 |
0,0288 1,824 |
0,0003 0,019 |
|
4 |
Установка ферм |
- электроды диаметром 6 мм Э42 - конструктивные элементы вспомогательного назначения |
т |
0,054 |
0,001 |
|
5 |
Укладка плит покрытий, 6 м |
- электроды диаметром 6 мм Э42 -Бетон тяжелый В15 |
т м3 |
0,064 27.2 |
0,0002 0,085 |
|
6 |
Установка панелей наружных стен |
- электроды диаметром 6 мм Э42 - конструктивные элементы вспомогательного назначения |
т т |
0.595 1.19 |
0,001 0,002 |
|
7 |
Монтаж оконных блоков |
- электроды диаметром 44 мм Э46 -Эл. крепления нащельников и детали обрамления -стальные конструкции оконных блоков -стальные конструкции нащельников и обрамления -отд. конструктивные элементы ЗиС с преобладанием горячекатаных профилей m=0,1-0,5т |
т т т т т |
0.012 - 0.48 - 0.048 |
0,00025 - 0,01 - 0,001 |
|
8 |
Монтаж каркаса ворот |
- болты строительные с гайками и шайбами - электроды диаметром 4 мм Э46 -СК Отдельные конструктивные элементы |
т т т |
- 0.00115 0.05 0.0013 |
- 0,00023 0,01 0,00026 |
|
9 |
Заполнение вертикальных швов |
Раствор готовый, кладочный М50 |
м3 |
188.13 |
0,04368 |
Итого: бетона………..44 м3
растворов….…188 м3
электродов.…..2,52 т
5. Составление калькуляции трудозатрат и заработной платы
Комплексный процесс монтажа сборных конструкций включает: подготовку элементов к подъему; укрупнительную сборку; доставку к месту подъема; строповку и оснастку элемента вспомогательными приспособлениями и устройствами (причем в некоторых случаях с элементами жесткости); подъем; временное крепление; выверку и окончательное закрепление элемента в проектном положении. Все эти последовательные процессы монтажа элементов конструкции будут учтены в проекте производства работ.
В состав проекта монтажных работ входят основные и вспомогательные работы. Основные и вспомогательные работы определяются окончательно лишь после выбора способа производства монтажных работ.
Первоначально устанавливают объемы основных работ.
Результаты подсчета занесены в таблицу 5, пользуясь данными спецификации
сборных элементов и СНиР. При этом отдельные элементы, близкие по массе и
площади, для которых установлены одинаковые нормы времени трудозатрат,
объединяем в одну подгруппу.
Таблица 5 - Калькуляция затрат труда, машинного времени
|
№ |
Наименование работ |
Ед. Изм. |
Количество |
СНиР |
Подъемно- транспортные машины |
Н. врм.. механизмов машин маш-час |
Затраты машинного времени |
Состав звена рабочих |
Норма времени рабочих, чел-час |
Затраты труда |
||||||||
|
|
|
|
|
|
Наименование |
Марка |
|
Маш-час |
Маш-смен |
профессия |
Разряд |
кол-во |
|
чел-час |
чел-день |
|||
|
1 |
2 |
3 |
4 |
5 |
6 |
7 |
8 |
9 |
10 |
11 |
12 |
13 |
14 |
15 |
16 |
|||
|
1 |
Разработка котлована экскаватором оборудованной обратной лопатой q=0,65 м3 |
м3 |
12806 |
2-1-9-2-14 |
Экскаватор с обратной лопатой ЭО-651, q=0,65 м3; наибольший радиус копания - 8,95м ; наибольшая глубина копания - 5,5 м; наибольшая высота выгрузки - 5,6 м; продолжительность цикла - 22с; масса -19,2 т. |
ЭО- 4321 |
0,02 |
256,12 |
32,015 |
Машинист |
6 разряда |
2 |
0,02 |
256,12 |
32,015 |
|||
|
2 |
Добор грунта вручную 15см |
м3 |
959,6 |
ЕН и Р 2-1-47-2-3 |
Лопата |
_ |
_ |
_ |
_ |
Землекоп |
3 разряда |
1 |
1,3 |
1247,5 |
156 |
|||
|
3 |
Устройство бетонной подготовки фундаментов |
м3 |
82,216 |
6-1-7 |
Автосамосвал по лотку |
|
- |
- |
- |
бет-к бет-к |
2 |
2 2 |
3,35 0,66 |
275,42 54,26 |
34,42 6,78 |
|||
|
4 |
Устройство фундаментов общего назначения |
м3 |
923,4 |
6-3-2 |
Кран на гусеничном ходу дэк-361 |
_ |
0,13 |
120 |
15 |
Монтажник Монтажник Монтажник Монтажник маш-т |
5 4 3 2 6 |
2 2 2 2 1 |
2,88 0,36 |
2660 332,5 |
332,5 41,55 |
|||
|
5 |
Установка колонн прямоугольного сечения m<10 т |
шт |
72 |
7-5-13 |
КРАН НА ГУСЕНИЧНОМ ХОДУ ДЭК-361 |
_ |
1,22 |
87,84 |
11 |
Монтажник Монтажник Монтажник Монтажник маш-т |
5 4 3 2 6 |
2 2 2 2 1 |
9,92 2,14 |
714,24 154,08 |
90 19,26 |
|||
|
6 |
Установка колонн двухветвевых в стаканы фундаментов m<10 т |
шт |
36 |
7-6-7 |
|
_ |
1,6 |
57,6 |
7,2 |
Монтажник Монтажник Монтажник Монтажник маш-т |
5 4 3 2 6 |
2 2 2 2 1 |
11,5 2,684 |
414 96,62 |
51,75 12,1 |
|||
|
7 |
Монтаж фундаментных балок m<2 т |
шт |
52 |
7-1-2 |
|
_ |
0,229 |
12 |
1,5 |
Монтажник Монтажник Монтажник Монтажник маш-т |
5 4 3 2 6 |
2 2 2 2 1 |
0,825 0,3633 |
43 18,9 |
5,4 2,36 |
|||
|
8 |
Монтаж подкрановых балок m<5 т |
шт |
64 |
7-9-7 |
|
_ |
0,539 |
34,5 |
4,3 |
Монтажник Монтажник Монтажник Монтажник маш-т |
5 4 3 2 6 |
2 2 2 2 1 |
3,76 0,992 |
240,64 63,5 |
30,08 7,936 |
|||
|
9 |
Монтаж ферм m<12т |
шт |
54 |
7-12-16 |
|
_ |
2,13 |
115 |
14,4 |
Монтажник Монтажник Монтажник Монтажник маш-т |
5 4 3 2 6 |
2 2 2 2 1 |
14 3,304 |
756 178,416 |
94,5 22,3 |
|||
|
10 |
Монтаж плит покрытий m<5 т |
шт |
320 |
7-13-8 |
|
_ |
0,337 |
107,84 |
13,5 |
Монтажник Монтажник Монтажник Монтажник маш-т |
5 4 3 2 6 |
2 2 2 2 1 |
2,76 0,7188 |
883,2 230,016 |
110,4 28,752 |
|||
|
11 |
Установка стеновых панелей |
шт |
595 |
7-16-1 |
|
_ |
0,84 |
499,8 |
62,5 |
Монтажник Монтажник Монтажник Монтажник маш-т |
5 4 3 2 6 |
2 2 2 2 1 |
5,63 1,2114 |
3345 720,783 |
418,73 90,1 |
|||
|
|
||||||||||||||||||
|
12 |
Установка оконных панелей |
шт |
48 |
9-44-1 |
КРАН НА ГУСЕНИЧНОМ ХОДУ ДЭК-361 |
_ |
4,8 |
230,4 |
28,8 |
Монтажник Монтажник Монтажник Монтажник маш-т |
5 4 3 2 6 |
2 2 2 2 1 |
80,3 5,52 |
3854,4 264,96 |
481,8 33,12 |
|||
|
13 |
Монтаж каркаса ворот |
шт |
5 |
9-46-1 |
|
_ |
0,35 |
1,75 |
0,22 |
Монтажник Монтажник Монтажник Монтажник маш-т |
5 4 3 2 6 |
2 2 2 2 1 |
41,4 |
207 |
25,8 |
|||
|
14 |
Заполнение вертикальных швов стеновых панелей цементным раствором |
м |
4307 |
7-19-2 |
|
- |
- |
- |
- |
бет-к бет-к |
4 3 |
2 2 |
0,06 |
258.42 |
32.3 |
|||
|
ИТОГО |
|
1522.0 |
190.435 |
|
15155 |
1896,7 |
|||||||||||
. Выбор монтажных и захватных приспособлений
Выбор инвентарных и монтажных приспособлений производим на основе
принятых методов производства работ и характеристики монтируемых конструкций.
Данные внесены в таблицу 6.
Таблица 6 - Ведомость монтажных и захватных механизмов
|
№ |
Наименование и марка приспособления |
Эскиз |
Нстр, м |
Q, т |
m, т |
Кол-вo, шт |
||||||
|
1 |
Траверса унифицированная, ЦНИИОМТП, Р4-455-69 |
|
1 |
10 |
0,18 |
1 |
Траверса, ПК Главстальконструкция, 185 |
|
2,8 |
6 |
0,4 |
1 |
|
3 |
Траверса, ПК Стальмонтаж, 1950-53 |
|
3,5 |
16 |
0,99 |
1 |
||||||
|
4 |
Траверса, ПИ Промстальконструкция, 15946Р-11 |
|
3,6 |
25 |
1,75 |
1 |
||||||
|
5 |
Траверса, ПИ Промстальконструкция, 2006-78 |
|
1,6 |
4 |
0,53 |
1 |
||||||
|
6 |
Строп двухветвевой ГОСТ 19144-73 |
|
2,2 |
5 |
0,02 |
1 |
||||||
|
7 |
Расчалка. ПИ Промстальконструкция, 2008-09 |
|
- |
- |
0,1 |
1 |
||||||
|
8 |
Приставная лестница с площадкой, ПК Главстальконструкция, 220 |
|
- |
0,11 |
- |
2 |
7. Определение требуемых рабочих параметров кранов
Для выбора подходящих монтажных механизмов определяем исходные данные, которые заносим в таблицу 5.
Требуемые минимальные параметры определяются для всех монтируемых элементов в зависимости от метода монтажа и схемы движения крана.