Материал: Механизация_ответы к зачету

Внимание! Если размещение файла нарушает Ваши авторские права, то обязательно сообщите нам

Особенности универсально-пропашных тракторов:

- небольшая ширина движителей

- обработка растений в междурядьях

- маневренность, малый радиус поворота

- изменяемая колея

        • Специальные (на базе тракторов общего назначения): по видам культур и производственных условий. По культурам (хлопковые, виноградниковые) или для работы в особых условиях (горные, болотные).

        • Малогабаритные – используются при невозможности использования тракторов крупного размера, для работы в ограниченном пространстве

3). По типу ходовой системы (колесные и гусеничные).

Гусеничные – резинно-армированный движитель – РАГ)

Колесные формулы 4х4, 4х2 (4 общее число колес, 2 – ведущих)

Для разных тракторов предел допустимого буксования разный

  • 4х2 – 18%

  • 4х4 – 15:

Гусеничные – 7-9%

4). По тяговому классу(Тягово-приводная концепция) - классификационному показателю- все с/х тракторы сгруппированы в 10 классов: 0,2; 0,6; 0,9; 1,4; 2; 3; 4; 5; 6 и 8. Определяется номинальным тяговым усилием, которое трактор способен развивать при работе с наибольшей производительностью при эталонных условиях на низшей передаче с допустимым буксованием (- ровный участок, уклон до 1%, влажность почвы 18%, фон – стерня зерновых, расположение над уровнем моря 200м (плотность воздуха)).

5). По функциональному назначению и компоновке (тракторы тяговой концепции и мобильные энергетические средства (МЭС) с задним расположением кабины, с центральным расположением кабины, с шарнирно-сочлененной рамой и моногамной конструкцией, с передвижные блок-противовесом и передним расположением кабины.

МТЗ-80: универсально-пропашной, 2 тяговый класс, колёсный, полурамный

ДТ-75: гусеничный , полурамный, 3 тяговый класс (общего назначения)

ДТ-20: безрамный, колесный, 0,6 тяговый класс (садово-огородный)

9). Коэффициент использования рабочего времени смены: понятие, методика, определения, практическое использование.

– коэффициент использования рабочего времени смены – отношение времени работы к общему времени смены, чем он выше, тем выше производительность.

Необходим для учета непроизводственных потерь времени.

обычно , если операции связаны с обработкой почвы

Всегда меньше 1

Тсмены – рабочее время + всевозможные потери времени по различным факторам.

Tсмены = Tрабочее+Tхх + Тподг.+Тобсл+ Трегул+Тто

Tхх – холостые проезды, развороты, переезды с поля на поле с загона на загон тд

Тобсл. – время на технологическое обслуживание – заправка семенных ящиков сажалок, выгрузка зерна зерноуборочных комбайнов, смена рабочих средств

Трегул- время нарушения технологических процессов: забивание, нарушение регулировок,

Тто – устранение поломок

Тподг – медосмотр сотрудников, получение путевого листа, ежесменное ТО, внешний осмотр МТА, при необходимости составление МТА. Подготовительно-заключительное время.

Коэффициент использования рабочего времени смены является важным показателем продуктивности. Управленцу любого хозсубъекта будет полезно определить этот показатель, чтобы в полной мере осознавать, на что уходит рабочее время, насколько продуктивно оно тратится, и какая от этого идет отдача.

Рассматриваемый параметр – это показатель, который позволяется определить, насколько эффективно на том или ином предприятии используется время, отведенное на работу, то есть показывает, сколько рабочего времени за определенный период было потрачено с пользой, а сколько — нет.

10) Машинно-тракторный агрегат (мта): определение и классификация.

МТА(Машинно-тракторный агрегат) — это трактор, соединенный с рабочей машиной или машинами.

Классификация:

  • по видам технологических процессов - на пахотные, посевные, уборочные, транспортные и др.;

  • по способу выполнения работ - на передвижные, стационарно-передвижные и стационарные;

  • по способу соединения рабочей машины с трактором - на прицепные, навесные и полунавесные.

  • по характеру использования энергии агрегаты различают: тяговые, тягово-приводные и приводные.

Классификация по характеру использования

По характеру использования энергии агрегаты различают: тяговые, тягово-приводные и приводные.

Тяговыми агрегатами считаются те агрегаты, в которых мощность источника энергии используется только на перемещение рабочих машин.

Тягово-приводными – в которых мощность источника энергии используется одновременно на перемещение рабочих машин и на привод рабочих органов от ВОМ и 

Приводными – в которых мощность используется только на привод в действие рабочих органов машин. Приводные агрегаты чаще всего используются на стационаре.

Классификация по способу соединения рабочих машин

По способу соединения рабочих машин с энергетическим средством агрегаты делят на прицепные, навесные, полунавесные и.

Прицепными считаются такие агрегаты, рабочие машины которых имеют собственные ходовые части и в транспортном положении полностью воспринимают силы тяжести этих машин. Прицепные рабочие машины соединены с трактором, как правило, одним шарниром, хорошо копируют микрорельеф поля, из них легко составить широкозахватный многомашинный агрегат. Однако они имеют относительно большую металлоемкость, худшую маневренность.

Навесными считаются такие агрегаты, силы тяжести рабочих машин которых в транспортном положении полностью передаются на трактор. Навесные машины не имеют в транспортном положении самостоятельной ходовой части. Агрегаты с ними более маневренны, меньше их металлоемкость. Однако соединение навесных машин с трактором сложнее, дополнительные связи с трактором ухудшают условия воздействия трактора и копирования машиной поверхности поля, сложнее составить многомашинный агрегат. 

У полунавесных агрегатов в транспортном положении часть силы тяжести рабочей машины передается на трактор, а другая часть воспринимается своей ходовой частью.

12) Механизм навески и прицепное устройство универсально- пропашного трактора класса тяги 1,4 (например, мтз-80.1).

Для повышения эксплуатационных качеств некоторые тракторы оснащаются не только задним, но и фронтальным универсальным механизмом навески. Чаще всего это универсально-пропашные тракторы, которые при такой комплектации смогут выполнять пропашные работы с совмещением операций: одна операция выполняется машиной (орудием) во фронтальной навеске, а вторая - другой машиной в задней навеске.

Боковые ВОМ устанавливаются на те тракторы, с которыми агрега-

тируются машины в боковой навеске. Как было отмечено выше этот вид навески типичен для универсально-пропашных колесных тракторов тягового класса 0,6-2. Поэтому именно эта группа тракторов имеет наиболее разветвленную и многофункциональную систему ВОМ.

Тягово-сцепные устройства

Для агрегатирования с прицепными машинами-орудиями трактор

оснащается тягово-сцепными устройствами различных видов.

По назначению тягово-сцепные устройства подразделяются на три вида.

Тягово-сцепное устройство ТСУ-1 (тяговая вилка) располагается

возможно ниже, но с обеспечением необходимого дорожного просвета и возможностью использования заднего ВОМ. Тягово-сцепное устройство ТСУ-1 служит для соединения с трактором разнообразных прицепных машин и орудий.

Тягово-сцепное устройство ТСУ-2 (гидрофицированный крюк)

предназначено для сцепки трактора с одноосными машинами и одноосными прицепами с последующей их буксировкой.

Управление процессом сцепки и расцепки должно выполняться трактористом из кабины с места водителя через гидравлическую систему механизма навески.

Тягово-сцепное устройство ТСУ-3 (буксирное устройство) пред-

назначено для работы трактора на транспортных перевозках в агрегате с двухосными тракторными и автомобильными прицепами.

В связи с тем, что транспортные скорости современных колесных

тракторов достигают 35...40 км/ч (на некоторых тракторах до 90 км/ч) к буксирным устройствам предъявляются повышенные прочностные требования.

Буксирным устройством и гидрофицированным крюком оснащают

тракторы, широко используемые для транспортных операций. При этом они имеют полный набор средств для прицепного агрегатирования. Тракторы других тяговых классов оснащаются, как правило, только тягово-сцепным устройствам ТСУ-1 типа тяговой вилки в обычном (ТСУ-1-Ж) или маятниковом (ТСУ-1-М) исполнении.

! Кроме того, все тракторы имеют переднее тягово-сцепное устройство в виде крюка, вилки или иной конструкции, которое обеспечивает:

- буксировку неисправного трактора;

- пуск двигателя трактора методом его буксировки;

- образование колонны сцепленных между собой тракторов с целью

буксировки особо тяжелых изделий (буровых установок, участков сваренных в плети трубопроводов и т.п.).

Примером тяговой вилки ТСУ-1 может служить конструкция при-

цепных устройств колесных тракторов МТЗ-80/82, МТЗ-100/102 и гусеничных ДТ-75М и ДТ-175С.

  • В тракторах МТЗ ТСУ-1 представляет поперечину 5 с

установленной на ней вилкой 3, которая фиксируется пальцами 6 в нужном месте. При помощи пальцев 2 поперечина крепится к нижним тягам 1 заднего механизма навески, у которых были сняты задние концы. С помощью стяжек 7 блокируется поперечное смещение прицепного устройства. Регулировка точки прицепа по ширине осуществляется перестановкой вилки 3 вдоль поперечины 5, а по высоте - подъемом нижних тяг 1. Взаимное угловое перемещение трактора и машины достигается за счет зазора в соединении прицепной вилки 3 с прицепным кольцом машины.

Разновидностью ТСУ-1 является маятниковое прицепное устройство.

11) Механизм навески и прицепное устройство трактора общего назначения класса 3 (например, Агромаш 90тг или дт-75).

Особенностью механизмов навески тракторов общего назначения является возможность его переоборудования с трехточечной схемы на двухточечную, и наоборот.

Двухточечную схему наладки навесного устройства применяют в том случае, когда тракторному агрегату необходимо отклоняться от прямолинейного движения. Это требуется при работе, например, с плугами. В этом случае трактор с заглубленными в почву орудиями может совершать повороты под углом до 20°

Трехточечную схему наладки навесного устройства применяют при работе с широкозахватными навесными орудиями (например, если трактор работает с культиваторами, сеялками и др.).

При агрегатировании плугов с тракторами тягового класса 3 и 4

навесное устройство собирают по двухточечной схеме. Для этого

передние концы нижних продольных тяг закрепляют на шарнире,

установленном на нижней оси навески трактора. Для перевода

плуга из транспортного положения в рабочее золотник гидрорасп-

ределителя устанавливают в положение «Плавающее».

Механизмы навески трехточечные с возможностью их перенастройки на двухточечные – для тракторов тяговых классов 3; 4; 5; 6; 8. В этом случае нижние тяги подсоединяются к трактору не в двух разнесенных точках, а в одной общей (посредине), либо в двух максимально сближенных. При такой наладке кинематика относительного движения трактора и машины в навесном варианте идентична кинематике в прицепном варианте.

Двухточечная настройка обычно применяется при агрегатировании

гусеничных тракторов с плугами, что позволяет таким агрегатом совершать криволинейное движение с заглубленными рабочими органами без поломок и повреждений, а трехточечная - при агрегатировании трактора с широкозахватными машинами или орудиями, так как она обеспечивает устойчивый их ход относительно трактора в горизонтальной плоскости.

Тракторы общего назначения как правило, только тягово-сцепным устройствам ТСУ-1 типа тяговой вилки в обычном (ТСУ-1-Ж) или маятниковом (ТСУ-1-М) исполнении.

Тягово-сцепные устройства предназначены для соединения трактора с различными прицепными, полуприцепными и другими сельскохозяйственными машинами. Для автоматического сцепления механизма навески трактора с навесной сельскохозяйственной машиной применяется автосцепка 

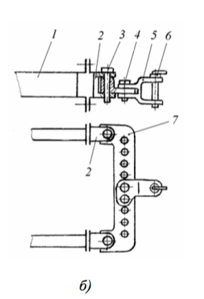
В тракторах ДТ-75М поперечина 7 с установленной на ней вилкой 5 через соединительные кронштейны 2 крепится к продольным лонжеронам 1 рамы трактора. Поперечина 7 несимметричной в вертикальной плоскости конфигурации соединяется с кронштейнами 2 через пальцы 3. Ее переворот на 180° обеспечивает необходимую регулировку точки прицепа по высоте. По ширине точка прицепа регулируется перестановкой вилки 5 по поперечине 7 и фиксацией пальцами 4.

Прицепное кольцо буксируемой машины запирается в зоне вилки с

помощью шкворня 4 для тракторов МТЗ или шкворня

для тракторов ДТ-75М и ДТ-175С.

! Кроме того, все тракторы имеют переднее тягово-сцепное устройство в виде крюка, вилки или иной конструкции, которое обеспечивает:

- буксировку неисправного трактора;

- пуск двигателя трактора методом его буксировки;

- образование колонны сцепленных между собой тракторов с целью буксировки особо тяжелых изделий