RB = 10,39 кН; МВ = 0, -YA(а + b) + P1b = 0. Отсюда -RA sin 
(а + b) + P1b =0. Следовательно RA = 21,65 кН.
Повторим решение, используя систему уравнений равновесия в виде (8.6)
X=0, RAcos - Pcos60 = 0, RA = 21,65 кН, Y=0, RAsin - Pcos30 + RB = 0.
Подставив найденное значение RA , снова получим RB =
10,39 кН.
8.5.2. Плоская система параллельных сил Уравнения равновесия можно составить в виде двух сис-
тем: (8.11) и (8.12). Решение, полученное с использованием одной из этих систем, желательно проверить, применив другую систему. Если задана приложенная пара сил, то при составлении уравнения равновесия в виде суммы моментов всех сил относительно какой-либо точки воспользуемся теоремой «сумма моментов двух сил, составляющих пару относительно любой точки, равна моменту пары m», а при составлении уравнения равновесия в виде суммы проекций всех сил на какую -либо ось (для параллельных сил на ось параллельную си-
лам), применим теорему «сумма проекций двух сил, составляющих пару, на произвольную ось равна нулю».
Пример 8.3. Определить опорные реакции для балки, изображенной на рис. 8.11. Да-
но: P = 40 H; q = 5 H/м; m = 24
Нм.
Решение. Пусть балка находится в равновесии. Связями
Рис. 8.11 являются неподвижный опорный шарнир А и опора В на катки
161
(шарнирно подвижная опора). Мысленно отбросим связи и за-
меним их действия силами - реакциями связей. Реакция RB
перпендикулярна горизонтальной опорной плоскости катков, другие силы тоже вертикальны, так как силы пары в твердом теле можно повернуть и сориентировать вертикально (см. §
7.5), поэтому и реакция RA будет параллельна остальным си-
лам. Равнодействующая Q = 2q распределенной нагрузки (q - интенсивность нагрузки) приложена в центре тяжести грузовой площади (о распределенных нагрузках см. § 8.3). На рис. 8.11 стрелкой условно обозначен заданный момент М. Составим систему уравнений равновесия (8.11)
Pk=0, PA – P + RB – 2q = 0,
MA=0; m – 3P + 4RB – 10q = 0.
Подставив числовые значения величин, находим RB = 36,5 H; RA = 13,5 H.
Для проверки повторим решение, применив систему (6.12). Одно уравнение моментов MA=0 уже использовано для определения RB = 36,5 H. Составим второе уравнение равновесия: MB = 0; -4RA + m + 1*P - 2q*1 = 0; отсюда находим
RA = 13,5 H.
Рис. 8.12
162
Пример 8.4. Определить опорные реакции для балки, изображенной на рис. 8.12. Дано: P1 = 600 H; q = 10 Н/м; m = 80
Н*м; P2 = 240 H.
Решение. Для балки связью является заделка А. Мысленно освобождаем балку от заделки и изображаем действие заделки на балку, сводящее-
ся к сосредоточенной силе RA и паре сил с искомым моментом m A (см. § 7.3). Так как в горизонтальном направлении ак-
тивные силы не действуют, то и реакция RA будет направлена
вертикально (параллельно всем другим силам). Изображаем равнодействующую 3q распределенной нагрузки. Составляем уравнения равновесия в виде (8.11)
Pk=0, RA – P1 – 3q – P2 =0, RA= 870 H,
MA=0, mA – P1 1 – 3q 3,5 – m – P2 7 = 0.
Находим mA = 2465 Н*м. Для проверки повторим решение, используя уравнения равновесия в виде (8.12). Одно уравнение равновесия МA = 0 уже использовано для получения mA = 2465 Н*м. Теперь возьмем за центр моментов какую-либо другую точку, например правый конец балки В, тогда MB=0; mA - RA 7 + P1 6 + 3q 3,5 – m = 0. Получаем RA = 870 H.
8.5.3. Произвольная плоская система сил. Характерным приемом
при решении задач для произвольной плоской системы сил является разложение искомой
реакции RA в шарнирно не-
подвижной опоре А для случая, когда ее направление заранее неизвестно, на две со-
ставляющие силы X A и YA
по двум выбранным направлениям осей координат. Ненулевые проекции этих составляющих равны соответствующим проекциям ХA и YA
искомой реакции RA . Для плоской системы сил состав-
163
ляющие всех сил в направлении оси z , перпендикулярной плоскости сил, раны нулю. Поэтому если определить величины проекций ХА и YA из уравнений (8.12) и (8.13), то тем самым
определяется и величина и направление реакции RA .
Реакция в заделке состоит из составляющих сил X A , YA
и пары сил с моментом mА (см. § 7.3). Для решения задач можно пользоваться системами уравнений равновесия в одном из видов: (8.8), (8.9) и (8.10). Правильность решения можно проверить, используя какие - либо два вида из указанных систем уравнений.
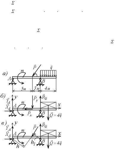
Пример 6.5. Определить опорные реакции для балки, изображенной на рис. 8.13. Дано: P = 100 H; q = 6 Н/м; m = 120
Н*м; = 45°.
Решение. Рассмотрим равновесие балки. Связями для балки являются неподвижный шарнир А и подвижная опора В
на катке. Реакция подвижной опоры RB перпендикулярна к
опорной плоскости катка, а реакцию неподвижной опоры RA
заменяем составляющими силами X A и YA .
Равнодействующая распределенной нагрузки Q = 4q
приложена в центре тяжести грузовой площади (рис. 8.13, б). |
|||
|
|
|
|
Силу |
P разложим по правилу параллелограмма на горизон- |
||
тальную и вертикальную составляющие: |
|
|
|
|
Px = P cos = = 100 cos 45° = 70,7 H, |
|
|
|
Py = P cos (90° - ) = 70,7 H. |
|
|
|
|
|
|
|
Согласно теореме Вариньона момент силы P относи- |
||
|
|
|
|
тельно любой точки равен сумме моментов сил Px |
и |
Py отно- |
|
сительно той же точки.
Составим уравнения равновесия согласно (8.9):
X =0; XA – Px = 0; XA = 70,7 H,
164
MA=0; |
- Py 5 + RB 8 – 4q 10 = 0; RB 59,2 H, |
MB=0; |
-YA 8 + Py 3 + m – 4q 2 = 0; YA 35,5 H. |
Повторим решение, используя уравнения (8.8). Два уравнения: X = 0; MA = 0 - уже были использованы. Из первого уравнения получена XA = 70,7 H, а из третьего - RB = 59,2 H.
Теперь составим второе уравнение Y= 0 и определим значе-
ние YA : Y= 0; YA - Ру + RB – 4q = 0; YA = 35,5H. Итак получе-
ны прежние значения реакций, что подтверждает правильность решения.
Примечание. При решении данной задачи можно было не
|
|
|
|
|
раскладывать силу P |
на составляющие Px |
и |
Py , а определить |
|
|
|
|
|
|
плечи h и h1 силы P |
относительно точек В и А. Так, h = 5 sin |
|||
= 3,54 м, a h1 = 3 sin |
|
= 2,1 м (рис. 8.13, в). |
|
|
Пример 8.6. К вертикальному столбу AB весом P1 = 4 кН, забетонированному нижним концом в горизонтальное основание, прикреплены в точках B и D провода, силы натяжения которых
P2= 1 кН и P3 = 3 кH. Размеры и углы указаны
на рис. 8.14, а и б. Определить реакции связей.
Решение. Пусть столб находится в равновесии. Связью является
жесткая заделка в гори-
зонтальное основание. Изображаем активные силы P1 , P12 , P3
165