Материал: Манипулятор

Внимание! Если размещение файла нарушает Ваши авторские права, то обязательно сообщите нам
  1. Технологический процесс

В курсовом проекте будет рассматриваться манипуляционный робототехнический комплекс (РТК) – AR-RTK-ML-02. Данный манипулятор предназначен для ознакомления с принципами проектирования и конструирования манипуляционных роботов, основам разработки управляющего программного обеспечения (ПО) и с базовыми принципами построения архитектур систем управления гибких производственных ячеек.

Технологический процесс работы манипулятора представляет собой условное перемещение объектов между тремя точками на плоскости. На рисунке 6 представлен график поворотов шарниров манипулятора для такого технологического процесса.

, град

Первый привод град

Четвёртый привод град

Пятый привод

t, с

Третий привод град

Второй привод град

Рисунок 6 – Графики поворотов шарниров манипулятора

При такой динамике поворотов приводов положение захвата будет иметь траекторию движения, представленную на рисунке 7.

l, мм

t, с

1

2

3

Рисунок 7 – Траектория движения конца захвата манипулятора: 1 – высота от основания платформы манипулятора; 2 – продольное расстояние от центра манипулятора по начальному положению манипулятора; 3 – поперечное направление от центра манипулятора по начальному положению манипулятора

3 Характеристика основного технологического оборудования

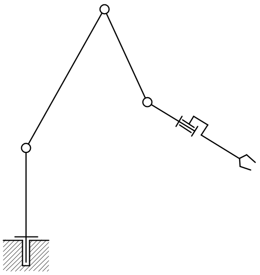
Манипулятор имеет пять вращательных степеней свободы и приводный захват. Его кинематическая схема изображена на рисунке 8. Схематические указания длин всех звеньев указаны на рисунке 9.

Рисунок 8 – Кинематическая схема манипулятора

Расстояния между осями манипулятор имеют следующие значения (рисунок 4):

  • расстояние между основанием и второй осью: 150 мм;

  • расстояние между второй и третьей осями: 210 мм;

  • расстояние между третьей и четвёртой осями: 135 мм;

  • расстояние между четвёртой осью и концом захвата: 184 мм;

  • глубина захвата: 42 мм;

  • максимальная ширина захвата 55 мм.

Рисунок 9 – Схематичное указание длин звеньев манипулятора в миллиметрах

Максимальные углы поворота приводов (считая от основания):

1 привода: ±180;

2 привода: –115  100;;

3 привода: –100  92;

4 привода: –100  84;;

5 привода: ±180;

6 привода: -180  52.

Так как в манипуляторе установлены сервопривода, которые нужно программировать. Сервопривода запускаются с помощью программируемого контроллера OpenCM9.04-C, который реализован на базе 32х-битного микроконтроллера ARM Cortex-M3. Контроллер содержит интерфейс TTL для управления сервомодулями типа Dynamixel.

Загрузка управляющих программ в контроллер осуществляется по USB кабелю (Micro-B), который входит в комплект. Контроллер OpenCM9.04-C легко программируется с помощью ROBOTIS OpenCM IDE, которая является Arduino-подобной интегрированной средой разработки, позволяющей пользователю разрабатывать управляющую программу на языках C/C++. Параметры контроллера указаны в таблице 1.

Таблица 1 – Спецификация контроллера

Тип

STM32F103CB (ARM Cortex-M3)

Рабочее напряжение

5~16 B (USB 5 B, DYNAMIXEL ( 7~12 B)

Рекомендуемое напряжение питания

5 B для питания посредством USB

Порты вводы-вывода

26

Аналоговые входы

10 (12-битный АЦП)

Объем Flash памяти

128 Кбайт

Объем SRAM памяти

20 Кбайт

Тактовая частота

72 МГц

Интерфейс USB

1 (2.0)

Интерфейс USART

3

Интерфейс SPI

2

Интерфейс I2C(TWI)

2

Отладочные порты

JTAG & SWD

Интерфейс TTL (3 пина)

4

Внешние порты для датчиков (5 пинов)

4

Габариты

27*66,5 мм

Вес

13г

4 Выбор двигателя

Т.к. манипулятор должен выполнять работу в любых областях его рабочей зоны любое количество времени, двигатели проверяются при работе манипулятора в самых тяжелых положениях.

В расчётах не учитывается инерция сочленений манипулятора из-за их незначительной инерции и веса относительно сервоприводов и груза. Так же не учитывается сила трения и сопротивление воздуха.

Статическая нагрузка на первый привод отсутствует.

Первый привод должен быть способен повернуться на 360о за 5 секунд. Значит, его угловое ускорение должно быть не меньше, чем:

Максимальная развиваемая скорость первого двигателя тогда должна быть не меньше, чем:

Максимальный приведённый момент инерции манипулятора при вращении по оси первого привода равен:

Тогда максимальный динамический момент первого привода равен:

Отсюда максимальный момент первого привода равен:

Максимальная статическая нагрузка на второй привод определяется:

Максимальный угол поворота второго привода равен:

Значит, угловое ускорение второго привода должно быть не меньше, чем:

Максимальная развиваемая скорость второго двигателя тогда должна быть не меньше, чем:

Максимальный приведённый момент инерции манипулятора при вращении по оси второго привода равен:

Тогда максимальный динамический момент второго привода равен:

Отсюда максимальный момент второго привода равен:

Максимальная статическая нагрузка на третий привод определяется:

Максимальный угол поворота третьего привода равен:

Значит, угловое ускорение третьего привода должно быть не меньше, чем:

Максимальная развиваемая скорость третьего двигателя тогда должна быть не меньше, чем:

Максимальный приведённый момент инерции манипулятора при вращении по оси третьего привода равен:

Тогда максимальный динамический момент третьего привода равен:

Отсюда максимальный момент третьего привода равен:

Максимальная статическая нагрузка на четвёртый привод определяется:

Максимальный угол поворота четвёртого привода равен: