Материал: m013800e

Внимание! Если размещение файла нарушает Ваши авторские права, то обязательно сообщите нам

5.3.4 Firmware information

These registers are used to read out information about the coupler or controller firmware.

Register

Designation

Access

Length

Default

Description

address

 

 

(word)

 

 

 

 

 

 

 

 

0x2010

Revison,

read

1

pu/co -

Firmware version (256* major + minor)

 

INFO_REVISION

 

 

 

e.g.: V2.5 = 0x0205

 

 

 

 

 

 

0x2011

Series code,

read

1

pu/co -

WAGO series number:

 

INFO_SERIES

 

 

 

750 for WAGO-I/O System

 

 

 

 

 

 

0x2012

Item number,

read

1

pu/co -

WAGO order number:

 

INFO_ITEM

 

 

 

312, 314, 315, 316 for coupler,

 

 

 

 

 

812, 814, 815, 816 for controller

 

 

 

 

 

 

0x2013

Major sub item code,

read

1

pu/co -

Extended WAGO order number.

 

INFO_MAJOR

 

 

 

Is used for special firmware versions or

 

 

 

 

 

settings:

 

 

 

 

 

0xFFFF for coupler/controller.

 

 

 

 

 

 

0x2014

Minor sub item code,

read

1

pu/co -

Extended WAGO order number.

 

INFO_MINOR

 

 

 

Is used for special firmware versions or

 

 

 

 

 

settings:

 

 

 

 

 

0xFFFF for coupler/controller.

 

 

 

 

 

 

0x2020

Description,

read

128

pu/co -

Brief description for this

 

INFO_DESCRIPTION

 

 

 

coupler/controller, max. 255 characters. If

 

 

 

 

 

not available the value 0xFF appears.

 

 

 

 

 

 

0x2021

Description,

read

16

pu/co -

Details of the manufacture time of the

 

INFO_TIME

 

 

 

firmware version, max. 31 characters. If

 

 

 

 

 

not available the value 0xFF appears.

 

 

 

 

 

 

0x2022

Description,

read

16

pu/co -

Details of manufacture date of the

 

INFO_DATE

 

 

 

firmware version, max. 31 characters. If

 

 

 

 

 

not available the value 0xFF appears.

 

 

 

 

 

 

0x2023

Description,

read

32

pu/co -

Details of the company and user of the

 

INFO_LOADER_INFO

 

 

 

firmware programming unit, max. 63

 

 

 

 

 

characters. If not available the value

 

 

 

 

 

0xFF appears.

 

 

 

 

 

 

Table 5.50: Firmware information

 

pu: Default value when switching voltage on, co: Constant

MODBUS / Configuration

71

15.12.99

5.3.5 General registers

The constants saved here can be used to test the communication with the master.

Register

Designation

Access

Length

Default

Description

address

 

 

(word)

 

 

 

 

 

 

 

 

0x2000

Zero, GP_ZERO

read

1

pu/co

Constant with zero.

 

 

 

 

0x0000

 

 

 

 

 

 

 

0x2001

Units, GP_ONES

read

1

pu/co

Constant with units. Is -1 if declared as ”signed

 

 

 

 

0xFFFF

int” or MAXVALUE if ”unsigned int”.

 

 

 

 

 

 

0x2002

1,2,3,4, GP_1234

read

1

pu/co

Constant value to test whether high and low

 

 

 

 

0x1234

bytes are changed over (Intel/Motorola format).

 

 

 

 

 

Should appear in the master as 0 x 1234. If

 

 

 

 

 

0 x 3412 appears the high and low byte must be

 

 

 

 

 

changed over.

 

 

 

 

 

 

0x2003

Mask1, GP_AAAA

read

1

pu/co

Constant to see if all bits are present. Is used

 

 

 

 

0xAAAA

together with register 0 x 2004.

 

 

 

 

 

 

0x2004

Mask2, GP_5555

read

1

pu/co

Constant to see if all bits are present. Is used

 

 

 

 

0x5555

together with register 0 x 2003.

 

 

 

 

 

 

0x2005

Largest positive

read

1

pu/co

Constant, to check the arithmetic.

 

number,

 

 

0x7FFF

 

 

GP_MAX_POS

 

 

 

 

 

 

 

 

 

 

0x2006

Largest negative

read

1

pu/co

Constant, to check the arithmetic.

 

number,

 

 

0x8000

 

 

GP_MAX_NEG

 

 

 

 

 

 

 

 

 

 

0x2007

Largest semi-positive

read

1

pu/co

Constant, to check the arithmetic.

 

number,

 

 

0x3FFF

 

 

GP_HALF_POS

 

 

 

 

 

 

 

 

 

 

0x2008

Largest semi-

read

1

pu/co

Constant, to check the arithmetic.

 

negative number,

 

 

0x4000

 

 

GP_HALF_NEG

 

 

 

 

 

 

 

 

 

 

Table 5.51: General registers

 

 

pu: Default value when switching on voltage ; co: constant

72

MODBUS / Configuration

15.12.99

6 Start-Up and Diagnosis

6.1 Run-up and error indications

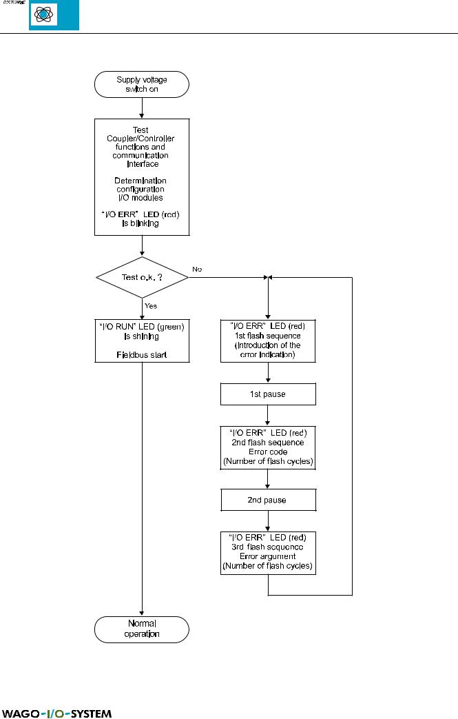
After the supply voltage connection the coupler/controller checks all the functions of its components and the communication interface. The configuration of the I/O modules is then determined. The 'I/O ERR' LED is blinking during the run-up time. The coupler/controller enters then the "fieldbus start" status after the successful run-up. The green "I/O RUN" LED indicates this status. If an error occurs, the red "I/O ERR" goes on blinking in a low frequency. The various types of error are indicated via up to 3 different flash sequences.

Display functions of the 'I/O ERR' LED:

1. Coupler/controller’s start-up phase after the supply voltage connection

2. Introduction of the error indication

3. Error code

(number of flash cycles 2nd flash sequence)

4.Error argument

(Number of flash cycles 3rd flash sequence)

Fig. 6.1: LED fieldbus start and error indication

1st flash sequence

1st pause

2nd flash sequence

2nd pause

3rd flash sequence

2nd flash sequence

3rd flash sequence

Meaning

 

 

 

Error code

Error argument

 

 

 

 

1

0

EEPROM check sum error

 

 

 

 

1

Internal storage overflow for the inline code

 

 

 

 

2

Unknown data type

 

 

 

2

0

Programmed process image assignement is not plausible

 

 

 

 

N (N>0)

Error in table comparison I/O module N (programmed

 

 

configuration), passive modules as well as potential supply modules

 

 

are not taken into account

 

 

 

3

0

I/O module(s) has (have) identified the internal bus command as

 

 

wrong

 

 

 

4

0

Data error at internal bus or internal bus break at coupler / controller

 

 

 

 

N (N>0)

Internal bus interrupted after N module

 

 

 

5

N

Internal bus error in the communication with N module

 

 

 

Table 6.1: Error diagnosis, nodes

MODBUS / Start-up and diagnosis

73

15.12.99

Fig. 6.2: Run-up coupler/controller

74

MODBUS / Start-up and diagnosis

15.12.99

6.2 MODBUS LED

Fig. 6.3: MODBUS LED

The four following LEDs indicate the status of the coupler/controller.

Status

LED

State

Description

 

 

 

 

Node is ready for communication

ON

shining

The node is working normally. The LED is out for a short time

 

 

 

when the receiver receives an incomplete frame or a frame for

 

 

 

another node.

 

 

 

 

Node transmits data

TXD

blinking

The node transmits a frame.

 

 

 

 

Node receives data

RXD

shining

The node receives a frame with own slave-address or

 

 

 

broadcast.

 

 

 

 

Node detects an frame with error

CRC

blinking

The received error code differs from the calculated code. The

code

 

 

information in the received frames when Error Check is

 

 

 

activated.

 

 

 

 

Only controller:

 

 

 

Flash

CRC

shining

The user programme is transferred from RAM to Flash

 

 

 

 

Table 6.2: : Status and error indication

 

 

 

You have access to the diagnosis functions via the following register too:

Register

Name

Access

Length

Default

Description

address

 

 

 

 

 

 

 

 

 

 

 

0x1020

LedErrCode

read

2++

pu

See LED description error code

 

 

 

 

0x0000

 

 

 

 

 

 

 

0x1021

LedErrArg

read

1

pu

See LED description error code

 

 

 

 

0x000

 

 

 

 

 

 

 

Table 6.3: Register for diagnosis functions

 

 

pu: standard value in case of voltage connection

MODBUS / Start-up and diagnosis

75

15.12.99