Материал: Лазерная обработка металлов

Внимание! Если размещение файла нарушает Ваши авторские права, то обязательно сообщите нам

Рисунок 2. Эскиз расположения ламп в цеху

4.2 Защита от шума

Зная, что материал стены - 1 кирпич: Lуст = 110 дБ, Вес 1 м2 перегородки Р = 417 кг.

. Определяем уровень шума в комнате с пультом управления:

 = Lуст. - R,

где эффективность звукоизолирующей преграды R=23lgP-9 (принимаем вес ограждения равный 417 кг/м2).

= 23lg417 - 9 = 51, 3 дБ

LK = Lуст. - R = 110 - 51,3 = 58,7 дБ

. Cопоставляем эффективность звукоизоляции с санитарными нормами.

 £ L доп

,7 дБ £ 78 дБ,

т.к. fср для стен 1 кирпич = 2000 Гц (по данным таблицы Допустимые уровни звукового давления, уровни звука и эквивалентного уровня звука на рабочих местах в производственных помещениях и на территории предприятий по ГОСТ 12.1.003-83 с дополнениями 1989 г.)

Для уменьшения шума применяют звукоизолирующие кожухи, экраны, кабины.

Задано производственное помещение, представляющее собой в плане прямоугольник со сторонами 25 и 15 м. Высота помещения 4,5 м.

Определить снижение шума от звукозащитных кабин, если в них использована звукопоглощающая облицовка. Размер одной кабины: 6м на 7м. Всего кабин в помещении - 6 штук.

Объем помещения одной кабины V1 = abH = 4,5∙6∙7 = 189 м3. Площадь одной кабины: S1 = 42∙2 + 117 = 201 м2, где площадь пола и потолка = 42 м2, площадь стен = 54+63 = 117 м2.

Для снижения шума предусматриваем звукопоглощающую облицовку потолка и части стен бокса, , начиная с высоты 2 м. Площадь облицовки одной кабины: Sобл1 = 42+65 = 107 м2.

Определим снижение шума в октавной полосе 63 Гц.

. Постоянная помещения при частоте 1000 Гц для одной кабины находится из таблицы, в зависимости от типа помещения:

В1000 = V/20 = 189/20 = 9,45 м2

. Частотный множитель m63 = 0,65. Постоянная помещения при частоте 63 Гц до облицовки:

В63 = m63 ∙ В1000 = 0,65 ∙ 9,45 = 6,14 м2

. Средний коэффициент звукопоглощения в помещении до установки облицовки:

a63 = В63/ (В63+S) = 6,14 / (6,14 + 201) = 0,03

. Коэффициент звукопоглощения предложенной конструкции aобл63 = 0,15

. Добавочное звукопоглощение, вносимое облицовкой:

DА63 = aобл63 ∙ Sобл = 0,15 ∙ 107= 16,05 м2

6. Эквивалентная площадь звукопоглощения поверхностями, не имеющими звукопоглощающей облицовки:

А163 = a63 ∙ (S - Sобл) = 0,03 ∙ (201 - 107) = 2,82 м2

. Средний коэффициент звукопоглощения помещения с установленной облицовкой:

a163 = (А163 + DА63) / S = (2,82 +16,05) / 201 = 0.094

. Постоянная помещения после облицовки определяется по формуле:

В163 = (А163 + DА63) / (1 - a163) = (2,82 + 16,05)/(1 - 0.094) = 21,32 м2

. Снижение уровня звукового давления:

DL63 = 10lg(B163/B63) = 10lg (21,32/6,14) = 5,4 дБ

Анализ результата расчета показывает, что облицовка в виде слоя супертонкого стекловолокна обеспечивает снижение шума в каждой кабине до 5,4 дБ.

4.3 Электробезопасность

Защитное заземление - преднамеренное электрическое соединение с землей или ее эквивалентом металлических нетоковедущих частей, которые могут оказаться под напряжением вследствие замыкания на корпус и по другим причинам (индуктивное влияние соседних токоведущих частей, вынос потенциала, разряд молнии и т.п.).

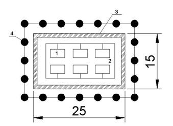
Здание имеет размеры - 25 на 15 м. Периметр = 80 м. Рассчитать сопротивление защитного заземления для электропитающей установки мощностью 25 кВт. Грунт - суглинок. Производственное здание размещено во второй климатической зоне. Сопротивление растекания естественного тока 20 Ом.

. Определение расчетного нормированного сопротивления.

Расчетное значение тока замыкания на землю может быть определено по следующей полуэмпирической формуле:


где Uë - линейное напряжение сети = 10кВ; lê, lâ - длина электрически связанных соответственно кабельных и воздушных линий, км. Принимаем значения линий как lê = 50 км, lâ = 60 км. Отсюда:

Iç = 10/350 ∙ (35∙50 + 60) = 51,71 А

Нормативное значение сопротивления заземляющего устройства Rз:

з = 125 / Iз = 125/51,71 = 2,32 Ом

При использовании естественных заземлителей требуемое сопротивление искусственного заземлителя Rи определяется по формуле:


где Rе - сопротивление растеканию тока естественных заземлителей, Ом; Rи - требуемое сопротивление искусственного заземлителя, Ом; Rз - расчетное нормированное сопротивление ЗУ, Ом;

Rи = (20 ∙ 2,32) / (20-2,32) = 2,62 Ом

. Определение расчетного удельного сопротивления грунта.


. Принимаем сопротивление естественных заземлителей равным Re = 20 Ом.

) Вычисляем сопротивление растеканию тока одиночного вертикального за-землителя Rв. В случае стержневого круглого сечения (трубчатого) заземлителя, заглубленного в землю, расчетная формула имеет вид:


где ρв - расчетное удельное сопротивление грунта, Ом·м,;

l - длина вертикального стержня, м;

d - диаметр сечения, мм;

t - расстояние от поверхности грунта до середины длины вертикального стержня, м;

t = l/2 + 0,7 = 3/2 + 0,7 = 2,2 м

t = 0,7




Рассчитаем приближенное количество вертикальных стержней:


где Rв - сопротивление растеканию тока одиночного вертикального заземлителя, Ом;и - требуемое сопротивление искусственного заземлителя, Ом;

n` = 52/2,62 = 19,8

Полученное число стержней округляем: n` = 20 штук

) Определяем конфигурацию группового заземлителя (контур) с учетом возможности его размещения на отведенной территории и соответствующую длину горизонтальной полосы:

г = 1,05∙а∙ п,

где а - расстояние между вертикальными стержнями, м,

п - количество вертикальных стержней.

а = k ∙ lв,

где k - коэффициент кратности, примем равным 2; lв - длина вертикального стержня, м.

а = 2∙3= 6м,г = 1,05∙6∙ 20 = 126 м.

Периметр здания = 80 м.

Вычисляем сопротивление растеканию тока горизонтального стержня Rг. В случае горизонтального полосового заземлителя расчет выполняется по формуле:


где ρ - расчетное удельное сопротивление грунта, Ом•м;- длина горизонтальной полосы, м;- ширина полосы, м;- расстояние от поверхности грунта до середины ширины горизонтальной полосы, м;

t = b/2 + 0,8 = 0,06/2 + 0,8 = 0,83 м

0,8 t

b

г = (145 / 2∙3,14∙126) ln ((2∙1262) / (0,06∙0,8)) = 0,82 Ом

Выбираем коэффициенты использования вертикальных стержней (ηв) и горизонтальной полосы (ηг) с учетом числа вертикальных стержней (п) и отношения расстояния между стержнями (а) к их длине (lв).

; ηг = 0,29; ηв = 0,58.

Рассчитаем эквивалентное сопротивление растеканию тока группового заземлителя:

,

где Rв, Rг - соответственно сопротивления вертикального стержня и горизонтальной полосы, Ом;

ηв, ηг - соответственно коэффициенты использования вертикальных стержней и горизонтальной полосы, Ом;- количество вертикальных стержней.

Rгр = (52∙0,82) / (52∙0,29+0,82∙0,58∙20) = 1,73

Полученное сопротивление растеканию тока группового заземлителя не должно превышать требуемое сопротивление: Rгр ≤ Rи,

,73 < 2,62, т.е. полученное сопротивление удовлетворяет необходимому условию.

- заземляемое оборудование; 2 - заземлительный контур; 3 - стены здания; 4 - заземлитель.

Рисунок 3. Эскиз расположения заземлителей.

Заключение

Основными преимуществами лазерной обработки материалов является:

1.       Разнообразие возможных процессов обработки и разнообразие обрабатываемых материалов (включая материалы, которые вообще не поддаются механической обработке);

2.      Высокая скорость выполнения операций по обработке материала;

.        Возможность автоматизации операций и, как следствие (с учетом предыдущего пункта), существенное повышение производительности труда;

.        Высокое качество обработки (прочность сварных швов, гладкость срезов, отсутствие загрязнений обрабатываемой поверхности);

.        Селективность (избирательность) воздействия, когда обрабатываются лишь определенные участки поверхности, а соседние участки не подвергаются при этом каким-либо воздействиям;

.        Осуществление дистанционной обработки материала;

.        Выполнение ряда уникальных операций, в том числе контрольных операций.

В данной работе были обобщены современные представления о лазерной сварке металлов и сплавов на основе сопоставления с традиционными способами сварки, что позволило установить области эффективного использования лазерного излучения при изготовлении сварных соединений и конструкций.