Материал: Лазерная обработка металлов

Внимание! Если размещение файла нарушает Ваши авторские права, то обязательно сообщите нам

4)  Лазеры с квантовым каскадом на спирте или этиленгликоле.

Позволяют осуществлять перестройку длины волны излучения в диапазоне от 350 нм до 850 нм (в зависимости от типа красителя). Применение - спектроскопия, медицина (в т.ч. фотодинамическая терапия), фотохимия высокоэнергетических импульсов.

.7 Физико-химические процессы, проходящие в металле

Металл представляет собой трехмерную решетку из положительных ионов, которая погружена в газ электронов проводимости, связанных с ионной решеткой силами электростатического притяжения.

В видимом и инфракрасном диапазонах частот все излучение, которое не отражается от металла, поглощается им в весьма тонком поверхностном скин-слое (толщиной 10-5...10-6 см) на электронах проводимости. Это позволяет упростить описание и рассматривать лишь два процесса: отражение и поглощение, пренебрегая процессом распространения излучения в металле.

Для жидких и твёрдых тел поведение электронов, определяющих оптические свойства атома, резко меняются под действием полей соседних атомов. Поглощение твёрдых тел характеризуется, как правило, очень широкими областями (сотни и тысячи нм); качественно это объясняется тем, что в конденсированных средах сильное взаимодействие между частицами приводит к быстрой передаче энергии, отданной светом одной из них всему коллективу частиц.

Поглощенная энергия распространяется в веществе за счет различных механизмов теплопроводности. Для металлов основной является электронная теплопроводность.

2. АНАЛИЗ РЕАЛИЗАЦИИ ИССЛЕДУЕМОЙ ТЕХНОЛОГИИ НА ВЫБРАННОМ ПРОИЗВОДСТВЕННОМ УЧАСТКЕ

.1 Потенциальная опасность лазеров

Видимое, а также ближнее инфракрасное и ультрафиолетовое лазерное излучение представляет из себя существенную опасность для глаз, так как это излучение хорошо фокусируется хрусталиком на сетчатке глаза. В то же время бытовые лазерные приборы имеют малую ширину пучка (порядка 3-5 мм), что обеспечивает высокую поверхностную плотность энергии в поперечном сечении луча. Именно высокая плотность энергии и может вызвать ожоги и другие повреждения.

На значительном расстоянии лазерный луч также может представлять опасность, ввиду того, что расходимость сравнима с дифракционной расходимостью при заданной апертуре. Поэтому высокая плотность энергии сохраняется на значительном расстоянии.

Лабораторные лазерные установки могут иметь среднюю мощность, доходящую до десятков и сотен ватт. При работе с такими установками требуется строжайшее соблюдение техники безопасности и специальная подготовка персонала.

Лазеры, излучающие вне видимого диапазона, представляют особую опасность в связи с тем, что человеческий глаз неспособен определить местоположение луча. При попадании в глаз такой луч будет замечен лишь тогда, когда поражение глаза уже наступило. Однако лазеры с достаточно большой длиной волны излучения (1,5 мкм) не проходят через внешние оболочки глаза и при малой мощности опасности не представляют. В этом случае поражение глаз возможно только при мощности, достаточной для разрушения роговицы глаза. Также многие виды излучения свободно проходят препятствия из оптически непрозрачных материалов (излучение на частотах 1-50ТГц проходит через лавсановую пластинку, в то время как для оптического и ИК излучения она является непрозрачной).

Существует мнение, что лазеры терагерцового диапазона излучения способны разрушать спираль ДНК, что может приводить к мутациям клеток.

.2 Классификация и средства защиты

Лазеры являются устройствами, представляющими повышенную опасность. Хотя существуют несколько факторов риска, связанных с лазерными установками, под лазерной безопасностью понимают способы защиты от факторов, связанных непосредственно с лазерным излучением.

Даже лазеры самой малой мощности (несколько милливатт) могут представлять опасность для зрения. При попадании в глаз луч лазера фокусируется в пятно очень малых размеров, что может за доли секунды привести к ожогам сетчатки глаза, частичной или полной необратимой потере зрения. Лазеры большей мощности способны вызывать поражения глаз даже рассеянным излучением. Прямое, а в некоторых случаях и рассеянное излучение такого лазера способно вызывать ожоги кожи (вплоть до полного разрушения) и представляет пожарную опасность.

По степени опасности генерируемого излучения для обслуживающего персонала лазеры подразделяются на четыре класса:

·        Класс 1. Лазерные изделия безопасные при предполагаемых условиях эксплуатации (выходное излучение не опасно для глаз).

·        Класс 2. Лазерные изделия, генерирующие видимое излучение в диапазоне длин волн от 400 до 700 нм. Защита глаз обеспечивается естественными реакциями, включая рефлекс мигания.

Примечание - Условия безопасного наблюдения диффузного отражения для лазерных изделий класса 3В в видимой области: минимальное расстояние для наблюдения между глазом и экраном - 13 см, максимальное время наблюдения - 10 с.

·        Класс 4. Лазерные изделия, создающие опасное рассеянное излучение. Они могут вызвать поражение кожи, а также создать опасность пожара. При их использовании следует соблюдать особую осторожность.

Эта градация определена ГОСТ Р 50723-94 «Лазерная безопасность. Общие требования безопасности при разработке и эксплуатации лазерных изделий».

В качестве ведущих критериев при оценке степени опасности генерируемого лазерного излучения приняты величина мощности (энергии), длина волны, длительность импульса и экспозиция облучения.

Предельно допустимые уровни, требования к устройству, размещению и безопасной эксплуатации лазеров регламентированы «Санитарными нормами и правилами устройства и эксплуатации лазеров» № 2392-81, которые позволяют разрабатывать мероприятия по обеспечению безопасных условий труда при работе с лазерами. Санитарные нормы и правила позволяют определить величины ПДУ для каждого режима работы, участка оптического диапазона по специальным формулам и таблицам. Нормируется энергетическая экспозиция облучаемых тканей. Для лазерного излучения видимой области спектра для глаз учитывается также и угловой размер источника излучения.

Предельно допустимые уровни облучения дифференцированы с учетом режима работы лазеров:

·        непрерывный режим,

·        моноимпульсный,

·        импульсно-периодический.

Основными нормативными правовыми актами при оценке условий труда с оптическими квантовыми генераторами являются:

1.      «Санитарные нормы и правила устройства и эксплуатации лазеров» № 2392-81;

2.      Методические рекомендации «Гигиена труда при работе с лазерами», утвержденные МЗ РСФСР 27.04.81 г.;

.        ГОСТ 24713-81 «Методы измерений параметров лазерного излучения»;

.        Классификация: ГОСТ 24714-81 «Лазеры. Методы измерения параметров излучения»;

.        Общие положения: ГОСТ 12.1.040-83 «Лазерная безопасность. Общие положения»;

.        ГОСТ 12.1.031-81 «Лазеры. Методы дозиметрического контроля лазерного излучения».

Предупреждение поражений лазерным излучением включает систему мер инженерно-технического, планировочного, организационного, санитарно-гигиенического характера.

При использовании лазеров 2-3 классов в целях исключения облучения персонала необходимо либо ограждение лазерной зоны, либо экранирование пучка излучения. Экраны и ограждения должны изготавливаться из материалов с наименьшим коэффициентом отражения, быть огнестойкими и не выделять токсических веществ при воздействии на них лазерного излучения.

Лазеры 4 класса опасности размещаются в отдельных изолированных помещениях и обеспечиваются дистанционным управлением их работой.

При размещении в одном помещении нескольких лазеров следует исключить возможность взаимного облучения операторов, работающих на различных установках.

Не допускаются в помещения, где размещены лазеры, лица, не имеющие отношения к их эксплуатации. Запрещается визуальная юстировка лазеров без средств защиты.

Для удаления возможных токсических газов, паров и пыли оборудуется приточно-вытяжная вентиляция с механическим побуждением. Для защиты от шума принимаются соответствующие меры звукоизоляции установок, звукопоглощения и др.

К индивидуальным средствам защиты, обеспечивающим безопасные условия труда при работе с лазерами, относятся специальные очки, щитки, маски, обеспечивающие снижение облучения глаз до ПДУ. Средства индивидуальной защиты применяются только в том случае, когда коллективные средства защиты не позволяют обеспечить требования санитарных правил.

.3 Интегральная оценка тяжести труда

Расчет интегральной оценки тяжести и напряженности труда производят по формуле:

T = [ Xmax + ((6-Xmax) ∕ 6∙(N-1)) ∙ ∑Xi ]

T = [5 + ((6-5) ∕ 6∙(14-1))∙(1+3+5+1+2+2+4+4+1+1+2+1+1+2)] ≈ 5, 3

Где Хmax -наивысшая из полученных частных бальных оценок;

N - число факторов технологического процесса;

n - число учитываемых факторов, без одного Хmax ;

Хi - балльная оценка учитываемого i-го фактора;

Т - интегральная оценка тяжести труда.

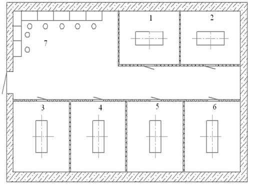
Рисунок 1. Эскиз плана цеха

- 6 - рабочие зоны лазерных установок, находящиеся в одном помещении, но разделенные между собой; 7 - рабочие места операторов установок.

Таблица 1.

Интегральная оценка тяжести труда

Фактор рабочей среды и условий труда

Значения показателя фактора (Хi)

Бальная оценка

Фактическая продолжительность действия фактора, мин

Оценка тяжести рабочей среды


Средняя температура воздуха на рабочем месте, °С:

20ºC

1

480

1


Вредные вещества, кратность превышения ПДК

2,5

3

240

3


Тепловое излучение, Вт/см2

0,35

5

420

5


Промышленная пыль, кратность превышения ПДК раз

-

1

480

1


Ультразвук в воздухе, ПДУ плюс превышение, дБ

+5

2

420

2


Электромагнитное излучение ВЧ - и СВЧ

ПДУ

480

2


Промышленный шум, превышение ПДУ, дБ

93 дБ

4

420

4


Вибрация, кратность превышения ПДУ

+6

4

420

4


Рабочее место (РМ), поза и перемещение в пространстве

2

1

480

1


Сменность

1

1

240

1


Длительность сосредоточенного наблюдения, %

>50

2

420

2


Число важных объектов наблюдения

5

1

420

1


Напряжение памяти: необходимость помнить об элементах работы свыше двух часов

1

1

420

1


Нервно-эмоциональная нагрузка

0,6

2

420

2


Исходя из полученного значения интегральной оценки, определяем, что категория тяжести труда в данном рабочем помещении соответствует IV.

К четвертой категории тяжести относятся работы, при выполнении которых в организме исполнителя формируется глубокое пограничное функциональное состояние. Для этой категории характерно снижение работоспособности, повышается уровень общей заболеваемости, появляются производственно обусловленные заболевания, растет количество и тяжесть производственных травм.

В зависимости от типа, конструкции и целевого назначения лазеров и лазерных установок на обслуживающий персонал могут воздействовать следующие опасные и вредные факторы:

лазерное излучение (прямое, отраженное и рассеянное);

сопутствующие ультрафиолетовое, видимое и инфракрасное излучения от источников накачки, плазменного факела и материалов мишени;

высокое напряжение в цепях управления и источниках электропитания;

электромагнитное излучение промышленной частоты и радиочастотного диапазона;

рентгеновское излучение от газоразрядных трубок и других элементов, работающих при анодном напряжении более 5 кВ;

шум;

вибрация;

токсические газы и пары от лазерных систем с прокачкой, хладагентов и др.;

продукты взаимодействия лазерного излучения с обрабатываемыми материалами;

повышенная температура поверхностей лазерного изделия;

опасность взрыва в системах накачки лазеров.

При эксплуатации и разработке лазерных изделий необходимо учитывать также возможность взрывов и пожаров при попадании лазерного излучения на горючие материалы.

3. ПЕРЕЧЕНЬ МЕРОПРИЯТИЙ ПО СНИЖЕНИЮ УРОВНЯ ВОЗДЕЙСТВИЯ ОПАСНЫХ И ВРЕДНЫХ ФАКТОРОВ

3.1 Защита от шума

лазерный обработка металл сварка

Эксплуатация современного промышленного оборудования и средств транспорта сопровождается значительным уровнем шума и вибрации, негативно влияющих на состояние здоровья работающих. С точки зрения безопасности труда шум и вибрация - одни из наиболее распространенных вредных производственных факторов на производстве, которые при определенных условиях могут выступать как опасные производственные факторы.

Шум - это сочетание звуков различной частоты и интенсивности. С физиологической точки зрения шумом называют любой нежелательный звук, оказывающий вредное воздействие на организм человека.

Борьба с шумом осуществляется различными методами и средствами:

·        снижение мощности звукового излучения машин и агрегатов;

·        локализация действия звука конструктивными и планировочными решениями;

·        организационно-техническими мероприятиями;

·        лечебно-профилактическими мерами;

·        применением средств индивидуальной защиты работающих.

На производстве снижение шума на пути его распространения достигается путем проведения строительно-акустических мероприятий. Для этого устанавливают кожухи, экраны, звукоизолирующие перегородки между помещениями, звукопоглощающие облицовки, глушители шума. Под акустической обработкой помещений понимается облицовка части внутренних поверхностей ограждений звукопоглощающими материалами, а также размещения в помещениях штучных поглотителей.