Материал: Лабораторный практикум Ч 1

Внимание! Если размещение файла нарушает Ваши авторские права, то обязательно сообщите нам

ЛАБОРАТОРНАЯ РАБОТА 4

ИЗУЧЕНИЕ РАБОТЫ ЦЕНТРОБЕЖНОГО НАСОСА

Для перемещения различных жидкостей в химической промышленности широко используются центробежные насосы. В этих насосах всасывание и нагнетание осуществляется непрерывно и равномерно под действием центробежной силы инерции, возникающей при вращении рабочего колеса с лопатками, расположенного в улиткообразном корпусе.

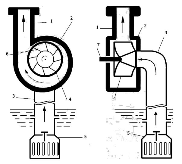
На рис. 4.1 показана схема одноступенчатого центробежного насоса.

Рис. 4.1. Схема одноступенчатого центробежного насоса:

1 – нагнетательный патрубок; 2 – корпус; 3 – всасывающий патрубок; 4 – рабочее колесо; 5 – клапан с сеткой; 6 – лопатки колеса; 7 – вал

31

Основным рабочим элементом центробежного насоса является рабочее колесо 4 с лопатками 6, помещённое на валу 7 внутри неподвижного корпуса 2 спиралевидной формы. Рабочее колесо состоит из двух дисков: переднего и заднего. Между дисками находятся лопатки 6. Корпус насоса соединен патрубками с трубопроводами – всасывающим 3 и нагнетательным 1. На всасывающем трубопроводе размещён клапан с сеткой 5, предохраняющий насос от опорожнения при остановках.

Основными параметрами работы насосов являются: производительность – V , напор – Н, потребляемая мощность – Nе, коэффициент полезного действия (КПД) – ηн. Все эти параметры работы центробежного насоса зависят от числа оборотов рабочего колеса – n. При постоянном числе оборотов (n = const) значения Н, Nе, ηн зависят только от производительности. Производительность V регулируется степенью открытия вентиля на напорной линии насоса (нагнетательном трубопроводе). Графические зависимости параметров Н, Nе, ηн от производительности V при постоянном числе оборотов рабочего колеса насоса называют рабочими характеристиками (рис. 4.2).

Рис. 4.2. Рабочие характеристики центробежного насоса, полученные экспериментально при постоянном числе оборотов рабочего колеса (n = const)

32

Рабочие характеристики получают при испытании центробежного насоса при постоянном числе оборотов рабочего колеса n, изменяя производительность насоса от нуля до максимальной при помощи вентиля на нагнетательном трубопроводе.

Располагая рабочими характеристиками насоса, можно выбрать наиболее благоприятный режим его эксплуатации, т.е. режим, обеспечивающий максимальный коэффициент полезного действия ηн.

При изменении числа оборотов рабочего колеса n в некоторых пределах (не более чем в 2 раза) изменение производительности, напора и полезной мощности с точностью, необходимой при технических расчетах можно определять согласно законам пропорциональности:

n2

 

V

 

n2

 

H

2

n2

2

Nе 2

n2

3

 

2,

 

2

 

 

,

 

 

 

,

 

 

 

 

.

 

 

 

 

 

 

 

 

 

n

 

 

V n

 

H

n

 

N

е 1

n

 

1

 

1

 

1

 

 

1

1

 

 

1

 

Если давление во всасывающем трубопроводе насоса измеряется вакуумметром, а давление в нагнетательном трубопроводе насоса измеряется манометром и при этом точки подсоединения этих приборов к гидравлической системе находятся в непосредственной близости от самого насоса (например, «точка 1» – у всасывающего патрубка, а «точка 2» – у нагнетательного), то искомый напор определяется по формуле:

 

p

p

v 2

v

2

 

 

H

ман

вак

 

н

вс

h

,

(4.1)

 

 

 

g

 

2 g

 

0

 

 

 

 

 

 

где рман – избыточное давление в нагнетательном патрубке насоса (по показаниям манометра); рвак – разрежение во всасывающем патрубке (по показаниям вакуумметра); vн и vвс – скорости в линии нагнетания и всасывания, соответственно; h0 – расстояние по вертикали от точки присоединения вакуумметра до центра манометра.

Полезная мощность, или энергия, сообщённая насосом перекачиваемой жидкости за единицу времени вычисляется по формуле:

Nпол V g H .

(4.2)

Коэффициент полезного действия насоса определяется выражением:

33

 

 

Nпол

,

(4.3)

 

н

 

Ne

 

 

 

 

где Nе – мощность на валу насоса.

 

 

 

 

Коэффициент полезного действия всей насосной установки

опреде-

ляется как произведение:

 

 

 

 

уст дв пер н ,

(4.4)

где ηдв – КПД двигателя; ηпер – КПД передачи; ηн – КПД насоса.

КПД насосной установки определяется также как отношение полезной мощности Nпол к мощности потребляемой из электрической сети Nдв:

 

уст

 

Nпол

.

(4.5)

 

 

 

Nдв

 

 

 

 

 

Насос 1

Цель работы: практическое ознакомление с насосной установкой, определение опытным путём рабочих характеристик центробежного насоса (зависимости напора, коэффициента полезного действия, потребляемой мощности от производительности насоса).

Описание установки

Вид и схема лабораторной установки изображены на рис. 4.3 и 4.4. Основным элементом лабораторной установки является двухступен-

чатый центробежный насос Н, рабочее колесо которого приводится во вращение электродвигателем переменного тока ЭД номинальной мощностью 1,25 кВт.

Рабочая жидкость (вода) – перекачивается насосом из резервуара Р, расположенного ниже уровня пола, в ёмкость Е1 по трубопроводу, состоящему из линии всасывания и линии нагнетания, размер которых одинаков и составляет 32 5 мм (рис. 4.4). Линия всасывания оборудована обратным клапаном К, предотвращающим сток жидкости из неработающего насоса в резервуар Р.

34

На линии всасывания установлен вакуумметр (поз. 1 на рис. 4.3 и 4.4); на линии нагнетания установлен манометр (поз. 2 на рис. 4.3 и 4.4). Потребляемая из сети электрическая мощность измеряется ваттметром (расположен на стене).

Расход перекачиваемой жидкости регулируется вентилем В1 (рис. 4.3

и 4.4).

Для измерения расхода воды установка оборудована ротаметром РТ, а приёмная ёмкость Е1 снабжена водомерным стеклом (поз. 3 на рис. 4.4) с отградуированной шкалой.

Рис. 4.3. Лабораторная установка (насос 1):

1 – вакуумметр; 2 – манометр; Н – насос; ЭД – электродвигатель; РТ – ротаметр; В1, В4 – вентили на нагнетательном

и всасывающем трубопроводе соответственно

35