Материал: Курсовой проектУЭР

Внимание! Если размещение файла нарушает Ваши авторские права, то обязательно сообщите нам

СОДЕРЖАНИЕ

Введение……………………………………………………………………………...

1 Технико-эксплуатационная характеристика района управления дороги……..

1.1 Характеристика технического оснащения полигона и заданных участков железной дороги…………………………………………………………………

1.2 Эксплуатационная характеристика участков железной дороги……………..……………………………………………………………...

1.2.1 Разработка "шахматки" и построение диаграммы груженых вагонопотоков……………………………………………….……………..

1.2.2 Определение потребности порожних вагонов и разработка схемы продвижения порожних вагонопотоков…………………………………..

1.3 Краткие выводы…………………………………………………………….

2 Организация местной работы на участках района управления……………….

2.1 Построение диаграммы местных вагонопотоков………………………...

2.2 Технология работы с местными вагонами на участках………………….

2.2.1 Определение категории и числа местных поездов…………………

2.2.2 Выбор схемы прокладки сборных поездов на графике….. 2.2.3 Определение времени стоянок сборных поездов на промежуточных станциях участка…………………………………………………………….

2.3 Построение суточного плана-графика местной работы участка………..

2.4 Расчет показателей суточных планов-графиков местной работы………

3 Расчет и анализ пропускной способности перегонов района управления……

3.1 Определение расчетных размеров движения поездов и составление диаграммы поездопотоков……………………………………………………..

3.2 Расчет станционных и межпоездных интервалов………………………..

3.2.1 Расчет интервала неодновременного прибытия поездов………….

3.2.2 Расчет интервала скрещения поездов……………………………….

3.2.3 Расчет интервала между поездами в пакете………………………..

3.2.4 Расчет интервала попутного прибытия…………………………..…

3.2.5 Расчет интервала попутного оправления…………………………...

3.3 Расчет наличной пропускной способности перегонов железных дорог…

3.3.1 Расчет наличной пропускной способности однопутного участка...

3.3.2 Расчет наличной пропускной способности двухпутного участка...

3.4 Расчет потребной пропускной способности……………………………...

3.5 Сравнение наличной и потребной пропускных способностей участков...

3.6 Краткие выводы……………………………………………………………

4 Разработка графика движения поездов………………………………………….

4.1 Прокладка поездов на графике…………………………………………….

4.2 Расчет показателей графика движения поездов…………………………..

Заключение………………………………………………………………………….

Список использованных источников……………………………………………...

Приложение А Суточный план-график работы участка Д-П по первому варианту………………………………………………………………………………

Приложение Б Суточный план-график работы участка Д-П по второму варианту……………………………………………………………………………...

Приложение В График движения поездов…………………………………………

ВВЕДЕНИЕ

В условиях структурной реформы и перехода на совершенно новый уровень взаимоотношений внутри ОАО "РЖД" перед железнодорожными подразделениями особенно остро стоят проблемы комплексного развития и повышения эффективности использования транспортных средств, ускорения оборота подвижного состава, увеличения массы и скорости движения поездов, строгого выполнения графика движения поездов и обеспечения безопасности движения. Для выполнения поставленных задач нужны грамотные высокопрофессиональные специалисты, хорошо знающие классические основы эксплуатационной работы и способные эффективно использовать эти знания применительно к новым условиям.

При выполнении курсового проекта необходимо решить следующие задачи:

 определить количественные показатели, регламентирующие работу подразделений дороги;

 разработать технологию организации местной работы районов управления и участков дорог;

 рассчитать пропускную способность участков дорог;

 разработать график движения поездов на участке и обосновать его элементы.

1 Технико-эксплуатационная характеристика района управления дороги

1.1 Характеристика технического оснащения полигона и заданных участков железной дороги

Схема железнодорожного полигона, обращения локомотивов и работы локомотивных бригад в грузовом движении приведена на рисунке 1.1.

Рисунок 1.1 – Схема полигона железной дороги

Полигон дороги включает в себя двухпутное направление Б-Л и однопутные участки В-И, Д-П, К-М. Кроме того, дорога имеет междорожные стыковые пункты с соседними дорогами на станциях Б, И, П, М и Л.

На дороге имеется 10 технических станций. Из них 9 - участковые. Станция Д является сортировочной. На каждом перегоне между техническими станциями располагается по 9 промежуточных станций. Каждая техническая станция является пунктом смены локомотивной бригады. Локомотивы обращается по кольцевому способу от Б до Л, заходя в основное депо Д для ТО.

Согласно заданию данного курсового проекта более подробно опишем техническую характеристику участков П-Д и Г-Д.

Участок Г-Д - двухпутный, оборудован автоблокировкой. Протяженность перегона составляет 155 км. Участок обслуживается электровозами. Весовая норма сквозных, сборных, вывозных поездов равна 4750 т. Вес вагона брутто – 68 т. Все раздельные пункты на данном участке оборудованы электрической централизации стрелок и сигналов.

Участок Д-П - однопутный, также оборудован автоблокировкой. Длина перегона 100 км. Перегон обслуживается тепловозам. Весовая норма у сквозных, сборных, вывозных поездов составляет 4400 т. Вес вагона брутто – 75 т. Все раздельные пункты на данном перегоне оборудованы электрической централизации стрелок и сигналов.

Схема района управления Г-Д-П представлена на рисунке 1.2.

Рисунок 1.2 – Схема района управления Г-Д-П

Станция Д является узловой сортировочной станцией станцией. С числом путей, равным:

  • парк приема – 10 путей;

  • парк отправления – 12 путей;

  • сортировочный парк – 28 путей.

Все пути в парках станции рассчитаны на приемку составов с условной длиной 71 вагон. Сортировочный парк оборудован сортировочной горкой.

Кроме того, на станции имеется 4 вытяжных пути, технический парк, локомотивное хозяйство, вагонное хозяйство, грузовой район, парк почтово-багажных устройств.

Станции Г, П – участковые станции с числом путей равным:

  • парк приема – 6 путей;

  • парк отправления – 5 путей;

  • сортировочный парк – 6 путей.

На станциях также имеются по 2 вытяжных пути.

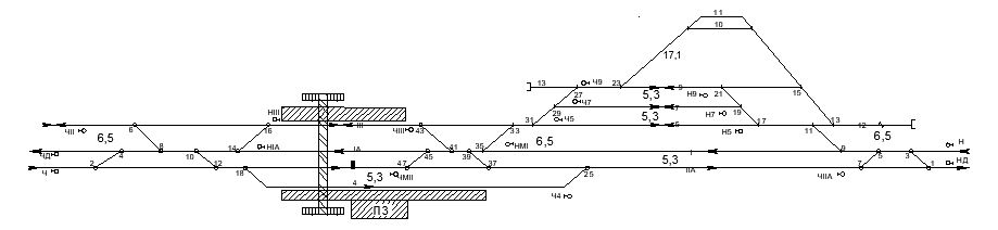
Типовая схема узловой сортировочной станции приведена на рисунке 1.3.

Станция П является промежуточной поперечного типа. На данной станции грузовые устройства расположены со стороны, противоположной пассажирскому зданию. Кроме главного пути на станции имеется еще 3 приемотправочных пути. Сборные поезда обоих направлений принимаются только на приемо-отправочные пути, ближайшие к грузовым устройствам. Конструкция горловины, к которой примыкает вытяжной путь, позволяет производить маневровую работу со сборным поездом одновременно с приемом грузовых поездов из «п» на 4 путь или с отправлением на «п» с этого пути. На данной станции имеется четкое разграничение пассажирских и грузовых устройств, а также обеспечивается изолированность маневровой работы сос борными поездами от пропуска пассажирских поездов.

Типовая схема промежуточной станции приведена на рисунке 1.4.

Рисунок 1.3 – Типовая схема сортировочной станции

Рисунок 1.4 – Типовая схема промежуточной станции

1.2 Эксплуатационная характеристика участков железной дороги

1.2.1 Разработка «шахматки» и построение диаграммы груженых вагонопотоков

Груженые вагонопотоки района управления разделяются по следующим видам сообщений: транзит, ввоз, вывоз, местные сообщения.

Транзит (Uтр) – вагоны, погруженные и выгружаемые за пределами рассматриваемого района управления.

Вывоз (Uвыв) – вагоны, погруженные на станциях данного района управления и выгружаемые на станциях других РУ или дорог.

Ввоз (Uвв) – вагоны, погруженные за пределами данного РУ и выгружаемые на станциях данного РУ.

Местное сообщение (Uм.с.) – вагоны, с которыми погрузка и выгрузка выполняется на станциях данного РУ.

На основании исходных корреспонденций груженых вагонопотоков в месяц максимальных перевозок для участков Г-Д и П-Д разработана «шахматка» среднесуточных груженых вагонопотоков для заданного РУ. «Шахматка» содержит четыре сектора, каждый из которых соответствует определенному виду сообщения. «Шахматка» для района управления Г-Д-П представлена в таблице 1.1.

На основании разработанной «шахматки» определим следующие показатели района управления:

Прием груженых вагонов:

, (1.1)

.

Сдача груженых вагонов:

, (1.2)

.

Погрузка:

, (1.3)

.

Выгрузка:

, (1.4)

.

Общая работа района управления:

, (1.5)

На основании данных таблицы 1.1 построим схему груженых вагонопотоков по видам сообщений, которая представлена на рисунке 1.5.

1.2.2 Определение потребности порожних вагонов и разработка схемы продвижения порожних вагонопотоков

Потребность в порожних вагонах для обеспечения погрузки или размеров сдачи порожних из-под выгрузки по регулировочному заданию определяется для РУ на основании таблицы 1.1. Расчеты ведутся по форме таблиц 1.2 и 1.3. При этом соблюдаются следующие условия:

- все вагоны взаимозаменяемы, поэтому расчет ведется по их общему парку;

- должен быть равночисленный обмен вагонов по стыковым пунктам (по рассматриваемому стыковому пункту сумма принимаемых груженых и порожних вагонов должна быть равна сумме сдаваемых груженых и порожних вагонов);

- если на станции или участке Uп > Uв, то присутствует недостаток порожних вагонов, который необходимо восполнить. В противном случае присутствует избыток порожних вагонов, которые необходимо отправить по направлению общего следования порожнего вагонопотока.

Таблица 1.2 – Обмен вагонами по стыковым пунктам района управления Г-Д-П

Стыковые пункты

Прием вагонов

Сдача вагонов

груженые

порожние

итого

груженые

порожние

итого

Г

3365

-

3365

3155

210

3365

Д

3720

120

3840

3840

-

3840

П

870

-

870

795

75

870

Итого

7955

120

8075

7790

285

8075

Таблица 1.3 – Баланс порожних вагонов по станциям и участкам района управления Г-Д-П

Станции и участки

Погрузка

Выгрузка

Баланс порожних вагонов

Избыток(+)

Недостаток(-)

Г

295

225

-

70

Г-Д

160

80

-

80

Д

410

755

345

-

Д-П

160

75

-

85

П

310

365

55

-

Итого

1335

1500

400

235