Материал: Курсовой проектЖДСУ2

Внимание! Если размещение файла нарушает Ваши авторские права, то обязательно сообщите нам

Оптимальное значение загрузки элементов горловины следует принимать в интервале 0.7 – 0.8. Максимальная загрузка не должна превышать 0.85. Наиболее загруженным является элемент 9.

Загрузка горловины является оптимальной.

4.2 Расчет пропускной способности горловины станции

Для расчета пропускной способности горловины при помощи коэффициента использования пропускной способности определены наиболее загруженные элементы горловины (расчетные элементы) и общее время занятия этих элементов по формуле:

где – продолжительность занятия расчетного элемента в течение суток поездными и маневровыми передвижениями;

– коэффициент, учитывающий отказы устройств ЭЦ.

Влияние возможных перерывов в использовании стрелок элемента из-за враждебных передвижений по остальным элементам горловины учитывают коэффициентом :

где – параметр, характеризующий сложность работы рассматриваемой горловины:

где – общее количество маршрутов в рассматриваемой горловине;

– количество маршрутов с занятием расчетного элемента горловины;

– наибольшее возможное количество одновременно выполняемых в горловине передвижений.

Коэффициент использования пропускной способности горловины:

где – время занятия горловины постоянными операциями, не зависящими от размеров движения (время выполнения работ по техническому обслуживанию и плановым видам ремонта пути и контактной сети, пропуск и смена локомотивов пассажирских, пригородных, сборных поездов), 60 мин/сут;

Для маршрутов, связанных с выполнением операций, зависящих от размеров движения, пропускная способность с точностью до одной транспортной единицы составит:

где – среднесуточное количество маршрутов i-го вида.

Расчет пропускной способности горловины представлен ниже. За расчетный принят элемент под номером 14.

Расчеты произведены для четного транзитного поездопотока по прибытию и по отправлению и представлены в таблице 4.3.

Из расчета видно, что горловина имеет значительные резервы пропускной способности.

Таблица 4.3 – Наличная пропускная способность горловины

Горловина

Вид прередвижения

Рассчетное колличество передвижений, поездов в сутки

Коэффициент использования горловины

Наличная пропускная способность горловины, поездов в сутки

Четная

Прием четных транзитных поездов

57

0,69

82,61

Прием нечетных транзитных поездов

57

0,69

82,61

5 ПРОЕКТИРОВАНИЕ УСТРОЙСТВ ЛОКОМОТИВНОГО И

ВАГОННОГО ХОЗЯЙСТВ

5.1 Обоснование параметров путевого развития локомотивного хозяйства

Локомотивное хозяйство (ЛХ) предназначено для ремонта, технического обслуживания и экипировки поездных и маневровых локомотивов, а также мотор-вагонного подвижного состава.

ЛХ располагается со стороны, противоположной пассажирскому зданию, за пределами основных горловин, в том конце станции, где сменяемые локомотивы пересекают маршруты отправления.

Количество ремонтных стойл в основном депо определяется по годовой программе ремонтов и продолжительности нахождения локомотивов в ремонте. Программа ремонтов (количество ремонтов в год) устанавливается по годовым пробегам приписанных локомотивов и нормам пробегов между ремонтами.

Соединение ремонтных путей осуществляется стрелочными переводами марки 1/9 или 1/11 симметричными. Ремонтные пути могут укладываться в виде веерной улицы.

Число стойл для выполнения определенного вида ремонта:

где S - годовой пробег поездных локомотивов, приписанных к данному депо, млн. лок-км/год:

где п – количество участков, обслуживаемых депо станции;

– суточные размеры движения по i–му участку, обслуживаемому данным депо, поездов;

– заданная длина i-го участка обращения поездных локомотивов, км;

– доля участия данного депо в обслуживании поездного движения участках (р= 1).

Количество стойл для электровозов:

На одном пути могут располагаться сразу два ремонтных стойла. В ремонтном депо необходимо уложить 7 путей.

Число мест для осмотра и экипировки в депо рассчитывается по максимальному количеству экипируемых локомотивов и продолжительности их экипировки по формуле:

где – продолжительность соответственно экипировки и технического обслуживания, принимается мин;

– коэффициент неравномерности поступления локомотивов на экипировочную позицию, ;

– число локомотивов, поступающих на экипировку.

Пути для отстоя локомотивов в ожидании подачи под состав проектируются сквозными, обеспечивающими при полной поточности следования локомотивов прямую связь с экипировочными устройствами и ремонтной базой. Число путей для отстоя сменяемых локомотивов определяется из расчета размещения 5-6 локомотивов.

Длина путей для стоянки локомотивов в ожидании работы определяется по формуле:

где – доля локомотивов, требующих стоянки в ожидании работы, принимается равной 0,1;

lл – длина пути для стоянки одного локомотива с учетом неточной установки, принимается равной 35 м.

При постановке 5 локомотивов необходимо запроектировать следующее количество путей:

Пути для стоянки локомотивов резерва (т.е. локомотивов, временно поставленных в резерв из-за неравномерности движения поездов) размещаются параллельно путям парка межпоездного отстоя или ремонтной базы и укладываются также в виде параллелограмма, трапеции или трапецоида и соединяются стрелочными переводами марки 1/9.

Длина каждого пути рассчитывается на постановку 8-10 локомотивов.

Общая длина путей для стоянки локомотивов в резерве определяется по формуле:

где 0,2 – доля локомотивов, находящихся в резерве.

При постановке 10 локомотивов необходимо запроектировать следующее количество путей:

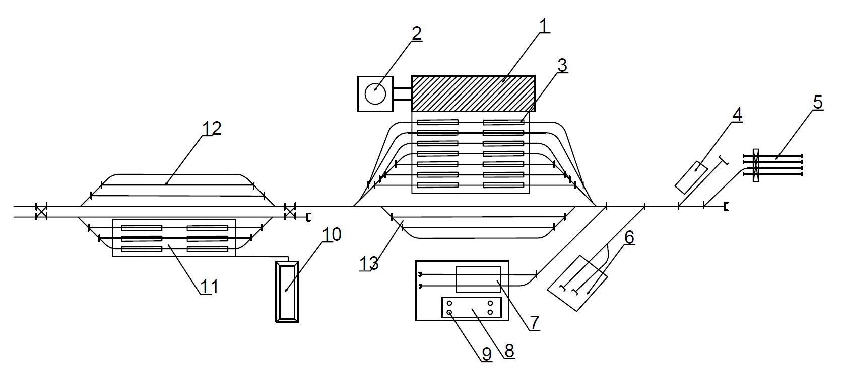
Схема локомотивного депо в «рыбках» приведена на рисунке 5.1.

Схема локомотивного депо в осях путей представлена на рисунке 5.2.

Рисунок 5.1 – Схема локомотивного депо в «рыбках»

Условные обозначения:

1 – мастерские; 2 – служебно-технический корпус; 3 – ремонтное депо; 4 – склад угля; 5 – склад колесных пар; 6 – материальный склад; 7 – сливная эстакада; 8 – склад топлива; 9 – топливопроводы и топливораздаточные колонки; 10 – склад сырого песка; 11 – экипировочное депо; 12 – пути для отстоя локомотивов в ожидании работы; 13 – пути для стоянки локомотивов в резерве.

Рисунок 5.2 – Схема локомотивного депо в осях путей

5.2 Проектирование устройств вагонного хозяйства

Для станции проектируются следующие устройства вагонного хозяйства:

– пункты технического обслуживания и текущего ремонта вагонов (ПТО);

– механизированный пункт отцепочного ремонта вагонов (МПРВ);

– вагоноремонтные депо (ВРД).

ПТО располагается в непосредственной близости от приемоотправочных парков. Для зарядки и испытания тормозов в поездах в приемоотправочных парках имеется воздухопроводная сеть. Воздухозаборные колонки располагаются в междупутьях – в голове, хвосте и середине состава.

Для ремонта неисправных вагонов запроектирован МПРВ, которые располагаются вблизи сортировочного парка для обеспечения удобной подачи – уборки вагонов на ремонтные пути. Полезная длина ремонтных путей принимается равной 250 м. Пункт оборудован козловым краном пролетом 16м. МПРВ представлен на рисунке 5.3.

На рисунке 5.4 представлена схема ВРД сквозного типа, что позволяет с двух сторон подавать и убирать вагоны в цех без прекращения ремонтных работ

Рисунок 5.3 – Схема механизированного пункта отцепочного ремонта вагонов

Рисунок 5.4 – Схема вагоноремонтного депо