Материал: КУРСАЧ_ПО_ИВАНОВУ[1]

Внимание! Если размещение файла нарушает Ваши авторские права, то обязательно сообщите нам

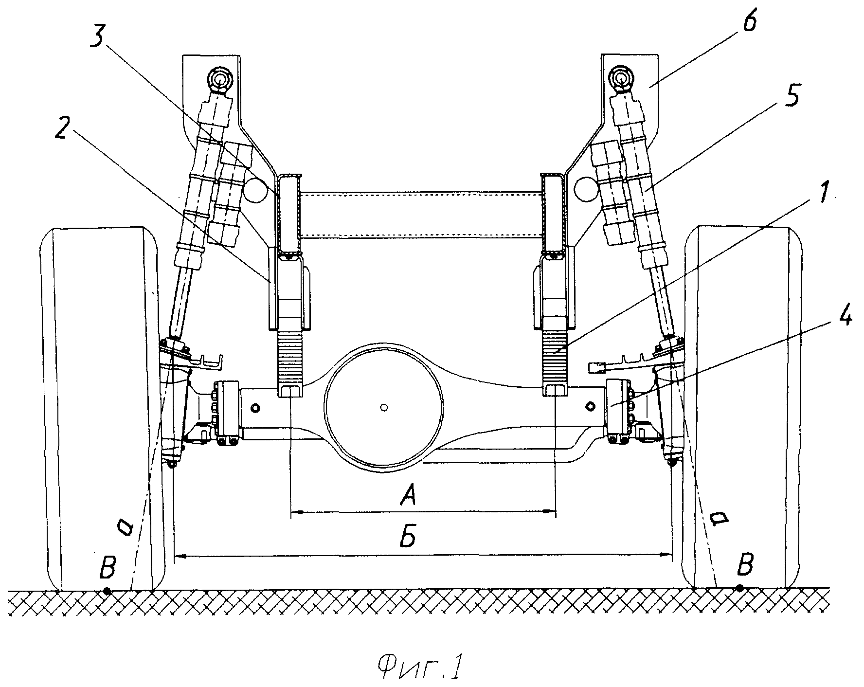
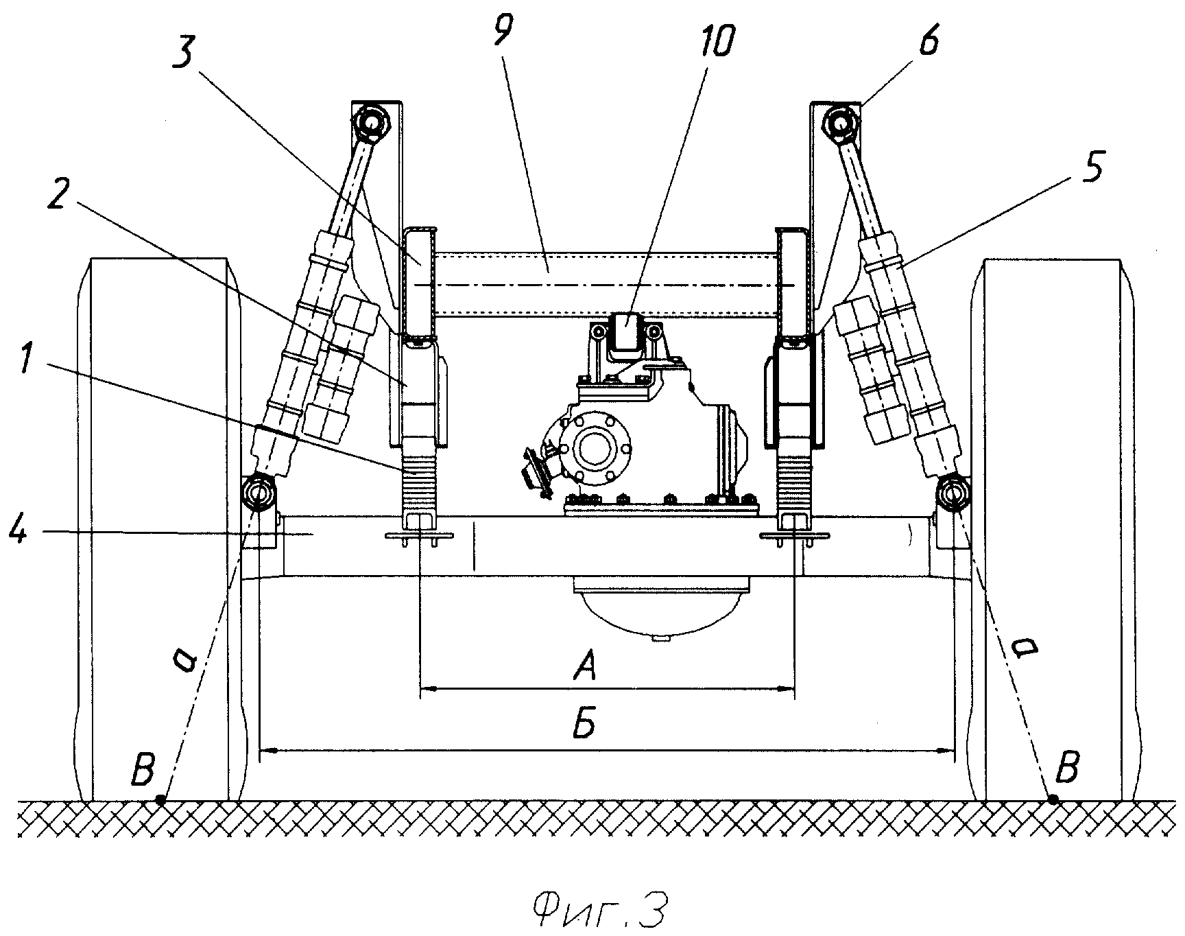
Две пары гидропневморессор 5 со встроенными клапанами амортизаторов нижними концами шарнирно соединены с мостом 4, а верхними - с жестко закрепленными на раме 3 кронштейнами 6. На мосту 4 и раме 3 шарнирно закреплены стойки 7 и штанги 8 стабилизатора поперечной устойчивости. Рама 3 имеет трубчатую поперечину 9, на которой одним концом шарнирно закреплена реактивная штанга 10. Другой конец реактивной штанги 10 шарнирно закреплен на верхней части редуктора моста 4. Продольные, поперечные и часть вертикальных сил воспринимают продольные одноушковые полуэлептические рессоры 1. Оставшуюся часть вертикальных сил воспринимают гидропневморессоры 5 со встроенными клапанами амортизаторов. Стабилизатор поперечной устойчивости уменьшает поперечные крены автомобиля за счет жесткости штанги 8.

Большая энергоемкость заявляемой подвески заключается в применении трех упругих элементов на колесо, воспринимающих по 1/3 нагрузки. В этом же заключается живучесть подвески автомобиля. При выходе из строя одной из гидропневморессор 5 упругая характеристика подвески уменьшится также на 1/3.

Разнесение рессорной колеи, установка гидропневморессор на мост с размером Б при максимально возможной рессорной колее А рессор 1 снижают изгибающее усилие на балку моста, при этом линия “а” оси гидропневморессоры 5 приближена к центру пятна контакта В колеса. Так как 2/3 всего усилия приходятся на рессорную колею Б, то допускается применение серийных балок с незначительным усилением.

Не применяя такую конструкцию обеспечить коэффициент динамичности kd=3,5-4 подвески в грузовых автомобилях без значительного усиления балки моста невозможно.

Гидропневморессоры обладают прогрессивной характеристикой, что влияет на жесткость подвески автомобиля в различных положениях моста. При ходе колеса вверх до полного сжатия подвески жесткость увеличивается. Такая характеристика улучшает плавность хода автомобиля при значительном коэффициенте динамики kd=3,5-4.Без прогрессивной упругой характеристики подвески достигнуть приемлемой плавности хода и высокой энергоемкости невозможно. Плавность хода автомобиля достигается за счет увеличения хода подвески в целом.

Заявляемая подвеска автомобиля имеет высокую энергоемкость на больших ходах, а также высокую надежность при ее достаточной плавности хода.

Подвеска автомобиля может быть выполнена на стандартном оборудовании с применением современных материалов и технологий.

Рисунок 2.3 – Конструкция подвески автомобиля

Рисунок 2.3 – Конструкция подвески автомобиля

(19) RU (11) 2213280 (13) C1 (51) 7 F16F1/18

(12) ОПИСАНИЕ ИЗОБРЕТЕНИЯ к патенту Российской Федерации

ОПИСАНИЕ ИЗОБРЕТЕНИЯ

Изобретение относится к области машиностроения, а именно к листовым рессорам автотранспортных средств.

Известна листовая рессора автотранспортного средства, содержащая несколько рессорных листов, выполненных из закаленной и отпущенной стали одинаковой ширины и разной длины с постоянным или переменным продольным профилем (см. ГОСТ 3396 90).

Однако известная листовая рессора автотранспортного средства, выполненная из стали 50ХГФА или из стали 60С2А, обладает недостаточной долговечностью при заданной грузоподъемности автотранспортного средства, не позволяет получить увеличение его грузоподъемности при сохранении требуемой долговечности, при этом известная рессора, выполненная, например, из стали 50ХГФА или из стали 60С2А, имеет достаточно высокую стоимость изготовления.

Технической задачей изобретения является устранение перечисленных недостатков известной листовой рессоры и создание листовой рессоры автотранспортного средства высокой прочности, позволяющей при своем использовании увеличить долговечность при одновременном сохранении грузоподъемности автотранспортного средства, увеличить грузоподъемность автотранспортного средства при сохранении одинаковой долговечности с известной рессорой, снизить стоимость ее изготовления по сравнению с известной рессорой при равных количестве и размерах рессорных листов в них. Кроме того, ставится задача создания листовой рессоры автотранспортного средства равной прочности с известной рессорой, позволяющей при своем использовании обеспечить равные с ней долговечность и грузоподъемность автотранспортного средства, при этом снизить ее вес по сравнению с известной рессорой за счет уменьшения количества рессорных листов в ней и одновременно уменьшить стоимость ее изготовления.

Технический результат достигается тем, что предложена листовая рессора автотранспортного средства, содержащая несколько рессорных листов, выполненных из закаленной и отпущенной стали одинаковой ширины и разной длины с постоянным или переменным продольным профилем, отличительной особенностью которой является то, что каждый рессорный лист выполнен из углеродистой конструкционной стали пониженной прокаливаемости, подвергнутой объемно-поверхностной закалке с самоотпуском или отпуском в печи, при этом микроструктура по поперечному сечению листа в зависимости от его толщины представляет собой отпущенный мартенсит с размером действительного зерна аустенита 11-14 баллов и твердостью 52-57 HRCэ, или представляет собой отпущенный мартенсит поверхностного слоя с размером действительного зерна аустенита 11-14 баллов и твердостью 54-60 HRCэ, и троостит, троостосорбит или сорбит сердцевины листа с твердостью 25-47 HRCэ.

Экспериментальные стендовые сравнительные испытания известной и предложенных листовых рессор автотранспортного средства показали, что с использованием всех отличительных признаков созданы конструкции листовой рессоры высокой прочности и листовой рессоры равной прочности.

Первая из них обладает повышенной в 1,5-2 раза долговечностью при той же грузоподъемности автотранспортного средства или повышенной на 10-20% грузоподъемностью автотранспортного средства при той же долговечности. При этом предложенная рессора имеет одинаковую с известной рессорой массу.

Вторая - обладает одинаковой с известной рессорой долговечностью и грузоподъемностью автотранспортного средства. При этом имеет массу на 20-30% ниже массы известной рессоры.

Кроме того, было достигнуто значительное снижение стоимости изготовления предложенных листовых рессор.

Для проведения экспериментальных стендовых сравнительных испытаний известной и преложенных листовых рессор были изготовлены задние листовые рессоры автомобиля КАМАЗ 4310 и автомобиля КАМАЗ 55111. При этом стендовые циклические испытания предложенной и известной конструкций рессор производили на прессе статических и динамических испытаний рессор типа МАВ-40 при напряжении поджатия 100 МПа и следующих максимальном напряжении и амплитуде изменения напряжений: 1. Листовая рессора высокой прочности: а) задняя рессора автомобиля КАМАЗ 4310 а = 301,7 МПа; mах = 724,6 МПа б) задняя рессора автомобиля КАМАЗ 55111 а = 299,1 МПа; mах = 699,6 МПа 2. Листовая рессора равной прочности: а) задняя рессора автомобиля КАМАЗ 4310 а= 299,9 МПа; mах = 815,4 МПа б) задняя рессора автомобиля КАМАЗ 55111 а= 308,6 МПа; mах = 796,7 МПа 3. Известная листовая рессора автомобиля КАМАЗ 4310 и автомобиля КАМАЗ 55111 а= 300 МПа; mах = 760 МПа, где а - амплитуда изменения напряжений; max - максимальное напряжение.

Испытания на долговечность проводили до поломки одного из листов рессоры.

Результаты экспериментальных стендовых испытаний известной и предложенных конструкций листовых рессор автотранспортного средства приведены в таблице 3.1 и в таблице 3.2.

Предложенная листовая рессора имеет традиционную конструкцию, которая не требует дополнительных графических пояснений.

Эксплуатация предложенной листовой рессоры автотранспортного средства является стандартной и не отличается от существующей в настоящее время.

Следует отметить, что изготовление предложенной листовой рессоры автотранспортного средства из углеродистой конструкционной стали пониженной прокаливаемости целесообразнее изготовления известной листовой рессоры из традиционных материалов и по традиционной технологии из-за низкой стоимости стали пониженной прокаливаемости, значительно низких трудозатрат при термической обработке рессорных листов, а также за счет повышения качества ее изготовления.

Содержание химических элементов в стали пониженной прокаливаемости, а также технология изготовления предложенной листовой рессоры автотранспортного средства из нее является предметом "НОУ-ХАУ", но при этом не требует для своего воплощения создания сложного технологического оборудования и привлечения больших материальных затрат.

3 Описание конструкции и регулировок подвески

На грузовых автомобилях наибольшее распространение получили зависимые подвески с листовыми рессорами в качестве упругих элементов.

Рессора состоит из собранных вместе отдельных листов выгнутой формы. Применяются многолистовые, малолистовые и однолистовые рессорные подвески. Если зона крепления балки моста делит рессору на неравные части - несимметричная рессора, в противном случае – симметричная.

Рисунок 3.1 – Схема рессорной подвески

Кривизна листов неодинакова и зависит от их длины. Она увеличивается с уменьшением длины листов. Взаимное положение листов в собранной рессоре обычно обеспечивается стяжным центровым болтом 2 (рисунок 3.1). Кроме того, листы скреплены хомутами 3, которые исключают боковой сдвиг одного листа относительно другого и передают нагрузку от коренного листа 1 (разгружают его) на другие листы при обратном прогибе рессоры. Коренной лист имеет наибольшую длину. Форма его концов зависит от способа крепления рессоры.

Основным преимуществом листовых рессор является их способность выполнять одновременно функции упругого, направляющего, гасящего и стабилизирующего устройств подвески. Кроме того, листовые рессоры просты в изготовлении и легко доступны для ремонта в эксплуатации. По сравнению с упругими устройствами других типов листовые рессоры имеют повышенную массу, менее долговечны, обладают сухим (межлистовым) трением.

Концы рессоры соединяют с рамой или кузовом автомобиля. Передний конец закрепляют с помощью пальца, а задний – чаще всего подвижной серьгой. При таком соединении концов рессоры ее длина может изменяться во время движения автомобиля.

Наибольшее распространение для производства многолистовых рессор получили кремнистые и хромомарганцевые стали типа 60С2 и 50ХГ с твердостью после термообработки 363…444 НВ.

В последнее время в грузовом автомобилестроении начинают находить применение малолистовые (два – четыре листа) рессоры из проката переменного сечения, максимально приближенного к сечению балки равного сопротивления. Из всех возможных вариантов образования балки равного сопротивления применяют в основном вариант с листами постоянной ширины и переменной толщины (параболические рессоры). Малолистовые рессоры позволяют облегчить подвеску, кроме того, снижают вибрации, передаваемые на раму автомобиля, вследствие уменьшения силы трения между листами.

Рисунок 3.2 – Однолистовая рессора автомобилей фирмы “Рено”

Самым выгодным решением с точки зрения экономии массы является однолистовая рессора. Однако, на грузовых автомобилях однолистовые рессоры не применяют из-за трудности размещения рессоры большой длины, а также по соображениям безопасности. Поломка однолистовой рессоры означала бы немедленную потерю управляемости. Этим объясняется то, наибольшее распространение имеют двух- и трехлистовые малолистовые рессоры.

В результате исследований рессор с несимметричным профилем листов на ряде предприятий стали применять прокат несимметричного профиля: Т-образный

(ГОСТ 74196-78), трапециевидно-ступенчатый (ГОСТ 74195-78).

Рисунок 3.3 – Передняя (а) и задняя (б) подвески грузовых автомобилей ГАЗ

На рисунке 3.3(а) показана передняя подвеска грузовых автомобилей ГАЗ. Подвеска зависимая, рессорная с амортизаторами. Листовая рессора 7 прикреплена к балке моста двумя стремянками 8, а к раме - через резиновые опоры. Резиновые опоры закреплены в кронштейнах 1 и 4, приклепанных к раме. Эти кронштейны имеют крышки 6, которые позволяют монтировать и демонтировать рессоры, а также заменять резиновые опоры. Листы рессоры стянуты центровым болтом. Два коренных листа, концы которых отогнуты под углом 90°, образуют торцовую упорную поверхность. К отогнутым концам коренных листов приклепаны специальные чашки 5 и 10, увеличивающие площадь соприкосновения листов с резиновыми опорами. Передний конец рессоры неподвижный. Он закреплен в кронштейне 1 между верхней 2 и нижней 11 резиновыми опорами, а также упирается в торцевую резиновую опору 12. Задний конец подвижный, закреплен в кронштейне 4 только с помощью двух резиновых опор. При прогибе рессоры он перемещается в результате деформации этих опор. Прогиб рессоры вверх ограничивает резиновый буфер 9, установленный между стремянками 8. Амортизатор 9 обеспечивает гашение колебаний кабины и передних колес автомобиля.

Задняя подвеска грузовых автомобилей ГАЗ зависимая, рессорная, без амортизаторов (рисунок 3.3 б). Она выполнена на двух продольных полуэллиптических листовых рессорах с дополнительными рессорами (подрессорниками). Рессора 16 и подрессорник 15 крепятся к балке заднего моста стремянками 14 с помощью накладок 13 17. Подрессорник имеет такое же устройство, как и рессора, но состоит из меньшего числа листов. Концы подрессорника не связаны с рамой. При увеличении нагрузки на автомобиль подрессорник своими концами упирается в резиновые опоры, закрепленные в кронштейнах рамы, после чего работает совместно с рессорой. Гашение колебаний кузова и колес происходит за счет трения между листами рессор и подрессорников.

На рисунке 3.4 (а) показана передняя подвеска автомобилей ЗИЛ. Подвеска рессорная зависимая с амортизаторами. Она включает две продольные полуэллиптические листовые рессоры 3 и два гидравлических амортизатора 7. Рессора прикреплена к балке моста с помощью рессорных стремянок 10 и накладок 4 и 6. Передний конец рессоры – неподвижный. Он прикреплен к раме в кронштейне 1 с помощью съемного ушка 12 и гладкого шарнира, состоящего из пальца 13 и втулки 14, которая запрессована в ушко. Рессорное ушко закреплено на коренном листе рессоры на прокладке 11 двумя ботами и стремянкой 2. Задний конец рессоры – скользящий. Он свободно установлен в кронштейне 9, прикрепленном к раме, и упирается на сухарь 16. К заднему концу рессоры прикреплена накладка, предохраняющая от изнашивания коренной лист. Для предохранения от изнашивания стенок кронштейна на пальце 17 сухаря установлены вкладыши 18. Взаимное положение листов в рессоре обеспечивается посредством специальных выдавок, выполненных в средней части листов. Ход переднего моста вверх ограничивается резиновыми буферами – основным 5 и дополнительным 8, которые установлены на рессорах и раме соответственно. Телескопические гидравлические амортизаторы 7 крепятся к раме и балке переднего моста с помощью резинометаллических шарниров 15 и обеспечивают гашение колебаний в передней подвеске автомобиля.

Задняя подвеска автомобилей ЗИЛ зависимая, рессорная, без амортизаторов, с подрессорниками. Подрессорник расположен сверху основной рессоры и совместно с ней прикреплен к балке заднего моста с помощью рессорных стремянок 20 и накладок 21, 25. Между основной рессорой 24 и подрессорником 22 установлен промежуточный лист 23. Для передачи на подрессорник раме приклепаны кронштейны 19. В эти кронштейны упираются концы самого длинного листа подрессорника, которые выполнены плоскими.

Рисунок 3.4 – Передняя (а) и задняя (б) подвески автомобилей ЗИЛ

На рисунке 3.5 изображена балансирная подвеска грузовых автомобилей ЗИЛ высокой проходимости. Обычно балансирная подвеска применяется в трехосных автомобилях, так как средний (промежуточный) и задний ведущие мосты располагаются близко один к другому.

Балансирная подвеска выполнена на двух продольных полуэллиптических рессорах с шестью продольными поперечными штангами. Рессора 1 средней частью прикреплена к ступице 9 посредством накладки 3 и стремянок 4. Концы рессоры

свободно установлены в опорах 2, приваренных к балкам мостов.

Ступица размещена на концах оси 8 на втулке, которая изготовлена из антифрикционного материала и запрессована в ступицу. Ступица закреплена на оси гайкой 7 и снаружи закрыта крышкой 6. В крышке имеется отверстие с пробкой 5 для заливки масла, а в ступице – отверстие с пробкой для его слива. Для предотвращения вытекания масла и защиты ступицы от загрязнения с внутренней ее стороны установлены самоподжимная манжета и уплотнительные кольца. Ось 8 запрессована в кронштейны 10 и установлена на раме поперек автомобиля в кронштейнах 12. Каждый мост соединен с рамой тремя продольными реактивными штангами 11. Концы этих штанг закреплены в кронштейнах на раме и мостах. Ход мостов вверх ограничивается резиновыми буферами 13, установленными на лонжеронах рамы, а ход мостов вниз - специальным отбойным листом 14, который находится между ступицей и рессорой.