Материал: КУРСАЧ_ПО_ИВАНОВУ[1]

Внимание! Если размещение файла нарушает Ваши авторские права, то обязательно сообщите нам

МИНИСТЕРСТВО ОБРАЗОВАНИЯ РЕСПУБЛИКИ БЕЛАРУСЬ

БЕЛОРУССКИЙ НАЦИОНАЛЬНЫЙ ТЕХНИЧЕСКИЙ УНИВЕРСИТЕТ

Кафедра "Автомобили"

КУРСОВАЯ РАБОТА

по дисциплине «Проектирование ходовых систем автомобиля»

Рессорная подвеска грузового автомобиля

Исполнитель:

студент гр. 101123 Костюк Д. М.

Руководитель: Иванов В. Г.

Минск 2007

1 Введение

При движении автомобиля по дороге с неровной поверхностью возникают различные силы взаимодействия колес и дороги, которые можно свести к трем составляющим: вертикальной, продольной и поперечной, или боковой. Передача этих сил и их моментов происходит через детали подвески.

Вертикальные силы и их моменты динамического характера обусловлены неровностями дороги. Продольные составляющие сил и их моменты вызываются в основном тяговыми и тормозными силами, но определенное влияние на них оказывают и кинематические особенности подвески. Поперечные составляющие и их моменты создаются боковыми силами, возникающими при криволинейном движении автомобиля.

Для передачи сил, действующих на колеса, раму и кузов автомобиля, и придания их кинематическому и динамическому воздействиям желаемой формы служит подвеска, представляющая собой совокупность деталей, связывающих колеса с рамой или кузовом автомобиля. Подвеска должна удовлетворять следующим основным требованиям:

- иметь надлежащие упругие и амортизационные характеристики, обеспечивающие плавность хода, поперечные крены, ограничение хода, исключающее пробои подвески, устойчивость движения;

- надежно передавать продольные силы и их моменты от колес к раме автомобиля;

- иметь надлежащую кинематическую характеристику, в частности кинематика подвески должна быть хорошо согласована с кинематикой рулевого привода, карданной передачи, исключать возможность колебания управляемых колес относительно шкворней;

- обладать высокими прочностью и долговечностью при минимальных стоимости и эксплуатационных затратах;

- иметь минимальную массу.

Оценочные параметры плавности хода автомобиля должны характеризовать воздействие колебаний на водителя и на перевозимый груз. Допустимый уровень колебаний для организма человека ограничен. Это значит, что если нет специальных ограничений по допустимой интенсивности колебаний для перевозимого груза, то оценочные критерии плавности хода должны основываться на восприятии колебаний человеком. В результате проведенных исследований было установлено, что человек воспринимает колебания вестибулярным аппаратом, глазами, суставами и мышцами, кожей. Человеческий организм воспринимает колебания по-разному в зависимости от их частоты. В зоне низких частот восприятие колебаний пропорционально ускорениям, в зоне средних частот – скоростям, а в зоне высоких частот – перемещениям. Человеческий организм наиболее чувствителен к вертикальным колебаниям в диапазоне частот 4…8 Гц и горизонтальным – 1…2 Гц.

Подвеска разделяет все массы автомобиля на две части – подрессоренные и неподрессоренные. Подрессоренные - части, опирающиеся на подвеску: кузов, рама и закрепленные на них механизмы. Неподрессоренные – части, опирающиеся на дорогу: мосты, колеса, тормозные механизмы.

Подвеска автомобиля состоит из четырех основных устройств – направляющего,

упругого, гасящего и стабилизирующего.

Направляющее устройство подвески направляет движение колеса и определяет характер его перемещения относительно кузова и дороги. Направляющее устройство передает продольные и поперечные силы и их моменты между колесом и кузовом автомобиля.

Упругое устройство смягчает толчки и удары, передаваемые от колес на кузов автомобиля, при наезде на дорожные неровности. Упругое устройство исключает копирование кузовом неровностей дороги и улучшает плавность хода.

Гасящее устройство подвески уменьшает колебания кузова и колес автомобиля, возникающие при движении по неровностям дороги, и приводит их к затуханию. Гасящее устройство превращает механическую энергию колебаний в тепловую с последующим рассеиванием в окружающую среду.

Стабилизирующее устройство уменьшает боковой крен и поперечные угловые колебания кузова автомобиля.

В некоторых случаях один и тот же элемент подвески может выполнять различные функции.

Подвеска может быть зависимой, независимой и полузависимой. При зависимой подвеске положение колес, посаженных на одну ось, взаимосвязаны. При независимой такая связь отсутствует. Полунезависимая – колеса связаны только упругим элементом. По типу упругого элемента подвеска может быть рессорной, пружинной, торсионной, пневматической, пневмогидравлической, пластмассовой и резиновой. В качестве упругого элемента используются рессоры, пружины, торсионы, пневматические и пневмогидравлические элементы, использующие упругие свойства воздуха и жидкости, резиновые и пластмассовые элементы. Также подвески можно разделить на регулируемые и нерегулируемые; со стабилизатором и без стабилизатора.

Темой данного курсового проекта является проектирование рессорной малолистовой задней подвески автомобиля полной массой 10-11 тонн. Поскольку производительность автомобиля непосредственно связана со скоростью движения, задача заключается в разработке подвески, обеспечивающей возможность длительного движения автомобиля по дорогам с неровной поверхностью в интервале эксплуатационных скоростей, без быстрой утомляемости водителя и повреждения груза.

2 Патентно-информационный обзор

(19) RU (11) 2135373 (13) C1 (51) 6 B60G11/12, F16F1/38

(12) ОПИСАНИЕ ИЗОБРЕТЕНИЯ к патенту Российской Федерации

ОПИСАНИЕ ИЗОБРЕТЕНИЯ

Изобретение относится к области транспортного машиностроения и эксплуатации транспортных средств, а более конкретно - к соединению листовой рессоры с рамой автомобиля и троллейбуса.

Известен шарнир скольжения в соединении листовой рессоры с рамой автомобиля, который содержит накладное ушко рессоры с втулкой и рессорный палец, соединяющий ушко рессоры с кронштейном на раме. В таком шарнире высокие динамические нагрузки приводят к быстрому износу деталей шарнира - пальца и втулки ушка, вследствие чего шарнир требует регулярной смазки и частой замены пальца и втулки.

Известен шарнир в виде эластичной опоры ушка листовой рессоры автомобиля по патенту ЕПВ (ЕР) N 0 493 731 (опубл. 92 07 08 N 28), содержащий металлический палец, втулку пальца, эластичную втулку, промежуточную втулку и втулку ушка, при этом втулка пальца, эластичная и промежуточная втулки с помощью шайбы и гайки плотно закреплены в кронштейне рессоры. Известен также шарнир, наиболее близкий к предлагаемому, в виде эластичной резиновой опоры (П.П.Лукин, Г.А.Гаспарянц, В.Ф.Родионов "Конструирование и расчет автомобиля", М. "Машиностроение", 1984 г., рис. 164, "г"), имеющий палец и резиновые втулки, которые при сборке в осевом направлении сжимаются усилием, обеспечивающим поворот ушка рессоры относительно пальца. Указанные шарниры в виде эластичных опор снижают или полностью исключают необходимость в смазывании, уменьшают динамические нагрузки, вибрацию и скручивание рессоры. Однако эластичные резиновые элементы при такой конструкции шарнира имеют ограниченную жесткость соединения, что может вызвать дополнительное колебание, вследствие чего указанные эластичные опоры не применяются при значительных величинах нагрузок, характерных для транспортных средств повышенной грузоподъемности.

В то же время известен резинометаллический шарнир гусеничной цепи (авторские свидетельства СССР N 1418169, N 1428654 и другие), содержащий в проушинах соединительный палец с кольцевыми резиновыми элементами и ограничителями радиального перемещения.

Предлагаемым изобретением решается задача повышения нагрузочной способности эластичной опоры ушка листовой рессоры транспортного средства.

Для достижения этого технического результата в шарнире, содержащем проушины кронштейна рессоры, проушину ушка рессоры с металлической втулкой и металлический палец, палец выполнен с участками разного диаметра, и на участках меньшего диаметра палец имеет связанные с ним эластичные кольца, а участки большего диаметра являются ограничителями радиального перемещения эластичных колец.

Отличительным признаком предлагаемого шарнира от указанного выше известного, наиболее близкого к нему, является наличие у пальца чередующихся участков с различной жесткостью.

Благодаря наличию этого признака шарнир при небольших нагрузках обладает необходимыми амортизационными свойствами, а при увеличении нагрузки жесткость шарнира также увеличивается, что позволяет применить шарнир в большегрузных транспортных средствах.

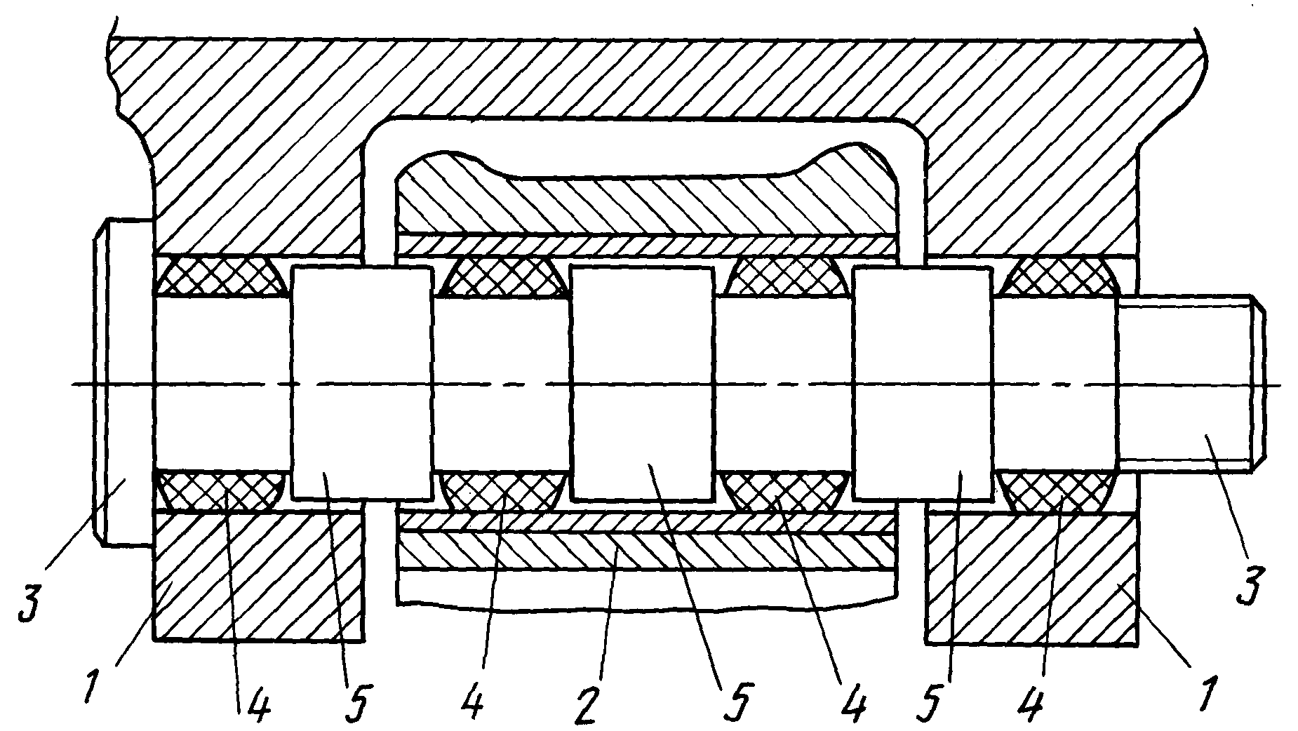
Предлагаемый шарнир показан на чертеже с разрезом по оси пальца.

Эластичный шарнир рессоры содержит две проушины 1 (рисунок 2.1) кронштейна рессоры, проушину 2 с металлической втулкой накладного ушка рессоры, палец 3 рессоры с эластичными кольцами 4 и ограничителями 5 радиального перемещения эластичных колец. Эластичные кольца выполнены между ограничителями радиального перемещения и имеют с ними клинообразный (в осевом сечении) зазор и могут выполняться с продольными по внешнему диаметру выемками для обеспечения лучшей работоспособности на скручивание. Для обеспечения достаточной первоначальной жесткости шарнира после запрессовки пальца эластичные кольца выполнены с внешним диаметром больше диаметра отверстий проушин шарнира, а для обеспечения эластичности шарнира в широких пределах изменения нагрузки диаметр ограничителей радиального перемещения выполнен меньше диаметра проушин шарнира. Необходимую прочность пальцу придает размещение в местах соединения проушин ограничителей радиального перемещения, причем каждый из этих ограничителей частично размещен в проушине кронштейна рессоры и частично в проушине накладного ушка рессоры.

Работа шарнира осуществляется следующим образом.

При циклических поворотах проушины 2 накладного ушка рессоры относительно проушин 1 кронштейна рессоры эластичные кольца 4 пальца 3 работают на скручивание и деформируются в окружном направлении. Одновременно вследствие вертикальных и продольных сил (от веса транспортного средства, от тяговых или тормозных усилий) эластичные кольца деформируются в радиальном направлении. При небольших нагрузках деформация эластичных колец невелика, кольца имеют небольшую радиальную жесткость и вследствие этого хорошие амортизационные свойства. При увеличении радиальной нагрузки и соответственно дальнейшей деформации эластичных колец постепенно уменьшается вплоть до полного смыкания осевой зазор между эластичными кольцами и ограничителями радиального перемещения и происходит плавное нарастание радиальной жесткости шарнира. При дальнейшем увеличении тяговой нагрузки начинают работать ограничители радиального перемещения и шарнир становится полностью жестким.

Таким образом, шарнир обеспечивает высокие амортизационные свойства в широком диапазоне изменения нагрузок, выдерживает повышенные тяговые нагрузки, не теряя при этом способности восстанавливать амортизационные свойства после снятия повышенных нагрузок, и вследствие этого без технического обслуживания в течение длительного времени сохраняет свою работоспособность.

Рисунок 2.1 – Конструкция эластичного шарнира

(19) RU (11) 2043934 (13) C1

(51) 6 B60G11/02, B60G3/00

(12) ОПИСАНИЕ ИЗОБРЕТЕНИЯ к патенту Российской Федерации

(54) ХОДОВАЯ ЧАСТЬ ТРАНСПОРТНОГО СРЕДСТВА

ОПИСАНИЕ ИЗОБРЕТЕНИЯ

Изобретение относится к транспортному машиностроению, а именно к конструкции рессорной подвески.

Известна балансирная рессорная подвеска транспортного средства [1] содержащая листовые рессоры, закрепленные шарнирно средней частью на раме транспортного средства, а концами жестко связанные с опорами, установленными на рычагах, закрепленных на осях колес.

К недостаткам этой подвески относится то, что она не обеспечивает заданную прочность и жесткость.

Известна рессорная подвеска передних и задних колес, которая крепится к продольным трубам рамы.

К недостаткам прототипа относится то, что передние колеса имеют независимую работу, а задние колеса зависимую работу, следовательно мягкость хода автомобиля недостаточна.

Технической задачей изобретения является повышение мягкости хода транспортного средства за счет обеспечения независимой работы подвески каждого колеса.

Это достигается тем, что в ходовой части, содержащей раму, подвески, листовые рессоры, передние и задние колеса, при этом на передних колесах установлены маятниковые рычаги, закрепленные посредством двух серег с маятниковым рычагом, средняя часть жестко закреплена на раме, а задняя часть с задним колесом через рычаг и серьгу.

На чертеже представлена ходовая часть транспортного средства.

Ходовая часть транспортного средства содержит рессору 1 (рисунок 2.2), которая своей средней частью закреплена жестко на раме 2 кронштейном 3. Место крепления рессоры на раме расположено близко к центру тяжести транспортного средства. Передний конец рессоры связан с маятниковым рычагом 4 переднего колеса 5 посредством промежуточного рычага 6 и серег 7 и 8, задний конец рессоры с задним колесом 9 посредством рычага 10 и серьги 11. Для гашения колебаний колес имеются амортизаторы 12 и 13, закрепленные одним концом на транспортном средстве, а другим концом соединенные с маятниковым рычагом 4 и рычагом 10.

При наезде переднего колеса на препятствие маятниковый рычаг 4 поворачивается относительно оси 14 и через серьги 7 и 8 взаимодействует с передней половиной рессоры 1, гасящей удар. При наезде на препятствие заднего колеса 9 рычаг 10 поворачивается вокруг оси 15 и удар гасится задней половиной рессоры 1.

Предлагаемая рессора позволяет добиться независимой работы каждого колеса.

Рисунок 2.2 – Ходовая часть транспортного средства

(19) RU (11) 2236955 (13) C2

(51) 7 B60G11/46

(12) ОПИСАНИЕ ИЗОБРЕТЕНИЯ к патенту Российской Федерации

(54) ПОДВЕСКА АВТОМОБИЛЯ (ДВА ВАРИАНТА)

ОПИСАНИЕ ИЗОБРЕТЕНИЯ

Изобретение относится к области транспортного машиностроения, а именно к подвескам грузовых автомобилей повышенной проходимости.

Известна подвеска моста автомобиля, содержащая поперечную рессору, средняя часть которой связана с рамой автомобиля, а концы размещены в выполненных в раме пазах с возможностью вертикального перемещения и фиксации, вертикально установленные упругие элементы, нижние концы которых соединены с задним мостом, силовой гидроцилиндр и фиксаторы (а.с. СССР №1572836, М.кл. B 60 G 11/46, Бюл. №23, 23.06.90).

Известна также задняя зависимая подвеска транспортного средства, выбранная в качестве ближайшего аналога, содержащая направляющее устройство, выполненное в виде продольных листовых рессор, продольные балки, жестко соединенные с балкой моста и несущие на своих концах расположенные спереди и сзади колес упругие элементы, выполненные в виде пневматических рессор (а.с. ССССР №662382, М.кл. B 60 G 11/46, Бюл. №18, 15.05.79). Но данная подвеска имеет невысокую энергоемкость, малые хода и низко расположенные незащищенные детали. Решаемая задача: обеспечение высокой энергоемкости на больших ходах подвески, а также надежности подвески при достаточно высокой плавности хода.

Указанная задача решается тем, что известная подвеска автомобиля, содержащая выполненное в виде продольных листовых рессор, жестко соединенных средней частью с мостом, направляющее устройство, упругие элементы, амортизаторы, дополнительно снабжена стабилизаторами поперечной устойчивости, состоящими из стоек и штанг, шарнирно закрепленных на мосту и раме, при этом упругие элементы имеют встроенные клапана амортизаторов, выполнены в виде пар гидропневморессор, шарнирно связаны верхними концами с жестко закрепленными на раме кронштейнами, а нижними концами шарнирно соединены с мостом, причем рессоры выполнены одноушковыми и имеют в задней части скользящую опору, при этом подвеска может быть снабжена реактивной штангой, шарнирно закрепленной одним концом на верхней части редуктора моста, а другим - на трубчатой поперечине рамы.

Отличительными признаками предлагаемой подвески автомобиля от указанной выше, наиболее близкой к ней, являются выполнение рессор одноушковыми со скользящей опорой в задней части, что позволяет воспринимать продольные, поперечные и часть вертикальных сил, наличие стабилизаторов поперечной устойчивости, состоящих из стоек и штанг, шарнирно закрепленных на мосту и раме, служащих для уменьшения поперечных кренов автомобиля, выполнение упругих элементов в виде пар гидропневморессор со встроенными клапанами амортизаторов, что позволяет воспринимать оставшуюся часть вертикальных сил, а в комплексе применение трех упругих элементов на колесо, воспринимающих по 1/3 нагрузки, обеспечивает большую энергоемкость заявляемой подвески. Наличие реактивной штанги позволяет предотвратить закручивание моста от возникновения тяговых и тормозных моментов на колесе. Размещение элементов подвески между рамой и мостом автомобиля позволяет добиться большей защищенности деталей подвески и, как следствие, надежности подвески при ее достаточно высокой плавности хода.

Предлагаемая подвеска автомобиля иллюстрируется следующими чертежами (рисунок 2.3):

а - подвеска автомобиля (вариант 1), вид спереди;

б - то же, вид сбоку;

в - подвеска автомобиля (вариант 2), вид сзади;

г - то же, вид сбоку.

Предлагаемая подвеска автомобиля содержит продольные одноушковые полуэлептические рессоры 1, размещенные в кронштейнах 2, закрепленных на раме 3. Рессоры 1 жестко соединены в средней части с мостом 4, а задняя их часть имеет скользящую опору, обеспечивающую горизонтальное продольное перемещение рессоры.