30
Рис.5. Схема измерений температур
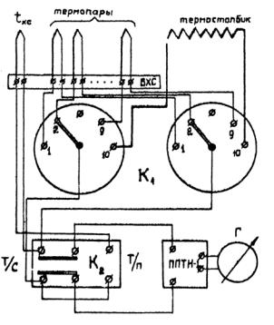
Затем включить термостат и установить необходимый уровень температуры воды. Включить стабилизатор напряжения и при помощи лабораторного трансформатора по показаниям микроманометра установить необходимую скорость течения воздуха в канале. Примерно через 40 минут после включения установки температура пластин, образующих канал, войдет в стационарный режим, о чем будет свидетельствовать неизменность показаний термопар 1-8 (ключ К1) во времени.
После наступления стационарного состояния произвести следующие измерения и занести их в таблицу:
1)скорость течения воздуха в канале (по показаниям микроманометра);
2)температуру воздуха на входе в канал (по показаниям термометра 15
(рис.4);
3)температуру холодного спая (по показаниям термометра ртутностеклянного);
4)величину перегрева воздуха на выходе из канала (переключатель К2 –
вположение «т/с», К1 – в положение «9»);
5)величину перегрева стенок канала (переключатель К2 – в положение «т/п», К1 – в положение «1-8»);
6)показания термостолбика (переключатель К2 – в положение «т/с», К1
– в положение «10»);
7)повторить замеры по первым четырем пунктам;
8)установить новую скорость течения воздуха (из ряда, заданного преподавателем);
9)после наступления стационарного режима проделать операции по пунктам 1-7 и т.д.
31
Обработка результатов измерений 1. Определить значения величин перегревов стенок канала по формуле
ϑi,k = 23,4 Ei,k , где Ei,k–показания дифференциальных термопар, мВ.
|
|
|
1 |
8 |
|
|
|
|
2. Найти среднюю температуру стенок канала |
t |
c = |
∑ϑi,k + |
tхс |
, где |
tхс |
- |
|
|
|
|
8 i=1 |
|
||||
среднее арифметическое значение температуры холодного спая дифференциальной термопары, °С.
3.Определить значение теплового потока, который уносится воздухом, по формуле Q’Σ=10,1·EQ, где EQ–показания термостолбика тепломера, мВ.
4.Определить скорость υ течения воздуха в канале:
υ = 
2γh' / ρSсопла / Sканала ,
где ρ – плотность воздуха; γ – удельный вес манометрической жидкости;
h’ – высота столба манометрической жидкости; Sсопла, Sканала – площади поперечного сечения сопла и канала.
5. Рассчитать тепловой поток QΣ, уносимый воздухом, вторым методом по известной скорости течения воздуха υ, температуре воздуха на входе в канал tж’ и на выходе из канала tж’’:
QS ''= cυSкρ(tж ''−tж '),
где с – удельная теплоемкость воздуха при температуре tm=0,5(tж’+tж’’) Дж/кгК; Sк – площадь поперечного сечения канала, м2; ρ – плотность воздуха при температуре tm, кг/м3.
6. Найти средний коэффициент теплообмена α в канале: α =
где F–площадь теплоотдающей поверхности канала, м2. QΣ=0,5(QΣ’+QΣ’’) – тепловой поток, уносимый протекающим по каналу воздухом, Вт.
7.Заполнить таблицу.
8.Построить графики зависимости Nu=f(Re)
ПРИМЕЧАНИЕ. В случае исследования теплообмена в канале со сложным профилем поверхности сравнить результаты измерений с теоретической зависимостью Nu=f(Re)для канала с гладкими стенками равного гидравлического диаметра.
Содержание отчета
1.Таблица результатов измерений и расчетов по приведенной форме.
2.Теоретический расчет средний чисел Nu для условий проведения опытов.
3.График теоретической зависимости Nu = f (Re) с нанесенными на него
результатами опытов. 4. Выводы
32
|
|
|
|
|
|
|
|
|
|
|
|
|
|
|
|
|
|
|
|
|
|
|
|
|
Таблица 1 |
|
|||
|
|
|
|
|
|
|
|
|
|
|
|
|
|
|
|
|
|
|
|
|
|
|
|
|
|
|
|
|
|
N |
dэк/ |
υ |
|
tхс |
tвх |
ϑвых |
tвых, |
|
ϑi,х |
|
tw |
|
(ts- |
QΣ' |
QΣ’’, |
QΣ, |
|
α |
, |
|
|
|
|
||||||
|
|
|
, |
, |
|
|
|
|
|
|
, |
|
|
|
Вт/ |
Re |
|
|
|
||||||||||
|
|
|
|
|
|
|
|
|
|
|
|
Nu |
|
||||||||||||||||
S |
дел |
|
м/с |
мВ |
К |
°С |
мВ |
К |
мВ |
К |
|
tвх),К |
мВ |
Вт |
Вт |
Вт |
|
||||||||||||
|
|
°С |
°С |
|
2 |
|
|
|
|
||||||||||||||||||||
|
|
|
|
|
|
|
|
|
|
|
|
°C |
|
|
|
|
|
|
м К |
|
|
|
|||||||
1 |
|
|
|
|
|
|
|
|
|
|
|
|
|
|
|
|
|
|
|
|
|
|
|
|
|
|
|
|
|
|
|
|
|
|
|
|
|
|
|
|
|
|
|
|
|
|
|
|
|
|
|
|
|
|
|
|
|
|
|
|
|
|
|
|
|
|
|
|
|
|
|
|
|
|
|
|
|
|
|
|
|
|
|
|
|
|
|
|
|
2 |
|
|
|
|
|
|
|
|
|
|
|
|
|
|
|
|
|
|
|
|
|
|
|
|
|
|
|
|
|
|
|
|
|
|
|
|
|
|
|
|
|
|
|
|
|
|
|
|
|
|
|
|
|
|
|
|
|
|
|
|
|
|
|
|
|
|
|
|
|
|
|
|
|
|
|
|
|
|
|
|
|
|
|
|
|
|
|
|
|
3 |
|
|
|
|
|
|
|
|
|
|
|
|
|
|
|
|
|
|
|
|
|
|
|
|
|
|
|
|
|
|
|
|
|
|
|
|
|
|
|
|
|
|
|
|
|
|
|
|
|
|
|
|
|
|
|
|
|
|
|
|
|
|
|
|
|
|
|
|
|
|
|
|
|
|
|
|
|
|
|
|
|
|
|
|
|
|
|
|
|
33
Контрольные вопросы
1.Чем различаются локальный и средний коэффициенты теплообмена?
2.Как определить режим течения жидкости в канале?
3.Какой вид имеют профили скоростей и температуры при различных режимах течения жидкости в канале?
4.В чем состоят основные отличия при течении жидкости в канале и в случае продольного обтекания пластины?
5.Какой физический смысл имеет поправка εlв формуле (7)?
6.Когда коэффициент теплообмена в каналах можно оценивать по формулам, справедливым для продольного обтекания пластины?
7.Какой закон лежит в основе метода измерения тепломером теплового потока от стенки канала к воздуху?
8.При каком положении тумблеров на пульте необходимо производить измерение сигналов термостолбика и термопар?
9.Каков принцип действия микроманометра «Аскания»?
10.Каким образом проводится измерение скорости течения воздуха в
канале?
Литература
1.Исаченко В.П., Осипова В.А., Сукомел А.С., Теплопередача. – М.: Энергия, 1981.
2.Михеев М.А., Михеева И.М., Основы теплопередачи. – М.: Энергия,
1973
3.Петухов Б.С. Теплообмен и сопротивление при ламинарном течении жидкости. – М.: Энергия, 1967
4.Кейс В.М. Конвективный тепломасообмен. – М. Энергия, 1972.
5.Петухов Б.С., Генин Л.Г., Ковалев С.А., Теплообмен в ядерных энергетических установках. – М.: Атомиздат, 1974.
6.Сукомел А.С., Величко В.И., Абросимов Ю.Г. Теплообмен и трение при турбулентном течении газа в коротких каналах. –М.: Энергия, 1979.
Миссия университета – генерация передовых знаний, внедрение инновационных разработок и подготовка элитных кадров, способных действовать в условиях быстро меняющегося мира и обеспечивать опережающее развитие науки, технологий и других областей для содействия решению актуальных задач.
Начало теплофизической научной школы в университете было положено организацией в 1938 году кафедры приборов теплосилового контроля, заведующим которой стал профессор, доктор технических наук Г.М.Кондратьев (1887-1958). В 1954 году вышла в свет его монография «Регулярный тепловой режим». Изложенные в ней идеи впоследствии были успешно применены в различных областях, например, при создании нового типа приборов для исследования теплофизических свойств веществ и параметров теплообмена. В начале 50-х годов началась разработка методов теплового расчета радиоэлектронных устройств, а в дальнейшем и других приборов – оптических, оптико-электронных, гироскопических. Серия этих работ была выполнена под руководством Заслуженного деятеля науки и техники РСФСР, профессора, доктора технических наук Дульнева Г.Н., возглавлявшего кафедру с 1958 года по 1995 год. В результате был создан новый математический аппарат анализа теплового режима сложных технических систем и приборов, разработаны методы проектирования приборов с заданным тепловым режимом. Комплекс этих работ признается и в нашей стране, и за рубежом как новое научное направление в теплофизике. Кафедра приборов теплосилового контроля за свою многолетнюю историю не раз изменяла свое название. Так, с 1947 года она именовалась кафедрой тепловых и контрольно-измерительных приборов, с 1965 года – кафедрой теплофизики, с 1991 года – кафедрой компьютерной теплофизики и энергофизического мониторинга. Однако основным направлением ее научной и педагогической деятельности оставалось применение учения о теплообмене в физике и приборостроении. С 1995 года заведующим кафедрой является профессор, доктор технических наук А.В.Шарков.
Многолетняя деятельность кафедры привела к созданию научной и педагогической школы теплофизиков-приборостроителей, из которой вышли доктора наук А.Н.Гордов, А.И.Лазарев, Г.Н.Дульнев, Б.Н.Олейник, Е.С.Платунов, Н.А.Ярышев, В.Н.Васильев, Ю.П.Заричняк, А.В.Шарков и другие ученые-теплофизики.
Сотрудники кафедры принимали участие в разработке нового поколения вычислительных машин, исследовании термооптических явлений в космических комплексах, в реализации международных программ космических исследований. Так, предложенные на кафедре методы были использованы при проектировании телевизионных камер космических аппаратов в проекте «ВЕГА», при создании лазерного устройства в проекте «ФОБОС». Возможности разработанных на кафедре методов математического моделирования тепловых процессов в сложных системах и технике теплофизического эксперимента были продемонстрированы при анализе