Материал: Кораблев ВА Минкин ДА Лаб практикум теория тепло и массообмена

Внимание! Если размещение файла нарушает Ваши авторские права, то обязательно сообщите нам

5

где P – тепловой поток, Вт; F–площадь теплоотдающей поверхности, м2; Т – перепад температур между стенками прослойки, К.

Значение λэк позволяет рассчитывать тепловой поток в прослойках по формулам для теплового потока, протекающего через твердое тело соответствующей формы.

Если λэк разделить на λm среды, то получим безразмерную величину

εк = λэк ,

λm

которая характеризует собой влияние конвекции и называется коэффициентом конвекции. Различают средние εк и локальные εк коэффициенты конвекции.

Интенсивность локального теплообмена в замкнутых вертикальных прослойках с изотермическими стенками может существенно (почти на порядок) изменяться по высоте H прослойки [2]. Можно выделить три основные области теплообмена. В нижней части нагретой пластины интенсивность теплообмена максимальна. С ростом высоты коэффициент конвекции εк уменьшается до единицы и сохраняется неизменным в

определенной области. В верхней части прослойки величина коэффициента конвекции снова падает и может достичь значенийпримерно 0,3. Это явление (εк <1) можно объяснить следующим образом: движение воздуха вверх вдоль

горячей пластины обусловлено повышением его температуры, с ростом высоты увеличивается толщина пограничного слоя и падает разность температур между пластиной и омывающем ее газом. Это приводит к уменьшению теплового потока, передаваемого от поверхности пластины к омывающему газу.

Вверхней зоне прослойки разность температур пластины и газа может оказаться настолько малой, то тепло от горячей пластины к холодной будет передаваться лишь за счет лучистого теплообмена. Аналогичная картина будет иметь место в нижней зоне прослойки со стороны холодной пластины.

Получается, что локальный поток тепла в определенной области прослойки в условиях естественной конвекции может оказаться меньше, чем поток тепла, проходящий в данной области только за счет теплопроводности газа при отсутствии конвекции.

Вгоризонтальных щелях процесс конвективного теплопереноса в первую очередь определяется взаимным расположением нагретых и холодных поверхностей. Если нагретая поверхность расположена сверху, то циркуляция жидкой и газообразной среды отсутствует. Если же нагретая поверхность расположена снизу, то имеются и восходящие, и нисходящие потоки, которые между собой чередуются. На основе экспериментальных данных показано [3], что локальный коэффициент конвекции в горизональных замкнутых прослойках, подогреваемых снизу, может

изменяться во времени в широких пределах относительно своей средней величины (до четырех раз) при изменении критерия Релея 3·103<Ra<6·104 и

6

принимать значения меньше единицы. Однако зафиксировать эти турбулентные пульсации можно только с помощью малоинерционных датчиков теплового потока.

При расчете среднего по поверхности коэффициента конвекции в прослойках с L/H≤0,2 можно рекомендовать для вертикальных и горизонтальных прослоек соответственно следующие формулы:

 

 

0,024 Ra1m,39

;

εк =1+

1,01 104 + Ram

 

 

 

0,07 Ra1m,33

 

 

 

 

εк =1+

 

.

 

3,2 103 + Ram

 

Расчет локального коэффициента конвекции εк по высоте x вертикальной прослойки проводится в два этапа. На первом этапе находится зависимость

 

 

= 2,25lg Ram + 4,8

x

5,75

 

(5)

 

εк

 

 

 

 

 

 

 

H

 

 

Уравнение (5) справедливо при

 

1 103 < Ram <1 105 ,

0,025

L

0,175

(6)

H

 

 

 

 

 

 

 

На втором этапе определяется область 1 Hx xHкр , в которой εк может принимать значения меньше единицы:

xкр

=1для 0 < lg Ram < 3 ;

(7)

H

 

 

xкр

= 0,77 для 3 < lg Ram < 4,5 ;

(8)

H

 

 

Участки с пониженной интенсивностью теплообмена могут занимать до 25% общей высоты прослойки и располагаться в верхней части более нагретой пластины и в нижней части более холодной. В пределах

xHкр < Hx 1 коэффициент конвекции может принимать значения меньше единицы (до 0,3).

Методика проведения измерений и описание экспериментальной установки

Измерения локальных значений коэффициента теплопередачи и коэффициентов конвекции проводятся тепломером 4 (рис.1), состоящим из двух медных хромированных дисков 2 и 3 диаметром 15 мм (ядро), в дисках расположена термопара 4, служащая как для измерения температуры, так и для нагревания ядра. Тепломер крепится к пластине 1 при помощи эботнитовой шпильки 5 диаметрам 1 мм. Между ядром и платстиной 1 находится воздушная прослойка 7; наружная щель перекрыта плоским тонким кольцом 6. Наружные поверхности этого кольца, диска 3 и пластины 1 подвергались полировке и хромированию. Пропуская через термопару 4

7

ток, можно повысить температуру ядра tr тепломера выше температуры пластины tп; далее ток отключается, и термопара работает как датчик температуры ядра. Ядро охлаждается и отдает тепло пластине 1 и в окружающую среду с более низкой температурой tc (рис.2).

Рис.1. Конструкция тепломера

Рис.2. Метод измерения В момент времени τ0 температура ядра тепломера и пластины равны, т.е.

tТ (t0 ) = tП , и тепло отдается только во внешнюю среду, удельный поток q в

этот момент связан со скоростью Vто охлаждения ядра, его теплоемкостью Ст и поверхностью F зависимостью:

8

q = − CFт Vто = AVто ,

Vто =

τ

.

(9)

 

 

τ

 

Размеры и форма пластинки тепломера выполнены таким образом, что закрываемый ею участок поверхности может считаться локальным и изотермическим, она не вносит возмущений в гидродинамический пограничный слой. Степень черноты пластины совпадает со степенью черноты нагретой пластины. Все это обеспечивает равенство потока qт с тепломера локальному потоку с нагретой пластины в момент τп = τт (τ0 ) .

Зная тепловой поток (9), легко перейти к локальным коэффициентам теплоотдачи и конвекции. Так, суммарный коэффициент теплоотдачи, обусловленный конвекцией, кондукцией и излучением, определяется по формуле

KΣ =

AVто

,

(10)

 

 

Т

 

а локальный коэффициент конвекции

 

εк = (КΣ αл )L / λ

(11)

где αл – коэффициент теплообмена излучением, Вт/м2К. Экспериментальная установка предназначена для измерения локальных

значений коэффициентов теплопередачи в следующих диапазонах измерения основных определяющих параметров: разность температур между ограничивающими пластинами -20-70 К; толщина прослоек -5, 15, 20, 25 мм; ориентация прослойки – вертикальная и горизонтальная (с верхней и нижней нагретой поверхностью).

Установка состоит из блока питания, пульта, потенциометра и гальванометра.

Рис.3. Экспериментальная установка

9

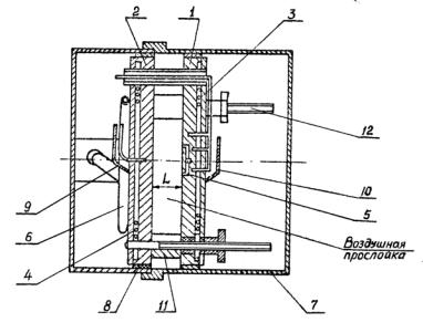
Основной частью прибора является измерительное устройство (рис.4.). Прослойку образуют две медные пластины 1 и 2 толщиной 10 и диаметром 150 мм. В углубление, выполненное в пластине 1, помещен тепломер 5, конструкция которого показана на рис.1. Температура нагретой пластины поддерживается на заданном уровне при помощи электрического нагревателя 3, управляемого блоком питания. Температура «холодной» пластины – при помощи аналогичного нагревателя 4 и воды, циркулирующей по змеевику 6, припаянному к крышке пластины 2. Необходимая толщина прослойки устанавливается с помощью распорных фоторопластовых втулок 11, которые надеты на шпильки 12, стягивающие пластины 1 и 2. Торцы прослойки закрыты латунным стаканом 7. Между стаканом и пластинами установлены теплоизоляционные фторопластовые прокладки 8. При помощи поворотного устройства и пружинного фиксатора измерительное устройство фиксируется в нужном положении.

Рис.4. Измерительное устройство.

Для измерения температуры пластин использованы нихромконстантановые термопары с диаметром электродов 0,1 мм. На обеих пластинах для охраны термопар от механических повреждений крепятся колодки 9 и 10.

Электрическая схема прибора (рис.5) состоит из двух частей: схемы электропитания и схемы измерения температур и тепловых потоков. Схема электропитания обеспечивает нагревание пластин, образующих прослойку и автоматическое регулирование температуры. Элементы силовой схемы расположены в блоке питания. Измерительная часть силовой схемы расположена в пульте прибора.