Материал: Конвертерний цех

Внимание! Если размещение файла нарушает Ваши авторские права, то обязательно сообщите нам

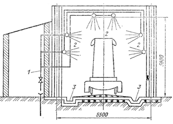
- залізно дорожні колії; 2 - чавуновіз; 3 - рейковий механізм; 4 - міксер; 4а - верхній люк; 4б - зливний носок; 5 - зливний кран; 6 - машина для скачування шлаку; 7 - прийомні зонти; 8 - зливний ківш; 9 - ваги. 10 - утримувальні обойми; 11 - дуго-образні опори.

Рисунок 1. - Розріз верхнього міксерного відділення.

Верхнє шихтове відділення для магнітних матеріалів

Шихтове відділення для магнітних матеріалів споруджено в окремій будівлі конвертерного цеху.

Відділення є одно прольотною будівлею з робочою площадкою, розташованої на рівні робочого майданчику завантажувального прольоту цеху. По всій довжині будинку тягнеться ямний бункер,котрий розділений поперечними стінками на кілька відділень (для роздільного зберігання брухту різного складу). Глибина бункера складає до 4м.

Уздовж бункера, збоку від нього, прокладені два рейкових шляхи: розвантажувальний, на нього прибувають вагони з брухтом, навантажувальні, на які встановлюють скраповози з совками, в яких брухт транспортують в головну будівлю цеху.

Відділення обладнане мостовими магнітними кранами, за допомогою яких брухт із вагонів що прибувають розвантажують в бункери, а з бункерів в совки на навантажувальних шляхах. На виїзді з відділення розташовані залізничні ваги для зважування шихти (разом з мульдами і залізничними платформами).

,2 - завантажувальні шляхи; 3 - розвантажувальні шляхи; 4 - ямний бункер; 5 - візки з мульдами чи совками; 6 - мостовий кран; 7 - вагони з брухтом; 8 - однопрольотна будівля з робочим майданчиком.

Рисунок 2. - план і поперечний розріз верхнього шихтового відділення для магнітних матеріалів.

Нижнє відділення для сипучих матеріалів і феросплавів

Відділення споруджено в окремій будівлі конвертерного цеху. Уздовж відділення розташовані два ряди підвісних металевих бункерів, над кожним з яких проходить розвантажувальний рейковий шлях для вагонів з матеріалами що надходять. Верх бункерів перебуває на позначці ±0. Матеріали розвантажують, відкриваючи люки в днищі вагонів.

Матеріали з відділення видають двома стрічковими конвеєрами, що рухаються уздовж будівлі під бункерами. Для цього вмикають розташовані під бункерами віброживильники, і матеріал надходить з бункера на рухому стрічку. Для сушіння матеріалів у відділенні є барабанні сушила, розташовані в одному з торців будівлі.

Відділення роздягання злитків

У відділення роздягання злитків прибувають состави зі злитками в виливницях з розливного прольоту. Призначення відділення - підготовка составів до подальшої посадки злитків у нагрівальні колодязі.

Відділення являє собою однопрольотну будівлю із трьома наскрізними поздовжніми рейковими коліями на позначці ± 0,0. Відділення обладнане мостовими стриперними кранами, число яких зазвичай не менше двох, і підлоговою стриперною машиною.

У відділенні повинні бути відведені місця для складування (тимчасового) недоливків, бракованих злитків, виливниць, піддонів і нових піддонів.

Злитки відривають від виливниць,піднімаючи їх, після чого состав везуть в будівлю нагрівальних колодязів. Звідси після посадки злитків в колодязі состав з виливницями йде на охолодження.

- стриперний кран; 2 - напільна стриперна машина; 3 - тельфер для проведення ремонтних робіт; 4 - залізничні колії.

Рисунок 3. - Поперечний розріз відділення роздягання зливків.

Відділення підготовки виливниць

Відділення являє собою окрему будівлю з двома наскрізними залізничними шляхами. В будівлі розташована ділянка чищення за котрою по ходу руху составу розташована ділянка змащення.

У відділенні здійснюють чищення і змащення виливниць після їх охолодження на повітрі або за допомогою водяного душу. Чищення та змащення виливниць здійснюють за допомогою машин, розташованих над составами. Состави з виливницями переміщують вздовж відділення за допомогою товкача.

- трубопровід подачі води; 2 - форсунки; 3 - водостоки.

Рисунок 4. - Душирююча установка для охолодження виливниць.

Відділення підготовки составів

Відділення підготовки составів спроектовано у вигляді однопрольотної окремої будівлі обладнаної мостовими кранами. По довжині відділення поділено на ділянку підготовки й ділянку для збирання составів під розлив.

У відділення надходять состави з очищеними і змащеними виливницями, состави з піддонами та центровими та платформи з прибутковими надставками для зборки та остаточної підготовки составів перед відправленням у розливний проліт. Для таких технологічних операцій у відділенні прокладено три наскрізні рейкові шляхи.

1.3 Характеристика планування головної будівлі

Головна будівля (рисунок 5) складається з чотирьох прольотів: завантажу вального, конвертерного і двох розливних. Для забезпечення раціональних вантажопотоків доцільне розміщення прольотів, пов'язаних з розливанням сталі з одного боку головної будівлі, а прольотів, пов'язаних з доставкою брухту, чавуну і прибиранням шлаку, - з протилежного. Завантажувальний проліт, в якому виділяється найбільша кількість тепла, з метою поліпшення аерації доцільне розміщувати крайнім.

- розливний майданчик; 2 - розливні шляхи; 3 - шляхи для подачі вогнетривів; 4 - поперечний широколінійний шлях; 5 - конвертер; 6 - шлях для подачі совків; 7 - шляхи для подачі чавуну; 8 - шлях для вивозу шлаку; 9 - велосипедні крани; 10 - розливний кран; 11 - консольний кран; 12 - сталевіз; 13 - несамохідний шлаковіз; 14 - совки; 15 - чавуновіз; 16 - заливний кран; 17 - фурма; 18 - газохід; 19 - система завантаження сипучих матеріалів.

Рисунок 5. - План і розріз головної будівлі конвертерного цеху.

У конвертерному прольоті встановлено конвертери, фурми з механізмами їх переміщення, системи завантаження сипучих матеріалів і феросплавів і відведення та очищення конвертерних газів. Основне призначення прольоту здійснення технологічних операцій пов'язаних з виплавкою сталі та обслуговуванням обладнання. Конвертерний і завантажувальний прольоти перекриті робочім майданчиком.

Конверторний проліт поділений на три ділянки: конвертор (займає центральну частину, підготовки феросплавів і фурм. По ширині конверторний проліт також поділяється на три частини. Центральну частину над конвертерами займають похилий і вертикальний газоходи котла утилізатора газовідвідного тракту. Далі за ними по одну сторону (у поперечному напрямку) розташовано обладнання системи завантаження сипучих. По іншу сторону розміщені машини для подачі кисню з фурмами.

Для опори устаткування всередині прольоту розміщують один-два ряди допоміжних колон. Пристрої для газоочистки розміщують за межами конвертерного прольоту.

Завантажувальний проліт призначений для приймання совків з брухтом з шихтового відділення і ковшів з чавуном з міксерного відділення з наступним завантаженням їх в конвертора. Завантажувальний проліт обладнаний мостовими заливними й скрапозавалочними кранами.

На робочому майданчику вздовж конвертерів прокладені залізничні колії для чавуновозів і шлях для подачі совків з брухтом. Під конвертерами прокладені поперечні ширококолійні шляхи в бік розливних прольотів і шляхи залізничної колії, що мають за межами будівлі криволінійну ділянку для виїзду на зовнішні шляхи. По цим шляхам порожні ковші після розливу повертаються для приймання чергової порції.

У розливних прольотах, де сталь розливають у виливниці, є розливочні майданчики, розливні шляхи, розливочні і велосипедні крани. У цих прольотах готують і ремонтують розливочні ковші, для обслуговування яких служать консольні крани. Шляхи служать для подачі вогнетривів та прибирання сміття.

Рідкий чавун подають до конвертерів по коліях чавуновозами з розташованого поруч із завантажувальним прольотом верхнього міксерного відділення. Заливні ковші піднімають з чавуновозів і заливають чавун кранами. Сталевий брухт з відділення магнітних матеріалів подають у завантажувальний проліт на шляхи в візках, на яких совки з брухтом знаходяться в поперечному положенні. Перекидання совків з брухтом у нахилений конвертер здійснюють рейковим механізмом, розташованим під робочим майданчиком або механізмом, змонтованим на візку.

Сталь випускають у ківш, встановлений на сталевозі який транспортує ківш в розливний проліт. Шлак зливають в ківш, встановлений на несамохідному шлаковозі, який вивозять з цеху локомотивом по поперечно- криволінійним шляхах.

1.4 Організація основних робіт і обладнання конверторного цеху

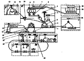
У системі вантажопотоків конвертерного цеху розрізняють такі основні лінії: подачі і завантаження брухту в конвертер; доставки і заливки рідкого чавуну; подачі, дозування і завантаження сипучих та шлакоутворюючих матеріалів; подачі кисню; доставки, дозування, нагрівання і подачі феросплавів в сталерозливні ковші; прийому, транспортування і розливання сталі; збирання і переробки шлаку. Схема основних вантажопотоків конвертерного цеху показана на рисунку 6.

- скраповіз; 2 - несамохідний шлаковіз; 3 - конвертер; 4 - скрапозавалочний кран; 5 - киснева фурма; 6 - система вагового дозування; 7 - конвеєрний тракт; 8 - реверсивні пересувні конвеєри; 9 - витратні бункера; 10 - заливний кран; 11 - самохідний чавуновіз; 12 - стаціонарний міксер; 13 - чавуновозні ковші; 14 - витратні бункера; 15 - печі для прожарювання вогнетривів; 16 - тічка; 17 - сталевіз; 18 - розливний кран; 19 - состави з виливницями; 20 - стриперний кран; 21 - магнітно-грейерний кран; 22 - прийомні бункера; 23 - вагони.

Рисунок 6. - Схема вантажопотоків киснево-конверторного цеху.

Металобрухт подають залізничним транспортом у відділення І магнітних матеріалів і завантажують у прийомні бункера. Совки заповнюють металобрухтом магніто-грейферними кранами. Навантажені совки зважують і встановлюють на скраповоз, що подає їх на робочий майданчик у завантажувальний проліт. Завалку металобрухту в конвертер здійснюють скрапозавалочним краном, вантажопідйомністю 280+100/16т . Для подачі совків з брухтом на робочому майданчику завантажувального прольоту вздовж конверторів розташований один залізничний шлях з верхнього шитого відділення. Чавун доставляють в ковшах чавуновозом з доменного цеху в міксерне відділення IV і краном зливають в стаціонарний міксер. При необхідності чавун видають з міксера в ківш самохідних чавуновозів, транспортують його в завантажувальний проліт до конвертерів. Заливання чавуну виконують заливним краном вантажопідйомністю 280+100/16т. Для передачі чавуновозів на робочому майданчику завантажувального прольоту прокладені два залізничні шляхи.

Сипучі матеріали доставляють в нижнє шихтове відділення II сипучих матеріалів залізничним транспортом. Матеріали із залізничних напів-вагонів розвантажують у прийомні бункера з подальшою видачею електровібраційними живильниками. Подачу матеріалів у витратні бункера конвертерного прольоту III здійснюють похилим конвеєрним трактом і реверсивними пересувними конвеєрами. Система вагового дозування і подачі, що складається з віброживильників, вагових дозаторів, конвеєрів, проміжних бункерів і течки забезпечує завантаження певних порцій шлакоутворюючих матеріалів у конвертер в процесі плавки.

1 - висувна похила тічка; 2 - проміжний бункер; 3 - ваги-дозатор; 4 - стрічкові живильники; 5 - електровібрацій ні живильники; 6 - витратні бункери; 7 - пересувний реверсивний конвеєр; 8 - стрічковий конвеєр; 9 - поперечний стрічковий конвеєр.

Рисунок 7. - Система завантаження сипучих матеріалів в конвертер.

Подачу технічно чистого кисню в конвертер виконують машиною через кисневу фурму. Постачання здійснюється по магістралі з кисневого цеху.

Доставку феросплавів в головну будівлю цеху здійснюють залізничним транспортом у баддях в торець конвертерного прольоту, де розташовані витратні бункера і печі для прожарювання феросплавів. Бадді з феросплавами розвантажують краном у витратні бункери. З них сплави за допомогою вагової тічки видають у контейнери, які краном подають у печі для прожарювання. Прожарені сплави з печей вивантажують в контейнер, який електронавантажувачем доставляють до конвертерів. Тут їх висипають у лоток, який під час випуску металу нахиляють і порції феросплавів послідовно висипаються з нього і через течку падають у сталерозливний ківш на сталевозі.

Сталь зливають з конвертера в сталерозливний ківш, встановлений на сталевозі, який транспортує ківш в розливний проліт, що примикає до конвертерного прольоту. Виливниці заповнюють рідким металом з ковша, переміщуваного розливним краном над составом з виливницями. Після затвердіння і повної кристалізації зливків состави з виливницями подають в стриперне відділення для зняття прибуткових надставок і підриву злитків з розширенням догори. Виливниці з розширенням донизу знімають з візків і направляють на підготовку до наступного наливу. Всі операції виконують стриперним краном.

Потім состав подають в нагрівальне відділення обтискного стану, в якому злитки встановлюють у нагрівальні колодязі, а склад з виливницями направляють на установку для охолодження водою. Після охолодження виливниці надходять у відділення чищення й змащення, а потім у відділення підготовки составів, де здійснюють збиральні роботи і установку на візки піддонів, центрових, прибуткових надставок і т.п. Підготовлені состави знову подають в розливний проліт. Виливниці здійснюють замкнутий цикл роботи і підготовки.

Шлак з конвертера зливають у ківш не самохідного шлаковозу, який вивозять з цеху локомотивом по поперечно-криволінійним шляхам.

2. РОЗРАХУНКОВА ЧАСТИНА

2.1 Вибір ємності і визначення кількості конвертерів

Вибір ємності й кількості конвертерів залежить від різних взаємозалежних факторів. Як показник ємності (маси плавки) конвертера приймається маса рідкої сталі в конвертері. Основний фактор, що визначає вибір ємності конвертера це продуктивність цеху.

При проектуванні конвертерних цехів доцільно встановлювати конвертери максимальної ємності.

Збільшення ємності конвертера поліпшує техніко-економічні показники роботи цеху; підвищується продуктивність, знижуються питомі витрати енерговитрат, вогнетривів, деяких матеріалів плавки й відповідно собівартість сталі, а також питомі теплові втрати, що дозволяє підвищити частку брухту в металошихті.

Для цехів невеликої продуктивності установка одного-двох великих агрегатів, що забезпечують виконання всієї програми цеху, як правило не рекомендується, тому що це приводить до недовантаження устаткування й ускладненням у роботі суміжних цехів і відділень при зупинці конвертера на ремонт.

Отже для кожної заданої продуктивності цеху й інших умов необхідно вибирати найбільш раціональну ємність конвертерів і їхню кількість. Ємність конвертерів коливається в широких межах і досягає 400 т. Найбільш широке поширення одержали конвертери ємністю 100...350 т. ГОСТ 20.067-74 передбачає ряд ємностей конвертерів для виплавки сталі: 100, 130, 160, 200, 250, 300, 350, 400 т.

Виходячи з вищевикладеного, у курсових проектах, залежно від заданої продуктивності цеху, а також варіанта (схеми) роботи конвертерів у цеху, можна приймати номінальні ємності конвертерів у наступних межах.

При виборі ємності конвертерів для заданої продуктивності рекомендуються залежності, наведені в таблиці 6.