Материал: Конвертерний цех

Внимание! Если размещение файла нарушает Ваши авторские права, то обязательно сообщите нам

3.3 Заходи захисту навколишнього середовища від шкідливих викидів конвертерного цеху

При продувці рідкого чавуну киснем в конвертері відбувається вигоряння з чавуну вуглецю та інших домішок. Утворений продукт згоряння (конвертерний газ) містить в основному оксид вуглецю (85-90%), діоксид вуглецю (8-14%), а також невелику кількість кисню, азоту та деяких інших речовин, наприклад сірки( з газовою фазою 7-8% від вмісту сірки в шихті).

У зоні зіткнення кисню з чавуном в конвертері розвивається висока температура (до 3000°С ), при якій випарюються оксиди заліза та інших домішок. Ці пари разом з конвертерним газом виходять з конвертера, охолоджуються і конденсуються, утворюючи велику кількість дрібних частинок пилу. Крім того, конвертерний газ виносить дрібні частинки руди, вапна та інших добавок, що завантажуються в конвертер в процесі плавки. На 1 т плавки в конверторі утворюється до 90 м3 газу і до 20 кг пилу. Пил складається в основному з заліза та його оксидів ( 60-70 %). Запиленість конвертерного газу при виході із конвертера може досягати 250 г/м3. Для уловлювання і відводу конвертерного газу над горловиною конвертера є ковпак (кесон), з'єднаний з газовідвідним газоходом. Будова газовідвідних трактів залежить від того, чи допалюється оксид вуглецю чи ні. При роботі конвертерів без допалювання СО у порожнині застосовують систему без доступу повітря в газовий тракт

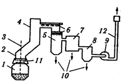
-конвертер; 2- кесон; 3- фурма, 4- камін; 5 - скруббер; 6 - вода; 7 - труба Вентурі; 8- циклон; 9 - нагнітач; 10 - шлам, 11 - рухома юбка, пристрій для опалювання

Рисунок 8. - Схема газовідвідного тракту без допалювання СО

Застосування електрофільтрів в установках без допалювання оксиду вуглецю неможливо, так як ці фільтри вибухонебезпечні із-за виникнення іскр при електричних пробоях. Тканинні ж фільтри недостатньо газощільні і до того ж громоздкі, тому для очистки газів використовують скрубери Вентурі. Мокра очистка газів від пилу без допалювання СО проводиться в апаратах, аналогічних застосовуваних установках для очистки з повним допалюванням СО. Система відводу газу складається із кесону перехідного в каміння, в якій вмонтований котел-утилізатор, де газ охолоджується до 800-900 °С; до охолодження його іде спочатку в горизонтальному газоході за рахунок подачі дрібно розпиленої води, а потім в низьконапірних трубах Вентурі з регулюючим перетином горловини. Коагуляція дрібнодисперсного пилу відбувається в високонапорній трубі Вентурі. Очистка від крупних крапель шламу відбувається в інерційних пило- та бризкоуловлювачах, на яких установлені труби Вентурі. Остаточна очистка газу від укрупненого пилу виконується у відцентровому скрубері.

Склад стічних вод залежить від схеми відводу та очистки від ходячих газів та технологічного процесу. В стічній воді міститься зважених часток до 7000 гм/л. Розміри часток пилу в стічних водах: 0,1-0,04 мм 30% (від загальної кількості зважених частинок) и 0,05-0,01 мм до 70%.

Для очистки стічних вод конвертерного виробництва використовуються в основному радіальні відстійники. Для інтенсифікації іх роботи використовується реагентний метод обробки стічних вод. Після відстоювання вода повертається в систему оборотного водопостачання. При оборотному водопостачанні для освітлення стічних вод використовуються гідроциклони.

Інтенсифікація процесу освітлення стічних вод конвертерних цехів досягається шляхом застосування магнітної коагуляції.

В конвертерному цеху існують 2 окремі замкнуті схеми оборотного водопостачання: для газоочисних установок конвертерів; та для споживачів чистої води конвертерного прольоту.

Для споживачів чистої води конвертерного прольоту існує свій оборотний цикл. Він включає циркуляційну насосну станцію, градирні і фільтри.

ЛІТЕРАТУРА

1.      Якушев А.М. Проектирование сталеплавильных и доменных цехов. М.: Металлургия 1984. - 216 с.

.        Ильинский Б.Д. Охрана труда на предприятиях черной металлургии. М.: Металлургия 1997 - 256 с.

.        Денисенко Г.Ф., Губонина З.И. Охранаокружающей среды в черной металлургии. М.: Металлургия 1989 - 121 с.

.        Металлургическая и горнорудная промышленность 2012 журнал 7.