ВСТУП
В останнє десятиліття в світі і Україні принципово змінена футеровка конвертерів і більш ніж на порядок підвищено її стійкість. Головним чином, завдяки використанню периклазовуглицевих вогнетривів, розбризкуванню кінцевого шлаку на футеровку і різним видам торкретування досягнуті рекордні показники - 25 тис. плавок (США), 35 (КНР), 8 (Росія), до 5 тис. плавок (Україна). Робота на вітчизняних заводах в цьому напрямку триває, подальше підвищення стійкості відбувається за рахунок раціонального підбору шлакоутворюючих матеріалів, модифікаторів шлаку; вогнетривів з різними властивостями для окремих зон із забезпеченням рівномірного зносу всієї футеровки, торкрет-порошків та мас для гарячих ремонтів; впровадження клейових композицій , застосування касетних і моноблочних льоток.
З останніх новинок слід виділити установку між рядами цеглин в конічній і цапфовій зонах конвертера 1,5-мм алюмінієвих прокладок, охолодження за допомогою форсунок повітряно-водяним туманом кожуха конвертера для автоматичного регулювання температури в будь-якій його зоні в межах 250-350°С, створення периклазовуглицевих вогнетривів, посилених нержавіючими сталевими нитками, а також застосування при виробництві вогнетривів безпечних для живої природи зв’язуючих речовин.
Істотну роль у підвищенні стійкості футеровки грають лазерні системи вимірювання профілю та стінок місцевого зносу вогнетривів, що забезпечують автоматичне сканування та видачу даних про їх стан для оперативного втручання розбризкуванням шлаку або торкретуванням.
Вкрай важливим напрямком є створення нових марок сталей, що мають максимально високі технологічні та експлуатаційні властивості стосовно до конкретних виробів. Слід очікувати, що найближчим часом будуть інтенсивно розвиватися напрямки виробництва високоміцних сталей, а також сталей з сумарним вмістом шкідливих домішок S, Р, О, N, Н нижче 100 ppm.
Важливе значення в технології має проміжний ківш, який розглядається не тільки як ємність для розподілу рідкої сталі по струмках, але і як рафінувальний агрегат. З технологічної точки зору також інтерес представляють підігрів, рафінування й можливе долегування рідкої сталі в проміжному ковші, захист сталі від вторинного окиснення.
Найбільш істотну роль у технологічному процесі розливання виконує кристалізатор. Він багато в чому визначає якість сталі, а саме поверхню, первинну структуру, геометрію. В останні роки замість масивних гарячекатаних плит зі свердленими каналами для прохолодної води, застосовують тонкостінні кристалізатори з холоднодеформованих мідних сплавів із фрезерованими каналами.
Однак, найбільш істотним досягненням є створення конструкції й технології м'якого потискання заготовок з неповністю затверділою серцевиною. У результаті цього ущільнюється серцевина, видавлюються ліквати й дробляться дендрити, поліпшується структура осьової зони сляба.
Традиційно вирішуються питання виготовлення й застосування шлакоутворювальних сумішей (ШУС) для проміжних ковшів і кристалізаторів, як правило, власними силами підприємств із використанням місцевих компонентів складових ШУС. Розроблена концепція вибору оптимальних составів гранульованих ШУС.
Подальший розвиток отримує процес дефосфорації чавуну. Раніше дефосфорацію чавуну проводили високоосновним шлаком. Але термодинамічний аналіз і нові дослідження показали, що при звичайних температурах чавуну дуже низькі концентрації фосфору можна отримати при виконанні тільки одного з наступних двох умов: низька активність кисню в шлаку і його висока основність або, навпаки, висока активність кисню при низької основності. Стає більш поширеною обробка низькоосновним шлаком, який містить відповідно високу кількість FеО. Останнє виключає добавки флюориту, що сприяє вирішенню екологічних питань і здешевлює обробку. Дефосфорацію чавуну проводять або в резервному конвертері, або двошлаковим процесом в працюючому, завантажуючи шлак після дефосфорації і залишаючи кінцевий (після зневуглецювання) в конвертері в якості флюсу для подальшої плавки. Керують вмістом FеO при дефосфорації оптимізованим співвідношенням інтенсивності верхньої продувки киснем і донного перемішування. Виявлені переваги: перед дефосфорація не обов'язкова десіліконізація; частка скрапу в шихті не зменшується, так як теплота окислення кремнію використовується в конвертері; легка і ефективна рециркуляція кінцевого шлаку. Недолік: концентрація марганцю в сталі перед розкисленням знижується.
Десульфурація чавуну магнієм, широко використовувана в Європі та Китаї, має суттєві недоліки: вартість флюсу дуже висока і видалення сірчистого шлаку з поверхні чавуну перед продувкою його в конвертері здійснюється не просто, так як кількість шлаку невелика, і він не знаходиться в рідкому стані. Тому наприклад, на 12 металургійних підприємствах Японії (з 16) флюс для десульфурації вводять на механічно перемішуємо чавун, попередньо за допомогою моделювання визначивши цільову гідродинаміку ковша. Потрібних глибин видалення сірки досягають використанням дешевого флюсу на основі вапна, а шлак легко видаляється.
Щоб не зменшувати інтенсивність продувки на першій частині кампанії футеровці (до 1000-й плавки при загальній її стійкості -4000), поки питома обсяг конвертера низький і ймовірність викидів з агрегату висока, використовують фурму з п'ятьма соплами (замість 6) більшого діаметру для "жорсткої" продувки, а далі продувку ведуть 6-сопловой фурмою, збільшивши діаметри її сопел на 12-20% і в підсумку скоротивши тривалість циклу плавки з 32,5 до 31,0 хв. Подібний ефект отриманий раніше на вітчизняних заводах.
Очікується підвищення продуктивності конвертерів і поліпшення ряду інших технологічних показників від використання кисневих фурм зі зміщеними осями сопла Лаваля щодо їх центру, сопла спеціального профілю, що створює пульсуючу продувку.
Результати успішного опробування названої авторами "безшлакової" фурми, в якій зовнішня сталева замінена на певній для кожного конвертера довжині мідною трубою для зменшення або навіть усунення формування настилу на поверхні фурми, наступні: значно збільшився період між очищеннями налиплої сталі; тривалість роботи наконечника зросла приблизно в 3 рази; виробничі простої на очищення від настилу скоротилися більш ніж на 95%; для досягнення технологічних цілей фурма надійно функціонує на висоті менше номінальної на 44%.
Більшу ясність отримали питання розміщення в днищі конвертера донних фурм при комбінованій продувці киснем зверху і нейтральним газом знизу. Рекомендовано встановлювати фурми симетрично на одній окружності замість прийнятих раніше еліптичної або зигзагоподібної конфігурацій, при діаметрі фурм <5 мм. Це забезпечує інтенсифікацію перемішування ванни навіть при меншій витраті нейтрального газу і знижує знос днищ.
Оснащення сталеплавильних лабораторій і цехів новим програмним забезпеченням дозволило за допомогою математичного та фізичного моделювання розширити різноманітність конвертерних дуттєвих пристроїв, головним чином, для підвищення продуктивності і зниження втрат металу при продувці.
На базі вище сказаного можна зробити
висновки, що за не великий період часу зростуть попити на конвертерне
виробництво сталі в декілька разів, це пояснюється тим що зростають попити на
нову продукцію, машинобудування, приладобудування, авіабудування і
електротехніки, гарантують успішний розвиток економіки країни і її базової
галузі - металургії.
1. ЗАГАЛЬНА ЧАСТИНА
1.1
Виробнича програма конвертерного
цеху
Конвертерний цех прийнятий у складі
одного робочого конвертера і одного резервного ємністю 250 т., розливом у
виливниці у дрібні злитки. У конвертерному цеху планується відливати 3,25 млн.
т. придатних злитків за рік. Для проектованого цеху виділяємо такі групи марок
сталей котрі наведені в таблиці 1
Таблиця 1. - Марочний сортамент металу
|
Групи марок сталей |
Марки сталей, що входять у групу |
Частка у сортаменті, % |
Маса придатних злитків ,т |
|
Конструкційні сталі |
|||
|
Вуглецева звичайної якості |
Ст0сп,Ст2сп,Ст4сп,Ст6сп |
12 |
390000 |
|
Вуглецева якісна |
10,15,20,30,35,45,60 |
32 |
1040000 |
|
Легована |
20ФЛ,110Г1,45Г2,35ХГСЛ, 20ХГТ, 8ХГМ,45ФЛ |
18 |
585000 |
|
Низько легована |
15Х1М1Ф,12ХМ,16ГНМ,18Х3МФ, 10ХСНД |
13 |
422500 |
|
Ресорно- пружина |
70С2ХА,60С2Н2А , 51ХФА |
9 |
292500 |
|
Інструментальні сталі |
|||
|
Вуглецева |
У9,У9А,У10,У11,У12А,У10А,У12А У15,У15А |
6 |
195000 |
|
Легована |
9ХФМ,8Х6НФТ,11ХФ,10ХВГ |
10 |
325000 |
|
Всього |
|
100 |
3250000 |
Робота конвертерів передбачається за
технологією верхньої продувки. без допалювання СО в порожнині. Тривалість циклу
плавки приведена в таблиці 2.
Таблиця 2. - Тривалість циклу плавки
|
Операція |
Тривалість, хв. |
|
Завалка скрапу* |
2 |
|
Заливка чавуну |
2 |
|
Продувка |
14 |
|
Відбір проб, вимір температури, очікування аналізу |
4 |
|
Злив металу |
5 |
|
Злив шлаку |
2 |
|
Підготовка конвертера |
3 |
|
Всього цикл плавки |
32 |
Режим роботи конвертерного цеху
складає 365 діб за рік. Режим роботи конвертера визначається тривалістю
капітальних і поточних ремонтів футеровки. Стійкості футеровки може бути
підвищена за рахунок торкретування й ошлакування. Річний фонд робочого часу і
часу простоїв конвертора приведено в таблиці 3.
Таблиця 3. - Режим роботи конвертера
|
Види витрат часу |
Річний фонд часу |
||
|
|
діб |
відсотки |
годин |
|
1. Простої |
|
||
|
1.1 Капітальні ремонт |
4 |
1,2 |
105 |
|
1.2.Поточний ремонт |
8 |
2,2 |
193 |
|
Всього простоїв |
12 |
3,4 |
298 |
|
2. Робочий час |
|
||
|
2.1.Річний фонд роботи |
351 |
96,6 |
8462 |
|
2.2.Календарний час |
365 |
100 |
8760 |
Необхідна кількість матеріалів і
енергоресурсів для виробництва 1 т. сталі у конвертері ємністю 250 т.,
приведено в таблиці 4
Таблиця 4. - Показники роботи киснево-конверторного цеху
|
Найменування |
Витрати |
|
Брухт, кг/т |
260 |
|
Чавун, кг/т |
740 |
|
Феросплави, кг/т |
15 |
|
Вапно, кг/т |
70 |
|
Шпат для рядових сталей, кг/т |
3 |
|
Штат для якісних і низьколегованих сталей, кг/т |
6 |
|
Залізна руда, кг/т |
15 |
|
Кисень, м3 |
50 |
|
Аргон, м3 |
1 |
|
Азот, л/3 |
5 |
|
Вода, т/т |
15 |
|
Електроенергія, кВт*год/т |
25 |
|
Паливо, кг/т |
70 |
|
Вогнетриви для конверторів, кг/т |
2,4 |
|
Вогнетриви для ковшів, кг/т |
10 |
Весь обсяг рідкої сталі
передбачається розливати в зливки сифонним способом. Отриманні злитки
передаються у прокатні цеха для отримання готової продукції. Характеристика
виливниць та злитків приведена у таблиці 5.
Таблиця 5. - Розмірний сортамент злитків.
|
Тип виливниці |
Група марок сталей |
Вага злитку, т |
Частка у сортаменті, % |
|
Наскрізна |
Вуглецева звичайної якості |
8-6 |
55 |
|
|
Вуглецева якісна |
8-6 |
|
|
|
Легована |
7-5 |
35 |
|
|
Низько легована |
7-5 |
|
|
|
Ресорно-пружинна |
6-4 |
10 |
.2 Загальна характеристика
конверторного цеху
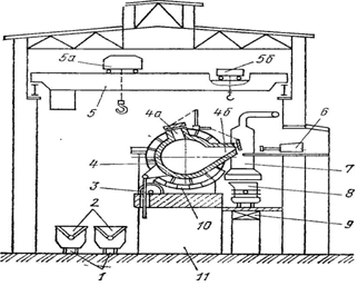
Конвертерний цех являє собою комплекс відділень, що забезпечують проведення циклічних технологічних операцій по виплавці сталі у конверторах та її розлив.
Цех має у своєму складі наступні відділення: головна будівля, верхнє міксерне відділення, верхнє шихтове відділення для магнітних матеріалів, нижнє відділення для сипучих матеріалів і феросплавів, відділення роздягання злитків, відділення підготовки виливниць,відділення підготовки составів.
До складу комплексу цеху входять також допоміжні і енергетичні відділення, що забезпечують його роботу, а саме побутовий й адміністративні корпуса з пішохідною галереєю; ремонтна майстерня; відділення торкретних, шлакових й екзотермічних сумішей; об’єкти водопостачання, включаючи обертові цикли й насосні станції; об’єкти електропостачання, включаючи електропідстанцію; об'єкти постачання технологічними газами (киснем, азотом, аргоном), стисненим повітрям та парою.
Верхнє міксерне відділення
Міксерне відділення розташоване в окремій будівлі конвертерного цеху. У відділенні міксера встановлені на високому фундаменті так, що чавун з нього зливають в заливний ківш котрий переміщують по робочому майданчику на тому ж рівні що і робочий майданчик завантажувального прольоту цеху.
Запас чавуну в міксері забезпечує
безперебійне постачання чавуном конвертерів. Крім того, в міксері відбувається
усереднення складу й температури чавуну різних випусків, що сприяє стабільності
технології виплавки сталі. Міксерне відділення обладнано системою уловлювання
газів,що виділяються при зливі чавуну та їх очищення від частинок графіту.
Приймальні зонти системи розташовують над зливними носками міксерів. У
відділенні також встановлені машини для скачування шлаку з чавуновозних ковшів
перед зливом чавуну в міксер.