Материал: Контроллер заряда аккумуляторной батареи от солнечной панели

Внимание! Если размещение файла нарушает Ваши авторские права, то обязательно сообщите нам

Рисунок 4.6 - Схема подключения аналогового умножителя

Назначение подстроечных резисторов: R21 - коррекция нуля по входу Х0; R22 - коррекция нуля по входу Y0; R23 - коррекция нуля по входу Z0. На практике последовательность регулирования следующая: при нулевых напряжениях на входах Х0 и Y0 резистором R23 устанавливают ноль на выходе; подав на вход Х0 переменное напряжение амплитудой несколько вольт, резистором R22 добиваются минимального его проникновения на выход при нулевом напряжении на входе Y0; подав на вход Y0 переменное напряжение амплитудой несколько вольт, резистором R20 добиваются минимального его проникновения на выход при нулевом напряжении на входе X, R19- точка подстройки масштабного коэффициента 10 в знаменателе передаточной функции:


Вход Zin заведен в отрицательную обратную связь внутреннего операционного усилителя.

4.6 Выбор цифро-аналогового преобразователя

Исходя из того, что входной сигнал для компаратора является аналоговым, вследствие этого на выход микроконтроллера необходимо подключить цифро-аналоговый преобразователь (ЦАП). ЦАП бывают как параллельного типа так и последовательного. Выбор остановлен на параллельном, так как при одинаковой скорости работы микроконтроллера, он будет обеспечивать более широкий диапазон выходных частот, благодаря тому, что пока на последовательный 8 битный ЦАП поступает по очереди за 8 циклов значение выходного напряжения в двоичном коде, в этих 8 циклов параллельный ЦАП сможет принять 8 значений. Выбор остановлен на модели АD7524. ЦАП имеет небольшие габариты, 8 разрядный, работает по параллельному интерфейсу. Диапазон рабочих температур -40±°С до + 85 ±°С. Схема подключения ЦАП приведена на рисунке 4.7.

Рисунок 4.7 - Схема подключения ЦАП АD7524

4.7 Выбор аналого-цифрового преобразователя

Поскольку сигнал с аналогового умножителя поступает на микроконтроллер, то его необходимо оцифровать. Поэтому для преобразования аналогового сигнала в цифровой нужен аналого-цифровой преобразователь (АЦП).

В качестве АЦП выбран АDС08161 со временем преобразования 560 нc, он использует архитектуру двустороннего АЦП со схемой выборки - хранения.

В нем есть внутренний источник опорного напряжения на ширине запрещенной зоны. Этот АЦП не требует внешней синхронизации и осуществляет аналого-цифровое преобразование в полном диапазоне амплитуд входных сигналов. Схема подключения АЦП приведена на рисунке 4.8.

Рисунок 4.8 - Схема подключения АЦП АDС08161

.8 Датчик тока

Так как для отбора максимальной мощности от солнечного модуля нам необходимо умножать ток на напряжение, следовательно для определения величины тока необходим датчик тока. Максимальный ток, который необходимо измерять составляет 0,78 А, что составляет десятую часть от емкости самой мощной аккумуляторной батареи, рассчитанной на данное устройство. В качестве датчика тока используется ИМС АСS712 5А 185 мВА.

Датчик, выполненный в виде микросхемы, состоит из высокоточного линейного датчика Холла, интегрированного на кристалл микросхемы, и медного проводника, расположенного близко к кристаллу. Электрический ток, протекая через проводник, создает магнитное поле, которое фиксируется датчиком Холла и преобразуется в напряжение, пропорциональное значению входного тока.

Встроенный формирователь сигнала фильтрует создаваемое чувствительным элементом напряжение и усиливает его до уровня, который может быть определен с помощью АЦП микроконтроллера.

Схема подключения датчика тока показана на рисунке 4.9.

Рисунок 4.9 - Схема подключения датчика тока

К выводу 8 подключается фильтрующая емкость С13, что позволяет улучшить шумовые и точности характеристики датчиков. В качестве С13 используется К10-17Б 0,1 мкФ.

.9 Датчик напряжения

Как и датчик тока, датчик напряжения необходим для определения величины напряжения, которое генерируется микроконтроллером (для определения максимальной мощности), а так же для отслеживания уровня заряда аккумуляторной батареи (с целью не допустить ее перезаряд или разряд). Датчик напряжения представляет собой совокупность резистивного делителя и операционного усилителя. Схема подключения датчика напряжения приведена ниже на рисунке 4.10.

Рисунок 4.10 - Схема подключения датчика напряжения

В качестве операционного усилителя выбрана микросхема ТL071. Преимуществами данного усилителя являются низкие гармонические искажения и низкий шум. Расчет резисторов проводим аналогично расчету делителя напряжения, который стоит перед компаратором. Задаемся одним из резисторов, например, R3 = 100 кОм и дальше из пропорции где U1 = 20В, U2 = 4,5В вычисляем К2 по формуле

 (4.6)


По ряду Е24 выбираем наиболее приближенное значение сопротивления R2 равное 330 кОм. Резисторы выбираются из серии С2-ЗЗН, мощностью 0,125 Вт.

.10 Выбор устройства индикации

Для взаимодействия между устройством заряда и пользователем, предусмотрено средство отображения информации. В качестве него взят жидкокристаллический дисплей на базе контроллера НD44780. LCD-дисплей имеет два ряда по восемь символов. LCD на базе HD44780 подключается к микроконтроллеру непосредственно к портам. Есть два способа подключения - на 8 бит и на 4 бита. В данном случае можно использовать подключение на 8 бит, так как достаточное количество выводов МК позволяют это сделать. Схема подключения LCD-дисплея приведена на рисунке 4.11.

Рисунок 4.11- Схема подключения LCD дисплея

ЖКИ питается от источника напряжения +5В. В нем также предусмотрена регулировка контрастности выводимого изображения и реализовано переменным резистором сопротивлением R17 = 10 кОм. Выводы А и К необходимы для подсветки экрана. Схема включения и номиналы элементов взяты из технической документации.

Кнопки необходимы для ввода параметров нагрузки и для удобства пользования устройством.

Принимая во внимание тот факт, что используемый микроконтроллер имеет достаточное количество выводов, то нет необходимости строить матричную клавиатуру, с целью уменьшения количества используемых выводов.

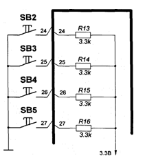
В данном случае используется простое подключение кнопок от питания через ограничительный резистор на контакт МК, как показано на рисунке 4.12.

В качестве кнопки выбираем: ТS-А1РS, кнопка тактовая h = 4.3 мм.

Рисунок 4.12 - Схема подключения кнопок

Подтягивающие резисторы R12-R15 необходимые для того, чтобы при размыкании кнопки (ток непосредственно с шины питания поступает в МК), ограничить его. При отсутствии резистора и скачка напряжения питания, ток на входе МК может превысить предельно допустимый, что приведет к неисправности.


 (4.7)

где Uн - это напряжение питания МК,

Imax - максимально допустимый ток для контакта МК.

Таким образом, величина сопротивлений равна

.

Резисторы берутся из серии С2-ЗЗН мощностью 0,125 Вт и по ряду Е24.

Все номиналы элементов взяты из технической документации на эту микросхему. Принципиальная схема устройства приведена в приложении А.

5. Расчет печатной платы устройства и электронного функционального узла устройства

.1 Определение требований к механическим и климатическим воздействиям

Условия размещения электронного устройства определяют уровень воздействия на него механических и климатических факторов. Поэтому на стадии конструирования необходимо определить характер и уровень этих действий. К таким действиям относятся действие механической вибрации и ударов, температурные воздействия, повышенной и пониженной влажности и давления.

Определение требований к механическим и климатическим воздействиям осуществляется в соответствии с ГОСТ 15150-69.

Климатическое исполнение устройства - В (умеренный). Устройство предназначено для работы в районах с умеренным климатом, где изменение температуры от -45°С до + 45°С, изменение влажности до 80% при температуре 20 ° С. Категория размещения устройства - 1 (для эксплуатации на открытом воздухе).

.2 Выбор элементной базы и предварительная компоновка конструкции электронного устройства

-LТМ4607: на рисунке 5.1 приведен внешний вид и габаритные размеры преобразователя LТМ4607 в корпусе LGA Раскage Lеаd (15 мм х 15 мм х 2,8 мм). Основные параметры преобразователя приведены в таблице 5.1.

Рисунок 5.1 - Внешний вид и габаритные размеры LTM4607

Таблица 5.1 - Основные конструктивные параметры LТМ4607

Параметры

Міn

Мах

Длина


15 мм

Ширина


15 мм

Высота


2,8 мм

Диапазон рабочих температур

-40 °С

-85 °С

КПД


98%

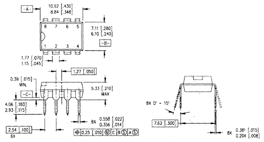
-IR2121 - драйвер быстродействующего силового МОП-транзистора с защитной схемой ограничения тока.

Корпус 8-DIP. В таблице 5.2 приведена информация о назначении выводов микросхемы.

Внешний вид и габаритные размеры микросхемы IR2121 приведены на рисунке 5.2. На рисунке 5.3 показано назначение выводов микросхемы.

Таблица 5.2 - Назначение выводов микросхемы IR2121

Вывод

Назначение

VСС

Напряжение питания логики и драйвера

IN

Логичный, управления выходом драйвера (ОЦГ), в фазе с ОІІТ

ЕRR

Индикация статуса, задания времени срабатывания

COM

Общий логики

OUT

Выход драйвера

VS

Поворотот ключа

СS

Вход контроля тока


Рисунок 5.2 - Внешний вид и габаритные размеры микросхемы IR2121

Рисунок 5.3 - Назначение выводов микросхемы IR2121

Отличительные особенности:

Питание драйвера - 12-18 В;

VCS - 230 мВ;

- on /off (тип.) -150 и 150 нс.

DDЗ-АD8561: Аналоговый компаратор АD8561 имеет следующие технические характеристики:

совместимость с логикой - ТТL, СМOS;

диапазон напряжений питания - 3 ... 10 В;

ток собственного потребления - 4,5 мА;

время распространения сигнала вход-выход - 7 нс;

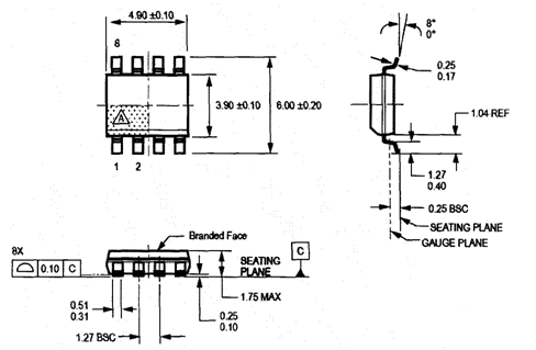
диапазон рабочих температур - 40 ... 1250С.-АСS712: Датчик для измерения постоянного и переменного тока до 30 А на эффекте Холла, интегрированный в компактный корпус SOIC8.

На рисунке 5.4 приведен внешний вид и габаритные размеры датчика тока. В таблице 5.3 приведено назначение выводов датчика.

Рисунок 5.4 - Внешний вид и габаритные размеры датчика тока АСS712

Характеристики АСS712:

время нарастания выходного сигнала 5 мкс;

максимальная частота 50 кГц;

чувствительность от 185 мВ / А

напряжение питания +5,0 В;

гальваническая развязка на пробивное напряжение 2,1 кВ;

сопротивление токовой шины 1,2 мОм;

температура эксплуатации -40 ° С ... + 85 ° С.

На рисунке 5.5 приведены назначение выводов микросхемы АСS712.

Рисунок 5.5 - Назначение выводов АСS712

Таблица 5.3 - Назначение выводов датчика тока АСS8712

Вывод

Назначение

ІР-

Контакты для тока; внутренний предохранитель

ІР+

Контакты для тока; внутренний предохранитель

GND

Земля

FILTER

Разьем для внешнего конденсатора, который устанавливает пропускную способность

VIOUT

Выходной аналоговый сигнал

VСС

Питание микросхемы


DD5- микроконтроллер 1986ВЕ92У, имеет 64-х выводной корпус DIР64. Основные параметры микросхемы 1986ВЕ92У:

·        корпус - 64 вывода;

·        ядро - АRМ СоrTех-МЗ;

·        ПЗУ -128 Кбайт Flash;

·        ОЗУ - 32 Кбайт;

·        питание - 2.2-3.6В;

·        частота - 80 МГц;

·        температура - -60°С ... + 125°С;

·        АDС 12 разрядов 1 Мвыб / с - 8 каналов;

·        DAС 12 разрядов - 1;

·        компаратор - 2 входа;

·        внешняя шина - 8 разрядов.

На рисунке 5.6 представлены внешний вид и габаритные размеры микроконтроллера.

Рисунок 5.6 - Внешний вид и габаритные размеры микроконтроллера 1986ВЕ92У

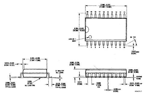
- ЦАП АD7524 имеет корпус DIР16. Внешний вид и габаритные размеры микросхемы представлены на рисунке 5.7. На рисунке 5.8 показано назначение выводов микросхемы АD7524.

В таблице 5.4 приведены основные параметры ЦАП.

Рисунок 5.7 - Внешний вид и габаритные размеры АD7524

Рисунок 5.8 - Назначение выводов АD7524

ОUT1 - выход ЦАП;- инверсный выход ЦАП;- корпус;-DB7- вход ЦАП;

СS- сигнал разрешения работы ЦАП;- сигнал разрешения отправки пакета информации;- питание +5 В. .;- задача опорного напряжения (-10 ... + 10 В);

RFB - обратная связь по заданию коэффициента усиления ОУ.

Таблица 5.3 - Назначение выводов ЦАП АD7524

Параметры

Значение

Рaзделительная способность преобразователя

8

Количество каналов

1

Время установки

250 нс

Скорость преобразования

4 МГц

Интерфейс обмена данными

Параллельный

Тип выхода

Ток

Диапазон выходных напряжений

-Vref; Вір Vref

Максимальная потребляемая мощность

450 мВт

Конфигурация источника опорного напряжения

Ехt

Диапазон напряжений питания аналоговой части

5 В

Рабочая температура

-55 °С...125 °С



DD7 - АЦП ADС08161. Корпус микросхемы АDС08161 - DIР20. На рисунке 5.9 приведены внешний вид и габаритные размеры микросхемы. В таблице 5.5 основные параметры АЦП. На рисунке 5.10 - назначение выводов микросхемы ADС08161

Рисунок 5.9 - Внешний вид и габаритные размеры микросхемы DD7-ADС08161

Таблица 5.5 - Основные параметры АЦП

Параметры

Значение

Разделительная способность

8 бит

Время преобразования (t такт)

560 нс (максимально) (режим WR-RD)

Полная пропускная способность

300 кГц

Частота выборки минимум

1,5 МГц

Рассеиваемая мощность

100 МВт

Некорректируемая общая ошибка

+1/2 МЗР и +1 МЗР максимально