Материал: Классификация усилителей

Внимание! Если размещение файла нарушает Ваши авторские права, то обязательно сообщите нам

СПБГУАП | группа 4736 Контакты https://new.guap.ru/i03/contacts

на предыдущем этапе. Количество последовательно включенных элементов равно n 1, где n – число входов, поэтому быстродействие низкое. Ступенчатый дешифратор строится на основе двух дешифраторов на “m” и “

n m” входов и 2n двухвходовых конъюнкторов. При большом числе входов ступенчатые дешифраторы имеют существенно меньшие аппаратурные затраты, чем линейные и пирамидальные, и большее быстродействие. Дешифраторы выпускают в виде отдельных ИМС. Наиболее часто применяется дешифратор, реализованный на ИМС К155ИД1, и преобразующий двоичный код в десятичное число. Дешифраторы широко применяют в вычислительной и информационноизмерительной технике. Одно из направлений – управление индикаторами, отображающими знаковую информацию.

Примером такого применения может быть схема счета и отображения числа импульсов, приведенная на рис.8.1. Она содержит двоичный счетчик CT2 , который представляет число поступивших на его вход импульсов в двоичном коде, DC - дешифратор, управляющий транзисторными ключами на VT1-VT7 и семисегментный светодиодный индикатор VD1-VD7.

52. Регистр

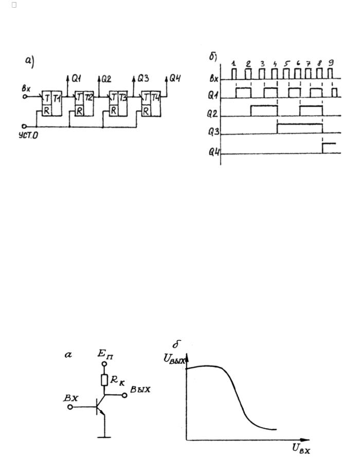
Регистры и счетчики являются цифровыми устройствами последовательного типа. Они относятся к цифровым автоматам с памятью. Числа, которыми оперируют регистры и счетчики, представлены в двоичном коде. Регистром называют цифровой узел, предназначенный для записи и ,хранения, преобразования и выдачи информации. По своей структурной схеме и вытекающим отсюда возможностям регистры подразделяются на параллельные, последовательные и последовательно – параллельные. На рис. 8.2 представлена функциональная схема, условное обозначение и временные диаграммы, поясняющие работу последовательного регистра – регистра сдвига. Регистр сдвига (последовательный регистр) предназначен для записи, хранения, преобразования информации путем ее сдвига под воздействием тактового импульса и выдачи информации. Перед началом работы все триггеры сигналом по шине “уст.0” устанавливаются в нулевое состояние. С каждым тактовымимпульсом информация в виде последовательного кода “продвигается” по Д – триггеру, и после четвертого импульса она оказывается записанной в регистр. Считывать информацию можно в виде параллельного кода с выходов Q4…Q1 или в виде последовательного кода с Q1 после четырех тактовых импульсов

СПБГУАП | группа 4736 Контакты https://new.guap.ru/i03/contacts

53. ЦАП

54.АЦП

55.Счетчики

Счетчики являются необходимым электронным узлом практически любых систем автоматического регулирования, так как почти все параметры, контролируемые цифровой техникой, преобразуются в число импульсов. Цифровые счетчики классифицируются следующим образом. По коэффициенту (модулю) счета: двоичные, двоично – десятичные или с другим основанием счета; с произвольным модулем; с переменным модулем. По направлению счета: суммирующие, вычитающие, реверсивные. По способу организации связей: с последовательным переносом, с параллельным переносом, с комбинационным переносом, кольцевые. Для двоичного счетчика коэффициент счета Ксч, т. е. максимальное подсчитываемое число входных импульсов, определяется разрядностью счетчика, иначе говоря, число триггеров m , Ксч=2m.

СПБГУАП | группа 4736 Контакты https://new.guap.ru/i03/contacts

Введением дополнительных связей двоичные счетчики могут быть преобразованы в недвоичные, для которых Ксч 2m. Наибольшее распространение получили декадные счетчики с Ксч=10. Десятичный счет осуществляется в двоично–десятичном коде (двоичный по коду счета, десятичный по числу состояний). В электронных часах используются счетчики с коэффициентом счета

Ксч=6 и Ксч=12.

56. Фоторезистор

Фоторезисторами называют полупроводниковые приборы, изменяющие свою проводимость под действием лучистой энергии. Принцип действия их основан на появлении дополнительных пар носителей заряда под действием лучистой энергии. Рабочее напряжение у некоторых фоторезисторов достигает до сотен вольт, а отношение светового тока к темновому при освещении 100 лк достигает 100. Однако частотный диапазон фоторезисторов невелик. На частоте порядка 1кГц чувствительность падает почти вдвое.

57. Транзистор в ключевом режиме

Ключевым называется режим работы, когда транзистор длительное время находится либо в состоянии отсечки (транзистор “выключен”), либо в состоянии насыщения (транзистор “включен”). При переходе из одного своего крайнего состояния в другое рабочая точка транзистора перемещается через активную область характеристик, когда транзистор (ключ) работает как обычный усилитель. Длительность перехода, как правило, много меньше времени нахождения транзистора в режиме отсечки или насыщения. Для быстрого переключения, например, из режима отсечки подается ток базы в 1,5...3 раза больше тока базы насыщения Iб.нас., необходимого для “фиксации” транзистора в точке насыщения Iк.нас=Iб.нас.h21оэ, где h21оэ – статический коэффициент усиления по току в схеме с ОЭ. Таким образом, глубина насыщения транзистора, т. е. превышение тока базы над необходимым для создания режима насыщения, будет 1,5...3. Транзисторный ключ на биполярном транзисторе типа n-p-n, включенном по схеме с общим эмиттером с нагрузочным резистором в коллекторной цепи и представлен на рисунке 6.1.

58. Фототранзистор

Это полупроводниковые фотоприборы (ФТ) с двумя p –n-переходами. Часто ФТ изготавливают как обычный германиевый или кремниевый транзистор. Иногда в этом транзисторе делают всего два вывода: эмиттерный и коллекторный Световой поток падает на базовую область. Обозначение ФТ, схема включения и вольт– амперные характеристики показаны на рис.1.4.2 а,б.

СПБГУАП | группа 4736 Контакты https://new.guap.ru/i03/contacts

59.Классификация выпрямителей.

60.Диоды Шоттки

Это полупроводниковый диод, выпрямительные свойства которого основаны на взаимодействии металла и обедненного слоя полупроводника. В диодах Шоттки (ДШ, рис.7) накопления неосновных носителей не происходит, так как перенос тока в них обусловлен переходом основных носителей из полупроводника в металл. Благодаря этому время включения (восстановления) очень мало (до 0,1 нс). Другое достоинство ДШ состоит в том, что для его отпирания требуется напряжение 0,2...0,4 В, что позволяет их использовать в электронных устройствах с биполярными транзисторами, повышая быстродействие последних. Кроме того, микросхемы с транзисторами с ДШ потребляют значительно меньшую мощность, чем аналогичные схемы с обычными транзисторами.