Материал: Гидродинамика. Уравнение Эйлера и Бернулли. Гидродинамическое подобие потоков. Потери напора и энергии в потоке

Внимание! Если размещение файла нарушает Ваши авторские права, то обязательно сообщите нам

Рис. 2.4. Характеристика эжектора ЭП-2-400 при отсасывании насыщенной паровоздушной смеси:

tсм - температура смеси; пунктирная линия - расчетные характеристики при объемной производительности эжектора VH = 1400 м3/ч.

Рис.2.5. Характеристики пароструйных эжекторов ЛМЗ при отсасывании сухого воздуха (по заводским данным):

Устройство и принцип действия паростуйного эжектора типа ЭП-3-600: пароструйный эжектор состоит из собранных последовательно на корпусе водяной камеры трёх эжекторов и трёх кожухотрубных конденсаторов. Эжектируемая паровоздушная смесь из конденсатора паровой турбины подводится к всасывающему патрубку первой ступени. Рабочий пар, подаваемый в сопло эжектора, разгоняется в нем до сверхзвуковой скорости, захватывает в приёмной камере паровоздушную смесь и увлекает её в камеру смешения эжектора, при этом давление эжектируемой паровоздушной смеси на выходе из эжектора увеличивается до 5 раз. Далее паровоздушная смесь из эжектора первой ступени подаётся в конденсатор первой ступени, в котором большая часть водяного пара (до 95%) конденсируется. В приёмный патрубок эжектора второй ступени засасываются паровоздушная смесь из конденсатора первой ступени. Процесс повторяется. Конденсат пара сливается через патрубки в нижней части конденсаторов [6]. Чертеж эжектора типа ЭП-3-600 представлен в графической части.

Характеристика эжектора при отсасывании им сухого воздуха или паровоздушной смеси определенной температуры состоит из двух различных участков. На первом участке, отвечающем изменению расхода воздуха от нуля до некоторого значения  и называемом рабочим (участок ab, рис. 2.4), характеристики сравнительно пологие, на втором участке, отвечающем GB> и называемом перегрузочным (участок bc), они значительно более крутые.

Массовая производительность эжектора , превышение которой при данных условиях работы эжектора вызывает его перегрузку, называется максимальной рабочей производительностью эжектора.

Два участка характеристики эжектора соответствуют двум различным режимам работы его первой ступени: предельному и допредельному, а переход от одного из этих режимов к другому зависит от того, является ли действительное противодавление первой ступени большим или меньшим, чем ее предельное противодавление (рс)пр. На рис. 2.6 вверху схематически представлена серия характеристик рс = f (u) при различных давлениях инжектируемого пара рн и постоянном давлении рабочего пара рр. Линия ab есть линия предельных противодавлений; она определяет переход от допредельного режима к предельному.

На рис. 2.6 внизу представлена зависимость давления всасывания от коэффициента инжекции. При работе эжектора на предельном режиме существует однозначная зависимость давления всасывания от коэффициента инжекции (cd, рис. 2.6).

Рис 2.6 - Характеристика первой ступени эжектора

Режим работы каждой последовательно включенной ступени эжектора зависит от фактического противодавления, которое устанавливается после ее диффузора и которое в свою очередь зависит от режима работы эжекционной установки в целом.

На рис. 2.6 представлены для эжектора первой ступени зависимости давления всасывания от коэффициента инжекции для двух характерных случаев:

) наклон линии фактических противодавлений (1-1) больше наклона линии предельных противодавлений (ab). Эжектор при коэффициентах инжекции больших, чем в точке пересечения этих линий (m), работает на допредельном режиме, а при коэффициентах инжекции меньших, чем в точке m,- на предельном. При этом, как видно из рис. 2.6, на участке u<um давление всасывания определяется предельным режимом, а при u>um давление всасывания оказывается выше, чем при работе на предельном режиме. Характеристика рн = f (u) представляется ломаной линией сnе;

) наклон линии фактических противодавлений (2-2) меньше наклона линии предельных противодавлений ab. Эжектор работает на допредельном режиме при коэффициентах инжекции меньших, чем в точке пересечения m, а его характеристика рн = f (u) на этом участке расположена выше предельной характеристики сn (линия kn); при u>um характеристика эжектора рн = f (u) изображается линией nd.

В многоступенчатом эжекторе все ступени, кроме последней, работают в условиях переменного давления всасывания и противодавления. При этом, как правило, имеет место случай 1, т. е. наклон линии фактических противодавлений рc = f (u) больше наклона линии предельных противодавлений. Последняя ступень работает с постоянным противодавлением, превышающим атмосферное лишь на небольшую величину, равную потере давления в концевом холодильнике и выхлопной линии. Возможны две схемы работы последней ступени (рис. 2.7):

) вся линия предельных противодавлений (ab) лежит выше атмосферной линии. В этом случае при любом коэффициенте инжекции эжектор работает с противодавлением ниже предельного и характеристика рн = f (u) представлена линией cd (рис. 2.7, а);

) линия предельных противодавлений ab пересекает атмосферную линию в точке m (рис. 2.7, б). В этом случае характеристика рн = f (u) представлена ломаной линией knd.

Рис 2.7 - Характеристики последней ступени эжектора:

а - предельное противодавление выше атмосферного; б - предельное противодавление ниже атмосферного (при малых u).

Последняя ступень должна, как правило, работать по схеме 1, т. е. вся линия предельных противодавлений должна лежать выше атмосферной линии. Рабочий участок характеристики определяется работой первой ступени эжектора на предельном режиме, а перегрузочная часть - переходом первой ступени на допредельный режим. При увеличении по какой-либо причине давления всасывания второй ступени (т. е. противодавления первой ступени) пересечение линий фактического и предельного противодавления происходит при меньшем коэффициенте инжекции, т. е. раньше наступает перегрузка эжектора. К такому же результату приводит снижение предельного противодавления первой ступени, например, в результате снижения давления рабочего пара.

По приведенным выше уравнениям может быть построен как рабочий, так и перегрузочный участки характеристики [5].

3. Инженерно-технологический расчет


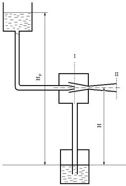
Рис. 3.1 - Водоструйный насос

Требуется выкачивать G=215 дм3/мин раствора относительной плотности 1,06 из подвального бака водоструйным насосом (рис.1). Высота подъёма H=3,8 м. Давление воды перед насосом ризб=1,9кгс/см2 (~0,19 МПа). КПД насоса η=0,15. Сколько кубометров воды будет расходовать в 1 ч водоструйный насос [4]?

Переведем величины:

G = 215 дм3/мин = 12,9 м3/ч = 0,00618 м3/с; ρж = 1,06×1000 = 1060 кг/м3.

Производимая насосом полезная работа (мощность):

Nпол = Gρжg/3600; (3.1)

Nпол = 12,9×1060×9,81×3,8/3600 = 141,6 (Вт).

Затрачиваемая насосом мощность:

гидродинамический бернулли паростуйный эжектор

 (3.2)

 

Напор рабочей воды перед насосом Hp:

; (3.3)

 

Расход рабочей воды составляет:

 (3.4)

 

Ответ: 22,25 м3.

Список использованной литературы и информационных источников


1. Плаксин, Ю.М. Процессы и аппараты пищевых производств: учебники и учеб. пособия для студентов высш. учеб. заведений / Ю.М. Плаксин, Н.Н. Малахов, В.А. Ларин - 2-е изд., перераб. и доп. - М.: КолосС, 2007. - 760 с.: ил.

. Кавецкий, Г.Д. Процессы и аппараты пищевой технологии: учебники и учеб. пособия для студентов высших учебных заведений / Г.Д. Кавецкий, Б.В. Васильев - 2-е изд., перераб. и доп. - М.: Колос, 2000 - 551 с.

. Остриков, А.Н. Процессы и аппараты пищевых производств: учеб. для вузов: в 2 кн. / А.Н. Остриков, Ю.В. Красовицкий, А.А. Шевцов и др.; под ред. А.Н. Острикова. - СПб.: ГИОРД, 2006. - Кн. 1. - 632 с.: ил.

. Павлов, К.Ф. Примеры и задачи по курсу процессов и аппартов химической технологии: учебное пособие для вузов / К.Ф. Павлов, П.Г. Романков, А.А. Носков; под ред. чл.-корр АН СССР П.Г. Романкова - 10-е изд., перераб. и доп. - Л.: Химия, 1987. - 576 с.: ил.

. Соколов, Е.Я. Струйные аппараты / Е.Я. Соколов, Н.М. Зингер -3-е изд., перераб. - М: Энергоатомиздат, 1989.- 352 с.: ил.