Материал: Гидродинамика. Уравнение Эйлера и Бернулли. Гидродинамическое подобие потоков. Потери напора и энергии в потоке

Внимание! Если размещение файла нарушает Ваши авторские права, то обязательно сообщите нам

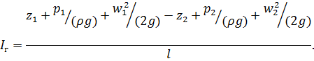
Для двух поперечных сечений трубопровода 1-1 и 2-2 уравнение (1.11) можно записать так (рис 1.4):

 (1.12)

Рис 1.4 - Схема трубопровода

Величина  является полным гидродинамическим напором.

Здесь z, как раньше уже отмечалось, - нивелирная, или геомет-рическая, высота, р/(ρg) - статический пьезометрический напор, скоростной, или динамический, напор, который характеризует удельную кинетическую энергию в данной точке жидкости. Единицы измерения динамического напора, как и остальных членов уравнения Бернулли, 1 м или 1 Н∙м/Н.

Таким образам, из уравнений (1.11) и (1.12) следует, что при установившемся движении идеальной жидкости гидродинамический напор остается постоянным для любого сечения потока. Имея в виду энергетический смысл каждого члена уравнения Бернулли, можно утверждать, что при установившемся движении идеальной жидкости сумма потенциальной  и кинетической  энергии жидкости есть величина постоянная для любого поперечного сечения потока.

При изменении поперечного сечения потока происходит переход потенциальной энергии в кинетическую и наоборот. Уравнение Бернулли выражает частный случай закона сохранения энергии и является уравнением энергетического баланса потока идеальной жидкости.

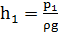
Рассмотрим поток идеальной жидкости, движущейся в трубопро-воде переменного сечения. В сечениях 1-1 и 2-2 (рис. 1.5) нивелирные высоты будут равны соответственно z1 и z2, а площади поперечных сечений - f1 и f2. Установим в этих сечениях пьезометрические трубки и трубки Пито. Как известно, с помощью пьезомтрических трубок измеряют статический напор (линия Р-Р). Жидкость поднимается в пьезометрических трубках на высоты, соответствующие статическому напору  и  Трубки Пито представляют собой пьезометрические трубки, у которых

Рис 1.5 - Диаграмма Бернулли для идеальной жидкости

нижний конец загнут навстречу потоку жидкости. Используют трубки Пито для измерения полного гидродинамического напора.

Разность высот, измеряемых трубкой Пито и обычной пьезометрической трубкой, равна , представляет собой высоту, соответствующую скоростному напору.

Так как f1>f2, то согласно уравнению неразрывности потока . Но полный гидродинамический напор

Зная z1 и z2, можно определить скоростной напор в каждом сечении по разности уровней жидкости в обычных пьезометрических трубках и трубках Пито.

Измерив высоту, соответствующую скоростному напору, можно найти скорость движения жидкости в той точке, в которой расположен загнутый наконечник трубки Пито:

где h - высота, соответствующая скоростному напору.

Уравнение Бернулли для потока идеальной жидкости немного видоизменяется, т.к. реальная жидкость в отличие от идеальной обладает вязкостью. Вязкость обусловливает возникновение в потоке жидкости сил внутреннего трения, которые оказывают гидравлическое сопротивление движению жидкости. На преодоление возникающего сопротивления расходуется часть потенциальной энергии потока (так называемый потерян-ный напор). Поэтому общий гидродинамический напор будет непрерывно уменьшаться по длине потока.

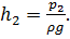
Рассмотрим движение струйки вязкой жидкости в трубопроводе, изображенном на рис. 1.6.

Рис 1.6 - Диаграмма Бернулли для вязкой жидкости

В общем случае баланс энергии при движении вязкой жидкости запишется так:

 (1.13)

где hп - потерянный напор, который характеризует энергию, израсходованную на преодоление гидравлического сопротивления.

Из уравнения (1.13) получим

 (1.14)

Пьезометрическим уклоном называют падение потенциальной энергии на единицу длины потока:

где l - расстояние между сечениями I-I и 2-2 на рис. 1.6.

Гидродинамический (гидравлический) уклон представляет собой падение гидродинамического напора также на единицу длины потока:

Для горизонтального постоянного сечения трубопровода w1=w2; z1=z2. В этом случае уравнение (1.14) можно переписать так:

Таким образом, движущая сила - перепад давлений - расходуется на преодоление гидравлического сопротивления, а гидродинамический и пьезометрический уклоны одинаковы по величине и направлению.


Гидродинамическое подобие потоков

Движение вязкой жидкости, как и любое сложное явление природы, может быть описано чисто теоретически с помощью дифференциальных уравнений. Эти уравнения описывают целый класс однородных по своей сущности явлений, и для применения их к конкретному условию они должны быть ограничены так называемыми условиями однозначности (геометрическими, физическими, граничными и начальными). Сложность основных уравнений гидродинамики, например уравнений Навье-Стокса, приводит к тому, что для многих практических задач не удается найти точное аналитическое решение, или же оно оказывается очень громоздким.

Совокупность параметров, обуславливающих какой-либо гидродинамический процесс, можно рассматривать как конкретное решение дифференциальных уравнений этого процесса. Ему соответствует вполне конкретные начальные и граничные условия. Они представляют собой зависимости или константы, определяющие физические параметры в начальный момент и на границах во время движения. Следовательно, не только уравнения процесса, но также безразмерные формы начальных и граничных условий подобных потоков должны быть одинаковыми. Имея это в виду, запишем уравнения Навье-Стокса для несжимаемой жидкости:

где р - давление; μ - динамическая вязкость; w - скорость; ρ - плотность; τ - время.

В этом уравнении первый член характеризует изменение давления потока в направлении оси абсцисс, второй член - силу трения, третий - силу тяжести, четвертый и пятый - силы инерции. Учитывая физический смысл членов уравнения, запишем

где Р - сила давления; Т - сила трения; G - сила тяжести; I1 и I2 - силы инерции.

При расчете трубопроводов представляют интерес соотношения следующих сил: давления и инерции Р/I1, инерции и трения I1/Т, тяжести и инерции G/I1 и, наконец, соотношение инерционных сил I1/I2.

Применим метод получения критериев подобия. Из соотношения сил инерции и трения получим безразмерный комплекс wxρ/μ, который называется критерием Рейнольдса и характеризует гидродинамическое подобие:

Здесь d - диаметр трубопровода; d является характерным линейным размером.

Из соотношения сил давления и инерции получим критерий Эйлера:

а из соотношения сил тяжести и инерции - критерий Фруда:

Отношение сил инерции позволяет получить критерий гомохронности Ho=wτ/d, который характеризует временнόе подобие в нестационарных процессах.

Полученные критерии подобия, за исключением критерия Эйлера, состоят только из параметров, входящих в условия однозначности, следовательно, они являются определяющими, а критерии Эйлера - определяемым (давление не входит в условия однозначности и является искомой величиной).

На основании второй теоремы подобия связь между критериями представим в виде критериального уравнения

где Г=l/d - параметрический критерий; l - длина трубопровода.

Для стационарного процесса из уравнения следует исключить критерий гомохронности Но:

В случае развитого турбулентного режима силы тяжести не оказывают влияния на движение жидкости и уравнение имеет вид

 (1.15)

или

где Δр - потерянный напор в трубопроводе длиной l, H/м2.

Умножим и разделим правую часть уравнения на 2.

Тогда Δp=f3(wdρ/μ; l/d)(ρw2/2).

Вынесем симплекс l/d из-под знака функции:

Обозначим f4(wdρ/μ) через λ и окончательно получим уравнение, которое называется уравнением Дарси - Вейсбаха и является основным при расчете трубопроводов:

 (1.16)

Если разделим левую и правую части уравнения (1.16) на ρg, то получим потерянный напор в трубопроводе (в м)

 (1.17)

Коэффициент гидравлического сопротивления λ в этих уравнениях в общем случае зависит от режима движения жидкости н относительной шероховатости трубы.

Вид расчетной формулы для коэффициента гидравлического сопротивления определяют на основании экспериментальных данных [5].

2. Описание и анализ аппаратов гидродинамических процессов


Эже́ктор - (от éjecter - выбрасывать от лат. ejicio) - устройство, в котором происходит передача кинетической энергии от одной среды, движущейся с большей скоростью, к другой. Эжектор, работая по закону Бернулли, создаёт в сужающемся сечении пониженное давление одной среды, что вызывает подсос в поток другой среды, которая затем переносится и удаляется от места всасывания энергией первой среды.

Эжекторы используются в струйных насосах, например водоструйных, жидкостно-ртутных, паро-ртутных, паромасляных.

Рис 2.1 - Схема эжектора,

где lк - длина камеры смешения (КС); lс - расстояние от КС до сопла; ????д - угол раскрытия; nд - угол уширения диффузора; Рр - давление, подаваемое насосом; Qp - расход активной струи; Рn - давление на входе подсасываемой жидкости, Рв - на выходе из эжектора; Fk и Fc - соответственно площади сечений в конце КС и среза сопла; Wс - скорость истечения струи; dc - диаметр среза сопла

К газоструйным эжекторам относятся струйные аппараты со степенью сжатия более 2,5. При такой степени сжатии оптимальной является коническая форма камеры смешения. Наибольшее распространение газоструйные эжекторы получили в конденсационных установках паровых турбин, где пароструйные эжекторы служат для создания и поддержания давления в конденсаторе около 3-10 кПа, а также в пароэжекторных холодильных установках, где для охлаждения воды до 4-6 °С необходимо поддерживать давление в испарителе около 1 кПа.

Для увеличения производительности и сохранения большой степени сжатия в газоструйных эжекторах камера смешения в этих аппаратах выполняется из двух частей: развитой конической сужающейся части (конфузора) и последующей цилиндрической части (горловины).

На рис. 2.2 схематически изображен профиль проточной части эжектора этого типа и указаны основные обозначения. Выходное сечение рабочего сопла условно совмещено с входным сечением камеры смешения, состоящей из конической и цилиндрической частей:

Рис 2.2 - Профиль проточной части и изменение давления по длине эжектора: А - рабочее сопло; В - конический участок камеры смешения; С - цилиндрический участок КС; D - диффузор.

Согласно условиям fр2=fр1; wр2=wр1 при расчетном режиме рр2р1н

β = f2/f3 - отношение сечений начала и конца конической части камеры смешения;

 (2.1)

ПГ3 - отношение давлений в начале и в конце цилиндрической части камеры смешения. Угол конусности конфузора на основании многочисленных испытаний, проведенных в основном турбостроительными заводами - изготовителями пароструйных эжекторов конденсационных установок, обычно принимается равным 5-7°, значения β=f2/f3 лежат в пределах 2-3. Газоструйные эжектора без диффузора используются в случаях, когда необходимо получить после эжектора сжатый поток, движущийся с большой скоростью. В этом случае давление в конце цилиндрической камеры смешения р3 устанавливается равным давлению рс в пространстве, куда вытекает поток. Скорость смешанного потока на выходе из камеры равна λсз. Достижимые коэффициенты инжекции и степени сжатия струйных эжекторов без диффузоров меньше, чем для аппаратов с диффузорами. Основной геометрический параметр "бездиффузорного" газоструйного эжектора определяется расчетом.

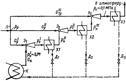
Пароструйные эжекторы,. служащие для отсоса паровоздушной смеси из конденсатора, при нормальной работе турбины должны обеспечить общую степень повышения давления примерно 20-30 (с 3-5 до 100 кПа). Поэтому они выполняются, как правило, двух- или трехступенчатыми (см. рис. 2.3). В первой ступени давление отсасываемой из конденсатора паровоздушной смеси повышается в 4-5 раз, например с 4 до 20 кПа, после чего она поступает в промежуточный холодильник, а затем во вторую ступень эжектора, где давление ее повышается до атмосферного.

Рис. 2.3 - Принципиальная схема трехступенчатой паровоздушной струйной установки:

Э13 - струйные эжекторы соответственно первой, второй и третьей ступеней; X1 - ХЗ - холодильники соответственно первой, второй и третьей ступеней; К - конденсатор, из которого отсасывается паровоздушная смесь; П - коллектор рабочего пара; Д13 - дренажи конденсата из холодильников соответственно первой, второй и третьей ступеней.

В трехступенчатом эжекторе сжатие смеси протекает аналогично, с той только разницей, что оно распределяется между тремя последовательно включенными ступенями, причем и в этом случае за каждой ступенью эжектора имеются холодильники. Характеристики многоступенчатого эжектора определяются основными размерами проточной части ступеней эжектора и эффективностью работы промежуточных холодильников.

В условиях эксплуатации основными причинами, вызывающими изменения давления всасывания эжектора, являются изменения расхода отсасываемого воздуха и температуры паровоздушной смеси. Вследствие этого наиболее удобными для практических целей являются характеристики эжектора, представленные в форме зависимости давления всасывания рв перед ступенью эжектора от расхода сухого воздуха GB при различных температурах отсасываемой паровоздушной смеси tсм (рис. 2.4). Аналогичный характер имеет характеристика эжектора при отсасывании сухого воздуха (рис. 2.5).