Материал: Физические и химические свойства серной кислоты

Внимание! Если размещение файла нарушает Ваши авторские права, то обязательно сообщите нам


         КОНСТРУКЦИЯ ОСНОВНОГО АППАРАТА

В абсорберах серная кислота извлекает из газовой смеси только триоксид серы, остальная часть газа, пройдя абсорберы, удаляется в атмосферу. Обычно SO3 поглощается в двух последовательно соединенных абсорберах: в первом - олеумном и во втором - моногидратном.

Основной показатель работы абсорбционного отделения - полнота абсорбции SO3; при оптимальном режиме моногидратного абсорбера отходящие газы практически прозрачны, в них содержатся только следы серной кислоты. При концентрации кислоты, орошающей моногидратный абсорбер, менее и более 98,3% H2 SO4 образуется туман и отходящие газы становятся видимыми. В моногидратном абсорбере туман образуется также при повышенной влажности газа. Обычно в газе после сушильных башен остается 0,01% водяных паров. Поскольку в газе после контактного аппарата содержится большое количество SO3, то при охлаждении газа пары воды полностью превращаются в пары H2SO4, концентрация которых составляет также 0,01%, или 0,437 г/м3.

Пары серной кислоты конденсируются на поверхности насадки абсорбера. При очень низкой температуре орошающей кислоты или при повышенной влажности газа (содержание серной кислоты в газе более 0,437 г/м3) часть паров серной кислоты конденсируется в объеме с образованием тумана, который не осаждается в абсорберах и выбрасывается в атмосферу.

При выпуске товарной продукции в виде технической контактной кислоты ее обычно выводят из сушильных башен. Для этого в одной из сушильных башен поддерживают концентрацию кислоты, соответствующую стандартным требованиям на контактную техническую серную кислоту, и по мере накопления ее передают из сборника на склад. В таких случаях в абсорбционном отделении (где происходит разбавление) выделяется значительно больше тепла, чем при выпуске олеума, поскольку моногидрат приходится разбавлять водой[1].

.1     
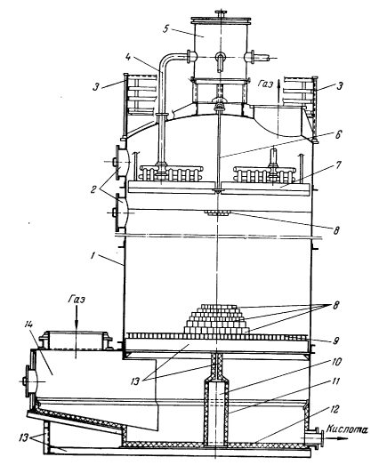
Олеумный абсорбер

Рис. 3 Конструкция олеумного абсорбера

- стальная обечайка; 2 - люки; 3 - ограждение на крышке; 4 - труба для подачи кис-лоты; 5 - напорный бачок; 6 - тяга для подвески плит; 7 - плита стальная со стаканчиками для распределения кислоты; 8 - насадка (снизу по дна ряда колец 150x150, 120X120, 100х100, 80X80 мм, сверху 143 ряда колец 50x50 мм); 9 - колосниковая решетка; 10 - стойка (стальная труба); 11 - стальная сетка с кислотоупорной обмазкой: 12 - днище (кислотоупорный кирпич); 13 - опорные балки; 14 - газовая коробка.

На старых заводах стенки абсорбера футерованы кислотоупорным кирпичом, а колосниковая решетка смонтирована из андезитовых или других кислотоупорных плит. На новых контактных заводах стальные стенки олеумного абсорбера не футерованы, колосниковая решетка смонтирована из стальных балок.

Для равномерного распределения кислоты по насадке абсорбера применяются различные устройства и приспособления - стальные плиты, в которые вставлены стальные или фарфоровые трубки, распределительные желоба, распылители и др. На новых контактных заводах устанавливают стальные распределители кислоты, по конструкции аналогичные устройствам для распределения сушильной кислоты. Поскольку даже для выпуска всей продукции в виде олеума только 1/3 триоксида серы должна поглощаться в олеумном абсорбере, поверхность соприкосновения в нем газа с орошающим олеумом может быть небольшой, вследствие чего на некоторых заводах устанавливают олеумные абсорберы без насадки. Необходимая поверхность соприкосновения газа с жидкостью создается путем разбрызгивания олеума.

Размеры олеумного абсорбера и количество олеума, подаваемого на орошение, зависит от производительности сернокислотной системы. Обычно на 1 т/ч продукции требуется поверхность насадки в абсорбере от 600 до 1000 м2 при скорости газа в насадке до 1 м/с и плотности орошения 10-12 м3/м2 сечения олеумного абсорбера.

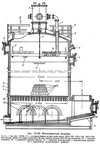
.2      Моногидратный абсорбер

Моногидратный абсорбер орошается 98,3%-ной серной кислотой. В абсорбере кислота поглощает SО3 и концентрация ее повышается. В сборнике моногидрата кислота разбавляется водой или сушильной кислотой до начальной концентрации и через холодильник вновь поступает на орошение моногидратного абсорбера; плотность орошения составляет около 20м3/(м2*ч).

Рис. 4 Конструкция моногидратного абсорбера

- стальная обечайка: 2 - кислотоупорный кирпич; 3 - асбест; 4 - люки; 5 - тяги для подвески плиты; 6 - напорный бачок; 7 - труба для подачи кислоты; 8 - ограждение на крышке; 9 - крышка; 10 - распределитель кислоты по плите; 11 - смотровое окно; 12 - насадка (снизу по два ряда колец 150 X 150. 120х 120. 100x100 80X 80мм, выше 144 ряда колец 60X 50 мм, сверху кольца 80Х80 мм навалом); 13 - газовая коробка; 14 - стальная опорная балка; 15- опорная конструкция с кирпичными арками;16 - кирпичная колосниковая решетка.

На некоторых установках олеумный абсорбер подключен к моногидратному абсорберу в шунт. В этом случае газ после ангидридного холодильника разделяется на два потока, один из которых направляется непосредственно в моногидратный абсорбер, а второй вначале поступает в олеумный абсорбер, а из него в моногидратный. Такая схема позволяет включать в работу олеумный абсорбер только в тех случаях, когда необходимо выпускать олеум.[1,11]

Предлагается иная конструкция абсорбционной башни, которая включает в себя (рис5): футерованный кислотоупорным кирпичом корпус (1), тангенциально выполненный входной патрубок для ввода газовой или воздушной смеси (2), выложенную из кислотоупорного кирпича цилиндрическую газораспределительную решетку (3), имеющую сквозные каналы разной длины для прохода газа на каждом ее уровне. На газораспределительной решетке выложен из кислотоупорного кирпича цилиндрический корпус такого же диаметра (4). Корпус башни заполнен насадкой (5) и снабжен кислотораспределительным устройством (6).

Абсорбционная башня работает следующим образом:

Газовая смесь или воздух поступает через входной тангенциально выполненный патрубок (2) в кольцевое пространство между корпусом (1) и внутренним, выложенным из кислотоупорного кирпича, цилиндрическим корпусом (4) на газораспределительной решетке (3), распределяется по всему периметру кольцевого пространства и равномерно поступает через газовые каналы газораспределительной решетки на насадку абсорбционной башни (5), на которой происходят теплообменные и массообменные процессы. Насадка орошается концентрированной серной кислотой через кислотораспределительные устройства (6)[12]

Рис 5

Для системы мощностью <http://chem21.info/info/318104> 120 т в сутки абсорберы устанавливаются диаметром 3,3 м. Распределение орошающей кислоты производится <http://chem21.info/info/1690954> с помощью системы <http://chem21.info/info/1354445> стальных или чугунных желобов, расположенных под крышкой абсорбера. Высота олеумного абсорбера <http://chem21.info/info/666490> 12 м, а моногидратного - 13,5 м.

Схемы абсорбционных отделений на заводах мало отличаются друг от друга, сходны также применяемые технологические режимы. Ниже приведены примерные нормы технологического режима абсорбционного отделения на одном из контактных заводов[1]:

Температура на выходе из абсорбера, °С, не более олеумного......................................................................................................... 60

моногидратного.......................................................................................... 60

Концентрация орошающей кислоты в абсорбере

в олеумном, % SO3 (своб).....................................................................20±1

в моногидратном, % H2SO4............................................................ 98,6±0,2

Степень абсорбции, %, не менее....................................................... 99,95

.3      Технологические характеристики абсорберов

Производительность завода, т/ч

H2S04 ………………………………………………………………….10

Степень превращения х………………………………………………………0,98 Полнота поглощения SO3

в олеумном абсорбере y……………………………………………….0,5

общая z ……………………………………………………………………..0,9995

Концентрация

олеума, орошающего олеумный абсорбер Со, % SО3(своб) …20 [85,3% S03 (общ)]

моногидрата См, % H2SO4……………………………98 [80% S03 (общ)]

сушильной кислоты Сп, % H2SO4 ………....……………………………93

Расход обжигового газа, м3/ч ……………………………………. 26820

в том числе:

so2 …………………………………………………………………… 2350

О2 ...…………………………………………………………………….2220

N2 …………………………………………………………………... 21460

пары Н2О ………………………………………………………...……660

SO3 ………………………………………………………………………130

Барометрическое давление Р, Па ………………………………..1.01*105

Разрежение перед сушильной башней Pp, Па……………………,9*103

Температура газа на входе в сушильную башню, °С………………….32

Давление паров воды в этом газе РН2O, Па ……………….4,75*103

Содержание S02 в газе после разбавления воздухом и осушки а,%..........7

        
ТЕХНИКО-ЭКОНОМИЧЕСКИЕ ПОКАЗАТЕЛИ ТЕХНОЛОГИИ СЕРНОЙ КИСЛОТЫ

Себестоимость серной кислоты существенно зависит от вида перерабатываемого сырья, так как стоимость серы в различном сырье неодинакова. Например, стоимость 1 т серы в колчедане в 2 раза ниже, чем в природной сере; стоимость серы в отходящих газах металлургической промышленности вообще не учитывается.

Влияние типа сырья на себестоимость сказывается также в том, что технологическая схема и ее аппаратурное оформление различны при работе на различном сырье. Так, при использовании природной серы отпадает необходимость промывки газа, а при сжигании сероводорода не нужны промывка и осушка газа, благодаря чему уменьшаются затраты на переработку сырья. Себестоимость серной кислоты зависит и от многих других факторов: удаленности сернокислотного завода от источников сырья, стоимости воды, электроэнергии и др.

С увеличением производительности сернокислотной системы себестоимость продукции понижается, так как при этом уменьшаются амортизационные расходы, повышается производительность труда, снижаются расходы на содержание оборудования и т. д. Себестоимость серной кислоты снижается также при увеличении интенсивности аппаратуры.

Важным показателем процесса производства серной кислоты является стоимость переработки сырья, в нее включаются все расходы за исключением стоимости сырья. Стоимость переработки непрерывно снижается по мере усовершенствования технологической схемы производства, улучшения ее аппаратурного оформления, снижения расходных коэффициентов, увеличения производительности системы и т. д. Стоимость переработки- основной показатель, характеризующий техническую оснащенность и организацию производства[1].

Таблица 8. Средние расходные коэффициенты в производстве контактной серной кислоты в зависимости от вида применяемого сырья (на 1 кг H2S04)[13]

Сырье

Сырье, кг

Электроэнергия, квт*ч

Вода, м3

Колчедан (45% S) Отходящие газы Сера полная схема короткая схема Сероводород

850 -  351 378 -

99 130  95 67 96

60 26  43 31 51


Таблица 9. Расходные коэффициенты для производства 1 т серной кислоты из чистой серы методом ДК-ДА[13]

Элементарная сера,т Электроэнергия, кВт*ч Технологическая вода, м3 Циркуляционная охлаждающая вода, м3 Контактная масса, кг

0,334 40 0,36  52 0,1


ВЫВОДЫ

В данном реферате были рассмотрены физические, химические свойства серной кислоты. Изучены основные области ее применения. Приведены существующие методы получения кислоты. Выявлено, что наиболее эффективным методом получения серной кислоты является метод двойного контактировния и двойной абсорбции. Приведены необходимые справочные данные. При получении обжигового газа путем сжигания серы отпадает необходимость очистки от примесей, в отличии от сжигания железного колчедана. В данное время продолжается разработка эффективных катализаторов для получения триоксида серы с максимальной степенью превращения, а также разработка установок для получения олеума с целью предотвращения выбросов, не соответствующих нормам ПДК и ПДВ. С другой стороны, независимо от вида серосодержащего сырья, целесообразно применять отходы кислотного производства в других производствах (например, огарки колчедана в металлургии). Поскольку запасы серы и пирита исчерпываются, получение сырья для кислоты из отходящих газов тоже решает экологическую проблему. Таким образом, технология серной кислоты стремится к безотходному производству.

СПИСОК ЛИТЕРАТУРЫ

1.      Амелин А. Г., Технология серной кислоты, 2 изд., М., 1983.- 360 c.

.        ГОСТ 2184-77 Кислота серная техническая. Технические условия

.        ГОСТ 667-73 Кислота серная аккумуляторная. Технические условия

4.      Мельников Е.Я, Салтанова В.П., Наумова А.М., Блинова Ж.С. Технология неорганических веществ и минеральных удобрений. Учебник для техникумов. М.: Химия, 1983. - 432 с.

5.      Боресков Г.К. Катализ в производстве серной кислоты М.-Л.: Госхимиздат, 1954. - 348 с.

.        Патент РФ №94025148/04 Добкина Е.И.; Кузнецова С.М.; Ларионов А.М. Катализатор для окисления диоксида серы//патент России №2080176, 27.05.1997

.        ГОСТ 444-75 Колчедан серный флотационный. Технические условия

8.      ГОСТ 127.1-93. Сера техническая. Технические условия

.        Кутепов А.М., Бондарева Т.И., Беренгартен М.Г. Общая химическая технология. 3-е изд. Учеб. для вузов. - 3-е изд., перераб. - М.: Академкнига, 2004. - 528 с.: ил.

10.    О.А. Федяева Промышленная экология <http://ekolog.org/books/16/>. Конспект лекций. - Омск: Изд-во ОмГТУ, 2007. - 145 c.

.        Справочник сернокислотчика / Под. ред. К.М. Малина. - М.: Химия, 1971.

12.    Сыромятников В.Д. <http://www.findpatent.ru/byauthors/208274/>, Игин В.В.  <http://www.findpatent.ru/byauthors/152007/>, Филатов Ю.В., <http://www.findpatent.ru/byauthors/152009/> Сущев В.С. , Голоус В.И. Патент RU 2240976 Абсорбционная башня.

13.    Соколовский А.А., Яшке Е.В. Технология минеральных удобрений и кислот. - М.: Химия, 1979. - 384 с.

14.    Реферативный журнал «Химия».