Материал: Электродвигатель отопителя автомобиля Lada Vesta

Внимание! Если размещение файла нарушает Ваши авторские права, то обязательно сообщите нам


         2. Технологическая часть


В данной части дипломного проекта по известным конструкторским размерам детали рассчитывается параметры заготовки детали получаемой ГКМ. Далее разрабатывается технологический процесс механической обработки. Исходя из технологического процесса и теории линейных цепей строится совмещенная схема, граф и составляются уравнение линейных технологических размеров. После определения линейных размеров выполняется нормирование операций механической обработки. Тип производства - серийный. Признаком серийного производства является производство изделий партиями с определенной периодического при групповой форме организаций.

.1 Выбор и обоснование технологического процесса

Экономичность варианта технологического процесса можно определить путем сравнения сопоставимых затрат, которые составляют технологическую себестоимость. Сравнение вариантов технологических процессов осуществляется несколькими методами. На основании сравнения вариантов был выбран самый выгодный и эффективный технологический процесс.

Порядок разработки технологического процесса существует на каждом предприятии. Качество изготавливаемой детали задается техническими требованиями, которые определены рабочим чертежом детали. Рабочий чертеж детали является основным исходным документом при разработке технологического процесса изготовления детали. Он должен содержать все данные, необходимые для изготовления детали.

При порядке разработки технологического процесса изготовления необходимо знать условия работы детали в собранном узле, проанализировать нагрузки, воздействию которых подвергают деталь, выявить предъявляемые к ней требования и знать, как ориентируется деталь в собранном узле относительно других деталей.

Минимальную стоимость изготовления якоря при обеспечении заданного количества и качества выявляем путем экономического сравнения вариантов и выбором наиболее экономичного варианта.

В современных электрических машинах обмотки располагаются по окружности якоря, ротора или статора и закладываются в специальные канавки, которые носят название пазов. Пазы равномерно распределены по окружности и отделены один от другого выступающими
частями, которые носят название зубцов. Якорем называется вращающаяся часть машин постоянного тока.

Данный технический результат достигается в якоре коллекторного моментного двигателя постоянного тока, содержащем макет с обмоткой и коллектор с медными пластинами, тем, что на медных пластинах коллектора выполнен слой толщиной до 0,01 мм из палладия методом электролитического осаждения. При осуществлении способа изготовления якоря коллекторного моментного двигателя постоянного тока путем сборки пакета, выполнения обмотки, сборки пакета с коллектором согласно изобретению якорь пропитывают эпоксидной смолой, полимеризуют ее, покрывают поверхность пакета эластичной эмалью, подсоединяют медные пластины коллектора к катоду гальванической ванны палладирования, содержащей электролит с показателем кислотности рН величиной 8-10 и концентрацией металлического палладия до 10 г/л, подают постоянный ток плотностью до 0,5 А/дм2 применительно к покрываемой поверхности медных пластин и выдерживают режим до получения слоя благородного металла из палладия толщиной до 0,01 мм. Толщину данного слоя определяют по изменению массы пробной детали, погруженной в электролит одновременно с якорем.

Путем пропитки якоря эпоксидной смолой под вакуумом при повышенной температуре окружающей среды или анатермом при атмосферном давлении и температуре не менее +80oС, полимеризации эпоксидной смолы или анатерма посредством выдержки при повышенной температуре окружающей среды, механической обработки поверхности коллектора путем тонкого съема материала, покрытия поверхности пакета эластичной эмалью с последующей просушкой на воздухе обеспечивается защита якоря от проникновения в его поры материалов электролита. Тем самым после операции электролитического осаждения палладия обеспечивается работоспособность якоря, так как сохраняется высокая величина сопротивления изоляции медных пластин коллектора за счет исключения попадания в его поры материалов электролита.

Целью процесс является упрощение конструкции и повышение её технологичности. При напрессовке каждой последующей пластины подачу вала уменьшают на величину толщины пластины. После набора необходимого количества пластин, определяемого дозирующим устройством, пакет смещают вдоль вала до места его рабочего положения. Таким образом, изобретение позволяет повысить качество сборки якоря путем устранения деформации вала.

Технология изготовления следующая(Рисунок 3.2). На вал якоря устанавливают пакет железа. Затем устанавливают коллектор с пластинами, залитый изоляционным материалом, и крепежное кольцо из изоляционного материала(например, пластмассы), расположенное со стороны пакета железа. Крепежное кольцо имеет торцовые выступы по числу пластин, которые должны быть обращены в сторону свободного кольца коллектора и располагаться по центру каждой пластины. При намотке обмоток концы их заводят под каждый выступ, размещая между внутренней поверхностью и пластиной у торцовой поверхности крепежного кольца(Рисунок 3.2). Затем с помощью обжимного кольца выступы загибают. При этом происходит фиксация концов обмоток при положении к пластинам в радиальном направлении. Кроме того обжимное кольцо выполнено с конической внутренней поверхностью, что при опрессовке обеспечивает загибку выступов, а на наружной поверхности концов упругих выступов крепежного кольца выполнены выступы, которые после опрессовки образуют замок с торцовой поверхностью обжимного кольца, препятствуя соскакиванию его с крепежного кольца в сторону свободного торца коллектора. После опрессовки якорь электродвигателя принимает окончательный вид, как показано на Рисунке 3.1.

Предложенная конструкция якоря упрощает технологию изготовления. Упрощение заключается в том, что отпадает необходимость в изготовлении крючкового коллектора, благодаря ему снижается трудоемкость и расход материала. Упрощается также процесс крепления концов обмоток якоря из-за одновременного их зажима. Кроме того, повышается ремонтоспособность якорей электродвигателя.

Техническо-экономические преимущества обеспечиваются за счёт повышения производительности изготовления якорей и исключения промежуточных технологических операций.\

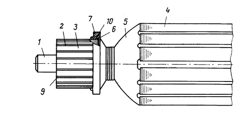
Рисунок 3.1 - окончательный вид якоря двигателя постоянного тока: 1 вал якоря; 2 - коллектор; 3 - пластины; 4 -пакет железа; 5 - обмотка; 6 - заслонка;7 -крепежное кольцо; 8 -торцовые выступы; 9 -свободное кольцо; 10-обжимное кольцо

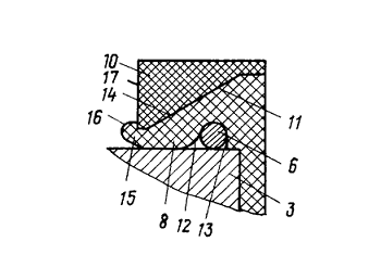
Рисунок 3.2 -вид якоря двигателя постоянного тока в процессе изготовления: 3 - пластины; 6 - заслонка; 8 -торцовые выступы; 10-обжимное кольцо; 11 - наружная поверхность; 12-внутренняя поверхность;13-торцовая поверхность; 14 - коническая внутренняя поверхность; 15 - концы; 16 - выступы; 17 - торцовая поверхность обжимного кольца.

.2 Маршрутная технология изготовления

№ опер.

Наименование и содержание операции

Эскиз операции

Оборудование

000

Заготовительная: правка листового и профильного проката, разметку и наметку, раскрой проката, обработку кромок и торцов, гибочные и вальцовочные работы.


010

Токарная: после установки и закрепления, подрезание торцов.

Токарно-револьверный станок

020

Токарная: обточка поверхности, выдерживая размеры.

Токарно-револьверный станок

030

Сверлильная: Включает в себя сверление отверстий

Вертикально-сверлильный станок

040

Токарная: обточка поверхности, выдерживая размеры.

Токарно-револьверный станок

050

Токарная: обточка поверхности, выдерживая размеры.

Токарно-револьверный станок

060

Зенкерование: обработка готовых отверстий после сверления для получения отверстий большой точности и низкой шероховатости.

Сверлильный станок; зенкер.

070

Шлифовальная: Придание рабочей поверхности детали правильной геометрической формы и получение необходимой шероховатости.

Шлифовальный станок.

080

Шлифовальная Придание рабочей поверхности детали правильной геометрической формы и получение необходимой шероховатости.

Шлифовальный станок.

090

Промывка



100

Контроль





2.3 Принцип работы, конструкция и состав автоматизированной линии сборки

Особенности проектирования технологических процессов в условиях автоматизированного производства.

Основой автоматизации производства являются технологические процессы (ТП), которые должны обеспечивать высокую производительность, надежность, качество и эффективность изготовления изделий.

Характерной особенностью ТП обработки и сборки является строгая ориентация деталей и инструмента относительно друг друга в рабочем процессе (первый класс процессов). Термообработка, сушка, окраска и прочее в отличие от обработки и сборки не требуют строгой ориентации детали (второй класс процессов).

ТП классифицируют по непрерывности на дискретные и непрерывные.

Разработка ТП АП по сравнению с технологией неавтоматизированного производства имеет свою специфику:

.Автоматизированные ТП включают не только разнородные операции механической обработки резанием, но и обработку давлением, термообработку, сборку, контроль, упаковку, а также транспортно-складские и другие операции.

.Требования к гибкости и автоматизации производственных процессов диктуют необходимость комплексной и детальной проработки технологии, тщательного анализа объектов производства, проработки маршрутной и операционной технологии, обеспечения надежности и гибкости процесса изготовления изделий с заданным качеством.

. При широкой номенклатуре изделий технологические решения многовариантны.

. Возрастает степень интеграции работ, выполняемых различными технологическими подразделениями.

Основные принципы построения технологии механообработки в АПС

. Принцип завершенности . Следует стремиться к выполнению всех операций в пределах одной АПС без промежуточной передачи полуфабрикатов в другие подразделения или вспомогательные отделения.

. Принцип малооперационной технологии. Формирование ТП с максимально возможным укрупнением операций, с минимальным числом операций и установок в операциях.

. Принцип «малолюдной» технологии. Обеспечение автоматической работы АПС в пределах всего производственного цикла.

. Принцип «безотладочной» технологии . Разработка ТП, не требующих отладки на рабочих позициях.

. Принцип активно-управляемой технологии. Организация управления ТП и коррекция проектных решений на основе рабочей информации о ходе ТП. Корректироваться могут как технологические параметры, формируемые на этапе управления, так и исходные параметры технологической подготовки производства (ТПП).

. Принцип оптимальности . Принятие решения на каждом этапе ТПП и управления ТП на основе единого критерия оптимальности.

Помимо рассмотренных для технологии АПС характерны и др. принципы: компьютерной технологии, информационной обеспеченности, интеграции, безбумажной документации, групповой технологии.

. Типовые и групповые ТП

Типизация технологических процессов для сходных по конфигурации и технологическим особенностям групп деталей предусматривает их изготовление по одинаковым ТП, основанным на применении наиболее совершенных методов обработки и обеспечивающим достижение наивысшей производительности, экономичности и качества. Основа типизации - правила обработки отдельных элементарных поверхностей и правила назначения очередности обработки этих поверхностей. Типовые ТП находят применение, главным образом, в крупносерийном и массовом производстве.

Принцип групповой технологии лежит в основе технологии переналаживаемого производства - мелко- и среднесерийного. В отличие от типизации ТП при групповой технологии общим признаком является общность обрабатываемых поверхностей и их сочетаний. Поэтому групповые методы обработки характерны для обработки деталей с широкой номенклатурой.

И типизация ТП, и метод групповой технологии являются основными направлениями унификации технологических решений, повышающей эффективность производства.

Классификация деталей

Классификацию производят в целях определения групп технологически однородных деталей для их совместной обработки в условиях группового производства. Выполняют ее в два этапа: первичная классификация, т. е. кодирование деталей обследуемого производства по конструктивно-технологическим признакам; вторичная классификация, т. е. группирование деталей с одинаковыми или несущественно отличающимися признаками классификации.

При классификации деталей нужно учитывать следующие признаки: конструктивные - габаритные размеры, массу, материал, вид обработки и заготовки; число операций обработки; точностные и другие показатели.

Группирование деталей выполняют в такой последовательности: выбор совокупности деталей на уровне классов, например тела вращения для механообрабатывающего производства; выбор совокупности деталей на уровне подкласса, например детали типа вала; классификация деталей по комбинации поверхностей, например валы с комбинацией гладких цилиндрических поверхностей; группирование по габаритным размерам с выделением областей с максимальной плотностью распределения размеров; определение по диаграмме областей с наибольшим числом наименований деталей.

Технологичность конструкций изделий для условий АП

Конструкция изделия считается технологичной, если для его изготовления и эксплуатации требуются минимальные затраты материалов, времени и средств. Оценка технологичности проводится по качественным и количественным критериям отдельно для заготовок, обрабатываемых деталей, сборочных единиц.

Детали, подлежащие обработке в АП, должны быть технологичны, т. е. просты по форме, габаритам, состоять из стандартных поверхностей и иметь максимальный коэффициент использования материала.

Детали, подлежащие сборке, должны иметь как можно больше стандартных поверхностей соединений, простейших элементов ориентации сборочных единиц и деталей.

. Особенности проектирования технологических процессов изготовления деталей на автоматических линиях и станках с ЧПУ

Автоматическая линия - это непрерывно действующий комплекс взаимосвязанного оборудования и системы управления, где необходима полная временная синхронизация операций и переходов. Наиболее эффективными методами синхронизации являются концентрация и дифференциация ТП.

Дифференциация технологического процесса, упрощение и синхронизация переходов - необходимые условия надежности и производительности. Чрезмерная дифференциация приводит к усложнению обслуживающего оборудования, увеличению площадей и объема обслуживания. Целесообразная концентрация операций и переходов, не снижая практически производительность, может быть осуществлена путем агрегатирования, применением многоинструментальных наладок.