Материал: Д6722 Алешичев СЕ Контроль и автоматизация упр качеством продукции

Внимание! Если размещение файла нарушает Ваши авторские права, то обязательно сообщите нам

21

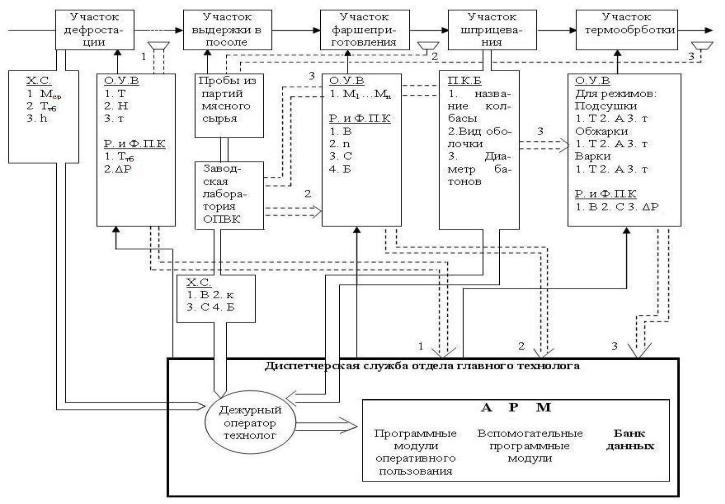
Рис. 3.1. Схема организации информационных потоков на предприятии для управления технологическими процессами колбасного производства

с помощью АРМ технолога: 1 – характеристики сырья; 2 – характеристики фарша; 3 – характеристики готового продукта.

21

При этом оператор также в режиме диалога осуществляет выбор критерия оптимизации для расчета режима технологической операции: «по минимуму потерь» (экономия сырья) или «по минимуму времени обработки» (интенсификация процесса) исходя из производственной ситуации.

По окончании расчетов оператору выдаются значения оптимальных управляющих воздействий ведения операции дефростации: температуры, влажности энергоносителя, продолжительности операции, а также значения ожидаемых показателей качества в виде потерь массы, температуры мяса после дефростации.

Следующей в технологической цепочке рассматривается операция приготовления колбасного фарша. Для управления этой операцией технологу необходимо определить массы закладок отдельных компонентов (соли, воды, свинины, говядины и т. п.), позволяющих получить фарш с требуемым для данного вида колбасы химическим составом. При этом возможны два варианта реализации задачи, основанные на применении «жестких» и «гибких» рецептур. В первом случае нормы закладки мясных компонентов для конкретного сорта колбасы являются константами. У технолога имеется возможность изменять соотношение между отдельными партиями каждого закладываемого мясного компонента, партии должны отличаться друг от друга химическим составом. Например, при жестко заданной массе закладки говядины в фарш можно осуществлять закладку из различных партий говядины, отличающихся содержанием жира, влаги, белка и др.

При «гибкой» рецептуре предусматривается закладка сырья из одной партии с возможностью варьирования массы каждой закладки в определенных пределах.

Расчет дозировки осуществляется с помощью программного модуля «Фарш». Исходными данными являются результаты лабораторных анализов на содержание жира, поваренной соли, влаги , белка в партиях закладываемых мясных компонентов, а также рецептура фарша для данного вида колбасы. В результате расчета технологу выдается распечатка с указанием масс закладок всех компонентов.

Ввод исходных данных и варианта рецептур осуществляется оператором в диалоговом режиме перед запуском программ.

Далее приготовленный фарш шприцуется в колбасную оболочку. Погруженные на тележки колбасные батоны поступают на

22

термообработку, где осуществляются операции подсушки, обжарки и варки.

Расчет режимов термообработки осуществляется с помощью программного модуля «Термообработка». Исходными данными для расчетов являются: масса колбасных батонов, вид колбасы, вид и диаметр оболочки, химический состав использованного фарша. Эти данные вводятся оператором в ПК в диалоговом режиме. При этом оператор также осуществляет ввод критерия оптимизации: «по минимуму потерь» или «по минимуму времени обработки». В результате расчета оператору выдается распечатка с указанием параметров температурно-влажностных режимов в виде значений температуры, влажности, расхода энергоносителя и длительности обработки данной партии колбасных изделий на этапах операций подсушки, обжарки и варки.

Программное обеспечение (ПО) АРМ составлено на языке QBasic (программа «ARMK.BAS», прил. 2). Схема, иллюстрирующая структуру ПО АРМ, приведена на рис. 3.2.

Работа программы организована в диалоговом режиме. При ее запуске управляющим блокам выдается запрос – ВВЕДИТЕ КОД НЕОБХОДИМОГО МОДУЛЯ и тут же сообщаются варианты кодов в виде:

0 – ДЕФРОСТАЦИЯ

1 – ФАРШ

2 – ТЕРМООБРАБОТКА

7 – КОНЕЦ ПРОГРАММЫ.

После введения оператором необходимого кода происходит обращение к соответствующему программному модулю. Используемая структура ПО АРМ позволяет развивать его функции путем введения в состав ПО новых модулей.

23

ОПЕРАТОР

Управляющий блок программы Осуществляет вызов необходимого модуля по запросу пользователя

Блок рабочих программных модулей

Программный

 

Программный

 

Программный мо-

модуль

 

модуль

 

дуль

«Дефростация»

 

«Фарш»

 

«Термообработка»

 

 

 

 

 

Рис. 3.2. Структура ПО АРМ Управляющий модуль ПО включает операторы 5-17. Модуль «Дефростация» включает операторы 25-810. Модуль «Фарш» включает операторы 1000-1840.

Модуль «Термообработка» включает операторы 2000-2310.

Содержание работы

Часть.1. Работа с АРМ в режиме пользователя

Эта часть работы состоит в знакомстве с работой АРМ колбасного производства с использованием имеющихся в составе ПО вариантов условий решения задач оптимального управления для всех модулей. Для выполнения этой части работы необходимо в диалоговом режиме осуществить ввод характеристик сырья и выбор целевой функции. Исходные данные (характеристики сырья), необходимые для работы каждого модуля, задаются преподавателем. Решение за-

24

дач оптимального управления для каждого из модулей осуществляется автоматически и представляется в виде технологической карты с указанием характеристик сырья и расчетных параметров режимов оптимального ведения соответствующего технологического процесса, а также ожидаемых значений показателей качества. Эти распечатки включаются в состав отчета по первой части работы. Далее проводится анализ результатов. Там же, по указанию преподавателя, приводятся те или иные характеристики ПО АРМ.

Часть.2. Создание ПО для АРМа оператора технологического процесса.

После ознакомления со структурой, принципами функционирования АРМа колбасного производства обучающийся создает АРМ для своей технологической операции.

Содержание отчета

Часть.1.

В отчете представляются:

-описание назначения, структуры, принципов функционирования АРМа;

-результаты расчетов оптимального технологического режима

ввиде технологической карты с комментариями.

Часть.2.

Вотчете представляются:

-блок-схема алгоритма работы АРМа своего технологического процесса;

-таблица информационного обеспечения алгоритма;

-текст программы АРМ;

-примеры расчетов по программе.

25