ФГБОУ ВПО ПГУПС
Государственное образовательное учреждение
Высшего профессионального образования
«Петербургский Государственный Университет
Путей Сообщения»
Кафедра «Железнодорожный путь»
Проектирование и расчет рельсовой колеи в кривом участке
железнодорожного пути;
стрелочного перевода.
Выполнил
Студент группы С-003
Венско И.В.
Проверил
Старший преподаватель
Ермолаев Е.В.
Санкт-Петербург
2013
СОДЕРЖАНИЕ
Проектирование конструкции одиночного 1
. Проектирование и расчет рельсовой колеи 3
1.1. УСТРОЙСТВО РЕЛЬСОВОЙ КОЛЕИ в ПРЯМЫХ УЧАСТКАХ ПУТИ 3
1.3. РЕЛЬСОВАЯ КОЛЕЯ В КРИВЫХ УЧАСТКАХ ПУТИ 5
1.3.1. Ширина рельсовой колеи в кривых 6
1.3.2. Определение оптимальной ширины колеи 6
1.5. Определение минимально допустимой ширины колеи. 8
1.5. Определение возвышения наружного рельса. 9
1.5.1. Определение возвышения наружного рельса из условия обеспечения равномерного износа обеих рельсовых нитей 9
1.5.2. Определение возвышения наружного рельса по условию обеспечения пассажиров от неприятных ощущений (по условию комфортабельности езды) 11
1.6. Проектирование переходных кривых 11
1.7. Укороченные рельсы 14
2. расчет одиночного обыкновенного стрелочного перевода 18
2.1 ОБЩИЕ ПОЛОЖЕНИЯ 18
2.2. определение размеров сборной крестовины общей отливки сердечника с наиболее изнашиваемой частью усовиков 18
21
l'0 = R0(sinβв - sinβн) + R(sinβ - sinβв). (2.19) 23
Расчет длины рамного рельса 23
2.4. Определение основных и осевых размеров стрелочного перевода 25
2.4.2 Определение координат переводной кривой 26
2.4.3 Определение длин рельсов, входящих в стрелочный перевод 28
2,4.4. Компоновка эпюры стрелочного перевода. 29
Литература 31
Ширина колеи в РФ принята равной 1520 мм с допусками по уширению 8мм, по сужению - 4 мм. При скоростях движения до 50 км/ч допускается уширение до 10мм. Ширина колеи измеряется на уровне, расположенном на 13мм ниже поверхности катания головки рельса. Объясняется это тем, что расчетная плоскость располагается на 10 мм ниже поверхности катания головки рельса для новых бандажей. С увеличением износа поверхность катания бандажа колеса, а следовательно, и расчетная плоскость понижаются.
Верх головок рельсов по обеим рельсовым нитям в прямых участках пути должен располагаться в одном уровне с допусками ±5 мм. Допускается одну рельсовую нить содержать на 5 мм выше другой. На двухпутных участках возвышение устраивается на бровочной нити пути, а на однопутных, как правило, на правой рельсовой нити по ходу километров. На стрелочных переводах возвышение не устраивается.
Между рельсовой колеей и шириной колесной пары существует определенное соотношение. Ширина колесной пары (колесная колея) уже ширины колеи на величину зазора.

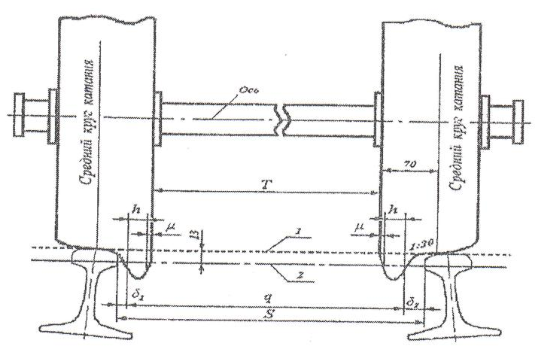
Рис. 1.1. Схема для определения зазора δ между рельсовой колеей S и вагонной колеей q
На рис. 2.1 представлена схема для определения величины зазора между гребнем колеса и головкой рельса.
На схеме обозначено:
S - ширина рельсовой
колеи, S =
мм
;
q - ширина колесной пары (колесная колея),мм ;
Т - насадка колес, Т = 1440±3мм ( при скоростях до 120 км/ч) , при скорости движения более 140 км/ч с допусками +3 -1;
h- толщина гребня колеса, hmax = 33 мм, hmin = 25 мм; при скорости движения более 140 км/ч hmin = 28 мм;
μ - утолщение гребня колеса в сечении выше расчетной плоскости; для вагонных колес μ=1мм, для локомотивных μ=0;
δ - зазор между гребнем колеса и рабочей гранью рельса.
Из приведенной на рис. 2.1 схемы видно, что рельсовая колея отличается от колесной на величину зазора δ:
δ = δ1 + δ2 =S - q,
где q = S- (T +2h + 2μ).
Поскольку
размеры, входящие в эти выражения, имеют
допуски, то существуют минимальные,
нормальные и максимальные значения
δ:
δmin = Smin - qmax;
δ0 = S0 - q 0;
δmax = Smax - qmin.
С учетом норм и допусков параметры колесных пар и рельсовой колеи на прямых в соответствии с формулами представлены в таблице 1.
Таблица 1

Положительная роль зазора заключается в устранении заклинивания колес подвижного состава между рельсовыми нитями, а значит в уменьшении сопротивления движения и в снижении бокового износа рельсов и гребней колес.
Однако излишняя величина зазора увеличивает углы набегания гребней колес на рельс в прямых и при входе в кривые, что увеличивает горизонтальные силы и ведет к расстройству пути в плане. В этом случае уменьшается срок службы рельсов и колес подвижного состава, ухудшается плавность движения поездов, особенно при высоких скоростях, увеличиваются расходы на текущее содержание.
Таким образом, на прямых участках пути зазор между гребнем колеса и рабочей гранью рельса колеблется в пределах от 5 до 39 мм. При движении груженых вагонов происходит изгиб оси колесной пары выпуклостью вверх, так как нагрузка от вагона на колесную пару передается через буксовый узел, расположенный снаружи рельсовой колеи. В результате этого колесная колея может уменьшаться на 2 - 4 мм и более. Под воздействием колес подвижного состава происходят упругие отжатия рельсовых нитей, т. е. упругое уширение колеи на 2 мм в прямых участках, а в кривых - на 4 мм и более.
Опасный предел в сторону сужения колеи определяется из условия заклинивания колесной пары с максимальной насадкой, т. е.
Sпред (min) = qmax = Tmax + 2hmax + 2μ = 1443 + 2·33 + 2·0 = 1511 мм.

Рис.1.2. Схема определения предельно допустимой (максимальной) рельсовой колеи Sпред (max)
Опасный предел в сторону уширения колеи определяется из условия предупреждения провала колеса внутрь колеи. Расчетная схема показана на рис. 2.2. Из рисунка видим, что
Sпред (max) = Tmin + hmin + μ + 130 - 30 - r1,
где hmin - минимальное значение толщины гребня, hmin = 25 мм;
μ - утолщение гребня в сечении, расположенном выше расчетной плоскости, μ = 0 мм;
Tmin - минимальное значение насадки колес, Tmin = 1437 мм;
r 1 – радиус выкружки головки рельса в зоне перехода к боковой грани, мм;
Таким образом,
Sпред (max) = 1437 + 25 + 0 + 130 - 30 - 15 = 1547 мм.
Принимая во внимание упругие отжатия рельсов под нагрузкой, а также изгиб осей груженых вагонов, предельное значение ширины колеи в сторону уширения устанавливается 1546мм. Наличие колеи, превышающей опасные пределы как в сторону сужения, так и уширения, не допускается и относится к неисправностям самой высокой степени.
Железнодорожный путь в кривых участках имеет следующие особенности:
а) уширение рельсовой колеи при радиусах менее 350 м;
б) по наружной рельсовой нити кривой устраивается возвышение;
в) прямые участки с круговыми кривыми соединяются переходными кривыми. Переходные кривые устраиваются и между кривыми разных радиусов;
г) по внутренней рельсовой нити кривой для обеспечения расположения стыков напротив друг друга укладываются укороченные рельсы;
д) в кривых участках пути на двухпутных линиях устраиваются уширенные междупутья. Уширение осуществляется в пределах переходных кривых.
Ширина колеи должна обеспечивать вписывание в кривую всех массовых экипажей. Это вписывание должно быть наиболее благоприятным и близким к свободному. Согласно ПТЭ, ширина колеи в кривых в зависимости от радиуса установлена в следующих размерах:
при R ≥350 м 1520 мм;
при R = 349...300м 1530мм;
при R ≤299 м 1535 мм.
Допуски по содержанию ширины колеи в сторону уширения составляют 8мм, сужения — 4мм. При скоростях движения поездов до 50 км/ч разрешается содержать ширину колеи с допуском по уширению до 10 мм.
Приведенные нормы установлены расчетами по вписыванию железнодорожных экипажей в кривые.
В путейской практике несмотря на утвержденные нормы очень часто возникает необходимость определения ширины колеи (пропуск по участку специального подвижного состава, проектирование нового подвижного состава, в том числе и путевых машин.
Ширину колеи целесообразно определять из двух расчетных схем, отображающих два крайних случая (схемы свободного и заклиненного вписывания). Любое другое положение экипажа будет промежуточным.
Для кривой R 400 м принимаем SПТЭ = 1520 мм.
За расчетную схему определения оптимальной ширины колеи принимают схему свободного вписывания, при которой железнодорожный экипаж своим наружным колесом передней оси жесткой базы прижимается к наружному рельсу кривой, а задняя ось жесткой базы занимает радиальное положение. При этом центр вращения экипажа находится на пересечении радиуса с продольной геометрической осью экипажа.
Положение экипажа (тележки) с двухосной жесткой базой без поперечных разбегов осей колесных пар показано на рис. 3.1, а при наличии поперечных разбегов - на рис. 3.2. Схема свободного вписывания в кривую экипажа с трехосной жесткой базой приведена на рис. 3.3.

Рис. 1.3. Схема для определения оптимальной ширины колеи при свободном вписывании трехосной жесткой базы с поперечными разбегами осей
По заданию расчет оптимальной и минимально допустимой колеи в кривых выполняется для локомотива ТЭ-7. Его технические характеристики:
Радиус колеса 525 мм
колесная формула 3-3
длина жесткой базы 4200 мм
поперечные разбеги осей:
каждой крайней 1,5 мм
средней у трехосной тележки – 14 мм
Схема для определения минимально допустимой ширины колеи при заклиненном вписывании трехосной жесткой базы без поперечных разбегов осей (рис. 1.3).
Для R= 400 м
qmax = Tmax + 2hmax + 2μ = 1443 + 2∙33 +2∙0 = 1509 мм
Т - насадка колес; согласно ПТЭ, Т = 1440 З мм, ее максимальное значение Тmax = 1443 мм;
h- толщина гребня бандажа, hmax = 33 мм;
μ - утолщение гребня бандажа в сечении, расположенном выше расчетной плоскости; для вагонных колес μ = 1 мм, для локомотивных μ = 0;
fн - стрела изгиба наружной рельсовой нити, измеренная от хорды АВ; определяется по формуле
,
где μ - расстояние от геометрической оси первой колесной пары до центра вращения экипажа;
R - радиус кривой по оси пути;
b - расстояние в плане от геометрической оси колесной пары до точки касания гребнем колеса головки рельса,
,
где r - радиус колеса по кругу катания;
τ - угол наклона гребня колеса к горизонту; для вагонов τ = 60°, для локомотивов τ = 70°;
ζ - геометрическая величина (рис. 1.3), которая возникает при вписывании как двухосных, так и трехосных экипажей с поперечными разбегами осей и которая в зависимости от величины ∑η и соотношения между ∑η и fв может принимать различные значения.
Здесь ∑η - сумма поперечных разбегов осей экипажа, влияющих на вписывание; так, при свободном вписывании двухосной жесткой базы в эту сумму должны входить поперечные разбеги каждой оси; при свободном вписывании трехосной жесткой базы — только разбеги крайних осей. В этом случае формула 1.1 справедлива лишь при условии, что поперечный разбег средней оси не менее разбегов крайних осей, т. е. η1≤η2≥η3. В современных локомотивах это условие выполняется; поперечные разбеги различных осей колеблются в пределах от 0 до 22 мм и даже более и являются паспортными характеристиками экипажей; fв - стрела изгиба внутренней рельсовой нити, измеренная от хорды A1B1; определяется по формуле
.
Это выражение отличается от формулы (1.3) лишь знаком перед величиной b.
Величина ζ может принимать следующие значения:
если ∑η < fв, то ζ = ∑η, т.е. в формулу (1.1) вместо ζ подставляется численное значение суммы поперечных разбегов; при этом внутренний гребень колеса передней оси еще не касается внутреннего рельса. В этом случае выражение (3.1) примет вид
Sопт = qmax + fн - ∑η +4=1509+22,209-3+4=1532,209;
Цифра 4 в формуле представляет собой допуск на сужение колеи в миллиметрах.
При определении оптимальной ширины колеи Sопт > SПТЭ, то свободное вписывание в этих условиях не обеспечено, и необходимо определить минимально допустимую ширину колеи.