Материал: TTE_Lect1

Внимание! Если размещение файла нарушает Ваши авторские права, то обязательно сообщите нам

Рисунок 7.5 – Утворення напруги зворотного зв’язку на розподіленому опорі бази

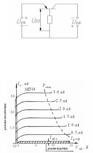
Вихідні характеристики Вихідні характеристики БТ у ССБ – це графік залежності

IK f (U)/ IE const ,

зображені на рисунку 7.6.

Рисунок 7.6 – Статичні вихідні характеристики БТ зі спільною базою

Ураховуючи вплив напруги Uна зворотний струм

колектора, рівняння для струму колектора (6.10) можна записати у вигляді

76

UКБ

 

 

IK h21Б IE IКБ0 (е Т

1).

(7.3)

Одержана формула описує вихідні характеристики при різних струмах емітера.

Межею між режимом відсічення ( IЕ <0) та активним режимом

( IЕ >0) є характеристика при IЕ =0, яка є зворотною гілкою ВАХ КП.

При збільшенні негативної напруги Uструм колектора швидко досягає значення IКБ0 . Подальше зростання IК зумовлюється зростанням струмів генерації та витоку КП. При деяких високих напругах U(для транзистора МП14 при IЕ =0 ці напруги

перевищують 15В) у КП виникає пробій, що супроводжується значним зростанням колекторного струму.

При IЕ >0 вихідні характеристики зменшуються в бік більших колекторних струмів на величину h21Б IE . згідно з формулою (7.3). У загальному випадку це зміщення має нееквідистантний характер, тобто рівним приростам вхідного струму IE відповідають нерівні прирости вихідного струму IK . Це явище викликане залежністю h21Б f (IE ), зображеною на рисунку 7.6, яка свідчить, що статичний коефіцієнт передачі струму h21Б не є постійною величиною для різних

струмів емітера. Для більших колекторних та емітерних струмів пробій КП відбувається при менших напругах і може перетворитися в тепловий. З метою унеможливлення пробою режим роботи приладу треба вибирати нижче кривої максимально допустимої потужності

PK max , що розсіюються колектором (пунктирна гіпербола на рисунку

7.6).

При U>0 та IЕ >0 переходи транзистора вмикаються у прямому напрямі, і прилад переходить до режиму насичення. В цьому режимі різко зменшується IK , тому що зростає інжекційна складова колекторного струму, яка компенсує керовану, екстракційну складову.

Характеристики прямої передачі

Це залежності IK f (IE )/U

const (рисунок 7.7).

77

 

Рисунок 7.7 – Сім’я характеристик прямої передачі БТ зі спільною базою

Вони грунтуються на рівняннях (6.10) або (7.3). З рівняння (7.3)

бачимо, що при

U=0

характеристика починається з точки, яка є

початком координат

( IЕ

=0,

IK =0),

а нахил

цієї

характеристики

визначається

залежністю

h21Б

від

IЕ . При

U>0

характеристика

починається

з

точки

IK =IКБ0 ,

а

зміна

її

нахилу

зумовлюється

залежністю

h21Б f (UКБ )(рисунок

7.7).

Характеристику прямої

передачі можна одержати з сім’ї вихідних характеристик, фіксуючи

U.

Характеристики зворотного зв’язку

Сім’я характеристик зворотного зв’язку

Uf (UКБ )/ IE const

показана на рисунку 7.18. При збільшенні UКБ зменшується активна

78

UКБ до

Рисунок 7.8 – Сім’я характеристик зворотного зв’язку БТ зі спільною базою

ширина бази транзистора , і за рахунок зростання градієнта концентрації дірок у базі (див. рисунок 7.4) зростає струм IЕ . Для підтримання його постійного значення, як того вимагають умови зняття характеристик, потрібно зростанням IЕ компенсувати зменшення напруги U. Ця обставина зумовлює від’ємний нахил характеристик.

У базі транзистора зменшення Uприводить при збільшенні відновлення попереднього градієнта концентрації дірок, тобто нахилу графіка Pn f (x)(рисунок 7.9).

79

Рисунок 7.9 – Розподіл концентрації дірок у базі при знятті характеристик зворотного зв’язку БТ зі спільною базою

7.1.2 Статичні характеристики біполярного транзистора у схемі зі спільним емітером

Схему для заняття характеристик БТ в ССЕ показано на рисунку 7.10.

Рисунок 7.10 – Схема експериментального зняття характеристик БТ зі спільним емітером

Вхідні характеристики

Це залежність IБ f (UБЕ )/UКЕ

const(рисунок 7.11).

80