Ведомость подсчета сроков выполнения основных земляных работ на проектируемом участке Таблица 11
|
Участок |
Категория грунта |
Землеройный модуль |
Ед. изм |
Объем работ |
Обоснование нормы |
Норма времени маш/час |
Трудоемкость
|
Число смен |
Число ведущих машин |
Продолжительность в днях |
|||||||||||
|
Первый луч |
|||||||||||||||||||||
|
Ст.А |
ПК 21+50 |
II |
1,0 |
1000 м3 |
35,59 |
01-01-013-2 |
17,7 |
629,9 |
3 |
2 |
19 |
||||||||||
|
ПК 21+50 |
ПК 32+00 |
II |
1,6 |
1000 м3 |
73,81 |
01-01-012-8 |
12,74 |
940,3 |
3 |
2 |
28 |
||||||||||
|
ПК 32+00 |
ПК 44+50 |
II |
1,6 |
1000 м3 |
79,41 |
01-01-012-8 |
12,74 |
1011,7 |
3 |
2 |
30 |
||||||||||
|
ПК 44+50 |
ПК 55+50 |
II |
1,0 |
1000 м3 |
30,75 |
01-01-013-2 |
17,7 |
544,3 |
3 |
2 |
16 |
||||||||||
|
ПК 55+50 |
ПК 73+50 |
II |
1,25 |
1000 м3 |
44,94 |
01-01-012-14 |
13,22 |
594,1 |
2 |
2 |
26 |
||||||||||
|
ПК 73+50 |
ПК 88+50 |
II |
2,5 |
1000 м3 |
87,1 |
01-01-012-2 |
9,83 |
856,2 |
3 |
1 |
50 |
||||||||||
|
Второй луч |
|||||||||||||||||||||
|
ПК 88+50 |
ПК 126+00 |
II |
1,25 |
1000 м3 |
51,98 |
01-01-012-14 |
13,22 |
687,2 |
3 |
2 |
21 |
||||||||||
|
ПК 126+00 |
ПК 141+25 |
II |
1,0 |
1000 м3 |
38,59 |
01-01-013-2 |
17,7 |
683,0 |
3 |
2 |
20 |
||||||||||
|
ПК 141+25 |
ПК 160+00 |
II |
1,25 |
1000 м3 |
44,06 |
01-01-012-14 |
13,22 |
582,5 |
3 |
2 |
17 |
||||||||||
|
ПК 160+00 |
ПК 170+00 |
II |
1,25 |
1000 м3 |
55,1 |
01-01-012-14 |
13,22 |
728,4 |
3 |
2 |
22 |
||||||||||
|
ПК 170+00 |
ПК 173+00 |
II |
1,0 |
1000 м3 |
38,52 |
01-01-013-2 |
17,7 |
681,8 |
3 |
2 |
20 |
||||||||||
|
ПК 173+00 |
ПК 176+00 |
II |
1,25 |
1000 м3 |
58,7 |
01-01-012-14 |
13,22 |
776,0 |
3 |
2 |
23 |
||||||||||
|
ПК 176+00 |
ПК 180+00 |
II |
1,6 |
1000 м3 |
69,2 |
01-01-012-8 |
12,74 |
881,6 |
3 |
2 |
26 |
||||||||||
|
ПК 180+00 |
ПК 183+00 |
II |
1,6 |
1000 м3 |
73,5 |
01-01-012-8 |
12,74 |
936,4 |
3 |
2 |
28 |
||||||||||
|
Третий луч |
|||||||||||||||||||||
|
ПК 183+00 |
ПК 210+00 |
II |
1,6 |
1000 м3 |
72,8 |
01-01-012-8 |
12,74 |
927,5 |
2 |
2 |
41 |
||||||||||
|
ПК 210+00 |
ПК 228+50 |
II |
1,25 |
1000 м3 |
40,51 |
01-01-012-14 |
13,22 |
535,5 |
3 |
2 |
16 |
||||||||||
|
ПК 228+50 |
ПК 261+50 |
II |
1,6 |
1000 м3 |
71,71 |
01-01-012-8 |
12,74 |
913,6 |
2 |
2 |
40 |
||||||||||
|
ПК 261+50 |
ПК 283+75 |
II |
1,25 |
1000 м3 |
40,25 |
01-01-012-14 |
13,22 |
532,1 |
3 |
2 |
16 |
||||||||||
|
ПК 283+75 |
ПК 321+75 |
II |
1,25 |
1000 м3 |
43,23 |
01-01-012-14 |
13,22 |
571,5 |
3 |
2 |
17 |
||||||||||
Таблица 12
|
Наименование работ |
Ед. изм. |
Объем |
Норма затрат труда, чел.-дн/ед. изм |
Трудоемкость |
Время работы |
Количество рабочих |
Обоснование нормы |
|
Подготовительный период |
|||||||
|
Подготовка территории строительтсва |
км |
33,77 |
600 |
20265 |
324 |
|
расчетные нормативы [7] |
|
Строительство временной притрассовой автодороги |
км |
50,66 |
200 |
|
по опыту строительства |
||
|
Ус-во врем. связи на жб опорах |
км |
37,5 |
25 |
|
по опыту строительства |
||
|
Постройка временных зданий и сооружений |
км |
37,5 |
350 |
|
по опыту строительства |
||
|
Временное энергообеспечение |
км |
37,5 |
40 |
|
по опыту строительства |
||
|
ИТОГО |
|
|
|
|
324 |
|
|
|
Основной период |
|||||||
|
Строительство ИССО |
км |
33,77 |
870 |
29384 |
207 |
142 |
расчетные нормативы [7] |
|
Сооружение земляного полотна |
км |
33,77 |
6000 |
202650 |
297 |
683 |
расчетные нормативы [7] |
|
Сооружение ВСП |
км |
33,77 |
1270 |
42894 |
141 |
305 |
расчетные нормативы [7] |
|
ИТОГО |
|
|
|
274928 |
645 |
427 |
|
|
Заключительный период |
|||||||
|
Ввод Жд в постоянную эксплуатацию |
км |
33,77 |
127,5 |
4306 |
--- |
--- |
ОЭСН-28-01-035-1 |
|
Прочие работы |
|||||||
|
Здания, сооружения производственые и служебные |
км |
33,77 |
750 |
25331 |
389 |
66 |
расчетные нормативы [7] |
|
Водоснабжение, водоотведение и теплофикация |
км |
33,77 |
350 |
11821 |
389 |
31 |
расчетные нормативы [7] |
|
Энергетическое хозяйство |
км |
33,77 |
210 |
7093 |
168 |
43 |
расчетные нормативы [7] |
|
Устройство связи |
км |
33,77 |
340 |
11483 |
114 |
101 |
расчетные нормативы [7] |
|
Устройство СЦБ |
км |
33,77 |
900 |
30397 |
246 |
124 |
расчетные нормативы [7] |
|
ИТОГО |
|
|
|
86125 |
1306 |
66 |
|
|
Суммарная трудоемкость |
|
|
|
|
|
|
|
Таблица 13
|
Показатель |
Ед. изм |
Значение показателя |
|
Строительная длина главных путей |
км |
38,3 |
|
Категория железной дороги |
|
II |
|
Общая продолжительность строительства |
мес. |
14,87 |
|
Категория трудоемкости строительства |
|
III |
|
Объем основных работ: |
|
|
|
щебеночный балласт |
1000 м3 |
76,86 |
|
сборный железобетон (для труб) |
м3 |
1590,1 |
|
Общая трудоемкость строительства: |
чел-дней |
360469 |
|
Удельная трудоемкость строительства: |
чел-дней/км |
9412 |
|
Сметная стоимость строительства |
тыс.руб.. |
2065212,6 |
|
Стоимость 1 км железной дороги |
тыс.руб. |
53922 |
|
Средняя списочная численность рабочих |
Чел. |
247 |
|
Максимальная численность рабочих |
Чел. |
2221 |
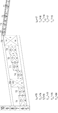
Схема
расстановки земляных модулей