Материал: Lekcija_No_8_

Внимание! Если размещение файла нарушает Ваши авторские права, то обязательно сообщите нам

Рис. 8 6. Принципиальная схема дифференциальной отсечки 2 х обмоточного трансформатора.

Ток срабатывания диф. отсечки отстраивается от броска намагничивающего тока:

 

Iс.з.нIном.Т

где:

 

Iном.Т

- номинальный ток трансформатора

Кн=3÷5

- коэффициент надёжности.

Для облегчения отстройки Iс.з. от броска намагничивающего тока, который быстро затухает, в схеме диф. отсечки устанавливают промежуточное реле с временем действия

0,04÷0,06с.

При условии выбора ТТ диф. отсечки по кривым предельной кратности (полная погрешность ТТ не должна превышать 10%), отстройка тока срабатывания от броска тока намагничивания обеспечивает отстройку защиты и от токов небаланса при внешних к.з.

Основным достоинством диф. отсечки является простота схемы и быстродействие. Недостатком является большой ток срабатывания, вследствие чего защита оказывается, в ряде случаев нечувствительна (например, к витковым замыканиям).

При использовании диф. отсечки в качестве основной защиты от внутренних повреждений в трансформаторе, коэффициент чувствительности должен быть:

Кч2.

Упрощённая схема диф. отсечки (рис. 8-6) выполняется в 2-х фазном исполнении (на стороне треугольника силового трансформатора устанавливаются ТТ в 2-х фазах «А» и «С» и на двух реле тока). Упрощённая схема не действует при двойных замыканиях на землю на стороне НН силового трансформатора в тех случаях, когда земля в трансформаторе возникает на фазе, не имеющей ТТ (на фазе «В»). Это повреждение должно отключаться другими защитами трансформатора (например, МТЗ).

Диф. отсечка из-за недостаточной её чувствительности применяется на трансформаторах малой мощности (до 25 МВА).

На трансформаторах средней и большой мощности (25 МВА и более) применяют трехфазные схемы продольных дифференциальных защит с использованием диф. реле типа РНТ и реле с торможением типа ДЗТ.

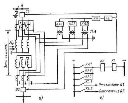
Принципиальная схема диф. защиты двухобмоточного трансформатора с использованием БНТ приведена на рис. 8-7.

Наличие быстронасыщающихся трансформаторов (TLA на рис. 8-7) позволяет эффективно отстраиваться от бросков намагничивающего тока и токов небаланса при внешних к.з. (БНТ практически запирает защиту при наличии аредиодической составляющей в токе дифференциальной цепи – в реле КА-1÷КА3. Поэтому отстройка диф. защиты может осуществляться от установившегося значения периодической составляющей тока небаланса, что значительно повышает чувствительность защиты.

При существенной разнице между токами в плечах диф. защиты используются выравнивающие (уравнительные) обмотки TLA.

Рис. 8 7. Схема диф. защиты двухобмоточного трансформатора с БНТ.

а) принципиальная

Практически ток срабатывания диф. защиты трансформаторов без РПН выбирают равным:

Iс.з.=(1÷2)Iном.Т.

Ток к.з., как и ток намагничивания, содержит апериодическую составляющую, которая затухает значительно быстрее, чем периодическая составляющая. Наличие БНТ замеляет работу диф. защиты при к.з. в трансформаторе на время 0,01÷0,03с, что является допустимым.

На трансформаторах с РПН ток срабатывания диф. защиты с БНТ получается равным:

Iс.з.=(3-4)IТ.ном.

Достаточно высокая чувствительность диф. защиты сохраняется при использовании реле типа ДЗТ с магнитным торможением, однолинейная схема включения которого приведена на рис. 8-8. Применение реле ДЗТ целесообразно в случаях необходимости отстройки диф. защиты от токов небаланса, вызванных внешними к.з.

При внешних к.з токи тормозных обмоток создают магнитный поток насыщающий крайние стержни магнитопровода, и ток срабатывания возрастает пропорционально току в тормозных обмотках. При к.з. в зоне диф. защиты ток в рабочей обмотке Iр (вт.к) имеет большую величину и защита, несмотря на подмагничивание тормозным током, срабатывает .

Рис. 8 8. Реле с магнитным торможением (ДЗТ)

а) схема включения реле

Реле ДЗТ с несколькими тормозными обмотками используется в диф. защитах многообмоточных трансформаторов.

Диф. защита действует и при витковых замыканиях в трансформаторе, однако её чувствительность зависит от доли замкнувшихся витков.

В настоящее время промышленностью выпускается полупроводниковая дифференциальная защита для использования на мощных трансформаторах типа ДЗТ-21, ток срабатывания которой равен (0,2-0,3) Uном.Т.

Выводы:

1.Продольная дифференциальная защита является основной быстродействующей защитой трансформаторов и автотрансформаторов от повреждений как внутри баков, так и вне их, в зоне, ограниченной трансформаторами тока схемы защиты.

2.Принцип действия продольной диф. защиты трансформаторов (автотрансформаторов), так же как и диф. защит ВЛ и генераторов,

основан на сравнении величины и фазы токов по концам защищаемого элемента.

3.Недостатком диф. защиты является недостаточная её чувствительность при к.з. внутри обмоток (в том числе при витковых замыканиях) при применении достаточно грубых защит с током срабатывания больше номинального тока трансформатора

(Iс.з.>Iном.Т).

4.Ток срабатывания диф. защиты трансформатора необходимо отстраивать от токов небаланса при сквозных (внешних) к.з., а также от бросков тока намагничивания силового трансформатора при включении и отключении его от сети.

5.Для повышения чувствительности диф. защиты трансформатора применяют специальные диф. реле с быстронасыщающимися трансформаторами (БНТ) типа РНТ и реле с магнитным торможением типа ДЗТ.

6.Дифференциальную защиту рекомендуется применять на трансформаторах мощностью 6,3 МВА и выше, а также на трансформаторах собственных нужд электростанций мощностью 4 МВА и выше.

7.На трансформаторах малой мощности (до 25 МВА) применяются дифференциальные отсечки (без БНТ).

8.На трансформаторах средней и большой мощности применяются дифференциальные защиты с БНТ с использованием реле РНТ, а на трансформаторах с регулировкой напряжения под нагрузкой и на многообмоточных трансформаторах – дифференциальные защиты с использованием реле ДЗТ.

9.На мощных трансформаторах в настоящее время широко используется высокочувствительная полупроводниковая диф. защита типа ДЗТ-21, ток срабатывания которой не более 0,3Iном.Т.

8.3.Газовая защита

Практически все повреждения внутри кожуха (бака) трансформатора (к.з.

между обмотками, витковые замыкания, «пожар» стали магнитопровода, неисправности переключателя РПН и др.) сопровождаются выделением газов в результате разложения масла или других изоляционных материалов под воздействием повышенного нагрева.

Образующиеся газы устремляются в расширитель, являющийся самой высокой частью трансформатора. При интенсивном газообразовании, имеющем место при значительных внутренних повреждениях, бурно расширяющиеся газы вызывают движение масла в сторону расширителя.

Таким образом, образование газов в кожухе трансформатора и движение газов в сторону расширителя могут служить признаками повреждения трансформатора.