Материал: IDEF3

Внимание! Если размещение файла нарушает Ваши авторские права, то обязательно сообщите нам

7

Ссылка "Вызвать и ждать" (Call and Wait Referent), указывает, что элемент, указанный в ссылке, должен начать и закончить выполнение действия до завершения действия модулем, к которому относится ссылка.

Графические обозначения ссылок приведены на рис. 1.10.

В основном поле символа ссылки указывается её тип (Referent Type) "UOB", "SCENARIO", "TS" или "GOTO" и через дробь "Label" – уникальное наименование блока, сценария, схемы или функции узла, на который указывает ссылка. В поле "Locator" указывается уникальный идентификатор элемента, указанного в ссылке. Пример использования ссылок показан на рисунке 3.3.

Рисунок 3.3. Графическое обозначение ссылок

Рисунок 3.4. Пример использования ссылок

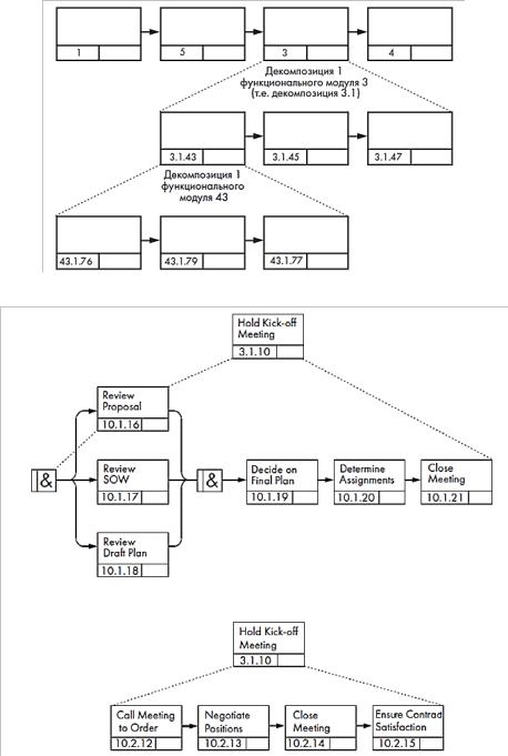
Каждый функциональный блок UOB может иметь последовательность декомпозиций, и, следовательно, может быть детализирован с любой необходимой точностью. Под декомпозицией мы понимаем представление каждого UOB с помощью отдельной IDEF3 диаграммы. Например, можно декомпозировать UOB "Окрасить Деталь", представив его отдельным процессом и построив для него свою PFDD диаграмму. При этом эта диаграмма будет называться дочерней, по отношению к изображенной на рисунке 3.1, а та, соответственно, родительской. Номера UOB дочерних диаграмм имеют сквозную нумерацию, т.е., если родительский UOB имеет номер "1", то блоки UOB на его декомпозиции будут соответственно иметь номера

8

"1.1", "1.2" и т.д. Применение принципа декомпозиции в IDEF3 позволяет структурировано описывать процессы с любым требуемым уровнем детализации. На рисунке 3.5 приведен пример декомпозиции модулей (UOB) и принцип формирования их номеров. Для наглядности все модули представлены на одном рисунке, но в IDEF3 они отображаются в трех диаграммах.

Методология IDEF3 позволяет декомпозировать работу многократно, т. е. работа может иметь множество дочерних работ. Возможность множественной декомпозиции отражается в нумерации работ: номер работы состоит из номера родительской работы, номера декомпозиции и номера работы на текущей диаграмме. На рисунке 3.6 представлен пример двух вариантов декомпозиции родительского модуля.

Рисунок 3.5. Декомпозиция функциональных блоков

Рисунок 3.6. Пример двух вариантов декомпозиции модуля

9

Если диаграммы PFDD описывают технологический процесс "с точки зрения наблюдателя", то другой класс диаграмм OSTN – диаграммы сети изменения состояний объектов (не поддерживаются в BPwin) позволяет рассматривать тот же самый процесс "с точки зрения объекта". С ее помощью можно графически представить, как одни виды объектов преобразуются в другие или изменяют свое состояние в ходе выполнения рассматриваемого процесса.

На OSTN состояния объектов изображаются окружностями с именем объекта внутри, а изменения состояний − соединительными линиями. Состояние объекта описывается фактами и ограничениями, которые должны выполняться, чтобы объект находился в данном состоянии. Требования для перехода объекта в заданное состояние определяются условиями входа. Условия выхода говорят о ситуации, в которой объект выходит из заданного состояния. Эти ограничения описываются в списке свойств. Связи переходов состояний задают возможные способы изменения состояний объектов.

Для изображения последовательностей переходов объектов из одного вида в другой и изображения перехода одного и того же объекта из одного состояния в другое в диаграммах OSTN используются связи переходов (Transition Links), которые бывают слабыми (Weak Transition Link) и сильными (Strong Transition Link). Слабые связи переходов изображаются сплошными одинарными стрелками (рис. 3.7) и показывают, что объекту вида В предшествует объект вида А или что состоянию В некоторого объекта предшествует его состояние А.

Рисунок 3.7. Пример слабой связи переходов Сильные связи переходов изображаются двойными однонаправленными

стрелками (рис. 3.8) и подчеркивают, что объекту вида В должен предшествовать объект вида А или что состояние В объекта достижимо только из состояния А.

Рисунок 3.8. Пример сильной связи переходов

В диаграммах OSTN используются те же виды ссылок, что и в диаграммах PFDD. Исключение составляет лишь ссылка типа GOTO, которая используется только в диаграммах потоковых процессов PFDD. Ссылки могут относиться как к символу объекта, так и к связи перехода. Соответственно, они интерпретируются как действия, которые необходимо осуществлять для поддержания объекта в данном виде или состоянии, или как действия, которые необходимы для преобразования вида или

10

состояния объекта. Так как процессы поддержания объекта в определенном состоянии и его преобразования могут быть сложными, то допускается использование нескольких ссылок к любому элементу OSTN диаграммы.

На диаграммах OSTN могут использоваться перекрестки. Перекресток изображается кружком, внутри которого содержится условное обозначение логической функции, реализуемой перекрестком В качестве логических функций могут использоваться И (&), ИЛИ (O) и ИСКЛЮЧАЮЩЕЕ ИЛИ (X). Как и на диаграммах PFDD, узлы перехода могут означать слияние и разветвление. Но на диаграммах OSTN перекрестки не делятся на асинхронные и синхронные. На рисунке 3.9 показан пример использования узла разветвления с логической функцией ИЛИ.

Рисунок 3.9. Пример перекрестка с логической функцией ИЛИ Диаграмма на рисунке 3.9 означает, что под действиями UOB с именем P объект

из состояния А может перейти в одно или сразу несколько состояний из множества возможных: B1, В2, …, Вn. Если бы в качестве логической функции использовалась функция ИСКЛЮЧАЮЩЕЕ ИЛИ, то это говорило бы, что возможен переход только в одно из возможных состояний B1, В2, …, Вn. Использование же функции И в перекрестке отображало бы переход объекта из состояния А сразу во все состояния

B1, В2, …, Вn.

На рисунке 3.10. представлено отображение процесса окраски с точки зрения OSTN диаграммы.

Рисунок 3.10. Пример OSTN диаграммы

BPwin имеет возможность преобразования диаграмм IDEF3 в имитационную модель популярной системы моделирования Arena.

11

3.1.1. Создание модели в стандарте IDEF3

В стандарте IDEF3 может быть создана контекстная диаграмма. Но обычно этот стандарт используют для декомпозиции активностей. Проведем декомпозицию активности "Сборка настольных компьютеров". В диалоге Activity Box Count выберем нотацию IDEF3 и число работ, равное 4.

Рисунок 3.11. Выбор нотации в диалоге Activity Box Count Возникает диаграмма, содержащая 4 работы (UOW) – рисунок 3.12.

Рисунок 3.12. UOW на диаграмме декомпозиции Примем, что диаграмма декомпозиции должна содержать 7 работ:

Подготовка компонентов.

Установка материнской платы и винчестера.

Установка карт-ридера.

Установка DVD.

Установка сетевой карты.

Инсталляция операционной системы (ОС).

Инсталляция дополнительного программного обеспечения (ПО).

С помощью кнопки добавим к диаграмме еще три работы. В диалоге Activity Properties зададим имена и свойства работ. На вкладке UOW (рис. 3.13) зададим