Материал: 8. График движения поездов

Внимание! Если размещение файла нарушает Ваши авторские права, то обязательно сообщите нам

8.2 Виды графиков движения поездов

Железнодорожная сеть России характеризуется различными размерами движения, числом главных путей, соотношением скоростей грузовых и пассажирских поездов, разностью размеров движения по направлениям и т.д. В связи с этим, различны и сами графики движения, которые классифицируются по нескольким признакам:

  1. В зависимости от числа главных путей на перегонах железнодорожного участка:

  • однопутные или двусторонние – главные путь на перегонах используется для движения поездов в оба направления попеременно; скрещение и обгон поездов осуществляется на раздельных пунктах (рис. 8.2а);

  • двухпутные или односторонние – каждый главный путь на перегонах специализирован для движения поездов только в одном направлении (рис. 8.2б).

а)

б)

Рисунок 8.2 Параллельный график однопутный (а) и двухпутный (б)

  1. В зависимости от соотношения скоростей движения поездов различных категорий:

  • параллельные – все поезда одного и того же направления имеют одинаковую ходовую скорость (рис. 8.2);

  • непараллельные – поезда одного и того же направления имеют разную ходовую скорость в зависимости от их категории (рис. 8.3).

Рисунок 8.3 Однопутный непараллельный график

  1. В зависимости от соотношения количества поездов в каждом направлении на:

  • парные с одинаковым количеством поездов в обоих направлениях;

  • непарные – с разным количеством поездов в каждом из направлений.

  1. В зависимости от порядка следования поездов одного направления:

  • пакетные – применяются при автоблокировке. В этом случае поезда разграничиваются блок-участками, и на перегоне одновременно могут находиться сразу несколько поездов (рис. 8.4а).

  • частично пакетные – применяются при автоблокировке; в этом случае одни поезда следуют в пакете, другие – отдельно (рис. 8.4б).

  • пачечные применяются при полуавтоблокировке. В этом случае поезда разграничиваются межстанционными перегонами, и на одном перегоне может находиться только один поезд (рис. 8.4в).

а)

б)

в)

8 График движения поездов

8.1 Назначение графика движения поездов

График движения поездов – основополагающий технологический документ длительного действия, регламентирующий организацию эксплуатационной работы во всех звеньях и уровнях управления на железнодорожном транспорте.

График движения поездов представляет собой условную зависимость пройденного поездом расстояния от времени нахождения в пути следования, изображенную в осях координат «расстояние–время» в виде так называемой «линии хода» поезда на графике или «нитки» графика (рис. 8.1).

Условность изображения линии хода поезда на графике состоит в том, что по оси расстояния, расположенной на графике вертикально, скорость движения поезда в пределах одного перегона принимается равномерной. Вместе с тем, при трогании с места, прохождении кривых, спусков и подъемов на перегоне, торможении для остановки на станции и выполнении ограничений скорости реальная скорость поезда изменяется в значительных пределах.

Для построения графика следует нанести линии хода всех поездов на график, используется специальный шаблон, называемый «сетка графика». Сетка графика и линии хода поездов на ней снабжаются краткими комментариями, которые называются «реквизитами».

Графиком фиксируются три основные события, происходящие с поездами:

  • прибытие поезда – на графике соответствует моменту его полной остановки в пределах станционного пути.

  • отправление поезда – на графике соответствует моменту начала движения поезда (появление на регистиррующем устройстве локомотива скорости 1 и более км/ч).

  • проследование поезда – на графике соответсвует моменту пересечения первой колесной парой головного локомотива изолирующего стыка первого по ходу за осью станции светофора, располагающегося на пути проследования поезда.

Существующая классификация поездов делит их на грузовые и пассажирские, а также на несколько категорий. Внутри каждой категории существуют дополнительные обозначения поездов, указывающие на специфику их использования. Деление поездов на грузовые и пассажирские в графике отражается в том, что для их прокладки используются разные нормативы. Основным и определяющим моментом при этом является перегонное время хода, которым проложена «нитка» графика. Пассажирские поезда проложены пассажирскими временами хода, а грузовые – грузовыми.

Номер поезда устанавливается в соответствии с его категорией. В зависимости от направления следования поездам присваиваются четные (следуют, как правило, с юга на север и с запада на восток) или нечетные (следуют в обратных направлениях) номера. В этой связи на графике различают четное и нечетное направления движения поездов. Линии хода четных поездов прокладываются из левого нижнего угла в правый верхний, а нечетных – из левого верхнего в правый нижний. Номер поезда сохраняется на всем маршруте его следования от станции формирования до станции расформирования (назначения) и изменяется с четного на нечетный или наоборот при смене направления движения в тех пунктах, где это предусмотрено графиком движения поездов.

Рисунок 8.1 Пример графика движения поездов

8.3.1 Интервалы между поездами в пакете

Интервал попутного прибытия поездов при а/б (Iпр) - минимальное время от момента прибытия на раздельный пункт (проследования через раздельный пункт) одного поезда до момента прибытия на этот же раздельный пункт (проследования через раздельный пункт) другого поезда того же направления движения.

Интервал Iпр при проследовании поездов через раздельный пункт без остановки определяют для условий отсутствия перевода на автоматическое действие входного и выходного светофоров (по главному пути).

Кроме двухпутных (или многопутных) линий, интервалы Iпр определяют для однопутных линий при частично-пакетном графике.

Рисунок 8.5 Интервал попутного прибытия поездов

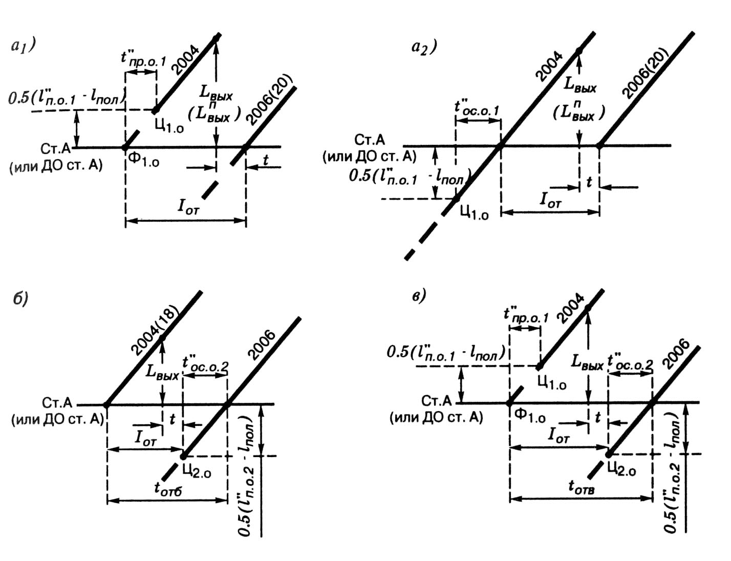
Интервал попутного отправления поездов при автоматической блокировке (Iот) -

Слад № 6.15.8

минимальное время от момента отправления с раздельного пункта (проследования через раздельный пункт) одного поезда до момента отправления (проследования через раздельный пункт) другого поезда того же направления движения.

Интервал Iот при проследовании поездов через раздельный пункт без остановки определяют для условий отсутствия перевода на автоматическое действие входного и выходного светофоров (по главному пути).

Кроме двухпутных (или многопутных) линий, интервалы Iот определяют для однопутных линий при частично-пакетном графике.

Рисунок 8.6 Интервал попутного отправления поездов

8.3.2 Станционные интервалы

С

Слад № 6.15.12

танционные интервалы – это минимальные промежутки времени для выполнения операций по приему, отправлению или пропуску поездов через станцию (обгонный пункт или разъезд) называются станционными интервалами.

Численное значение станционных интервалов для различных условий эксплуатации определяются в соответствии с Инструкцией по определению станционных и межпоездных интервалов, утвержденной МПС России 16 июня 1995 г. № ЦД-361.

Станционные интервалы:

  • интервалы для встречных поездов:

  • τн — интервал неодновременного прибытия с остановкой обоих встречных поездов (тип I);

  • τнп — интервал неодновременного прибытия поезда с остановкой и проследования без остановки встречного поезда (тип II);

  • τс — интервал скрещения поездов (тип III);

  • τвп — интервал неодновременного отправления и встречного прибытия поездов при враждебных маршрутах (тип IV);

  • τбс — интервал безостановочного скрещения поездов на двухпутной вставке (тип V).

  • интервалы для попутных поездов:

  • τпо — интервал неодновременного прибытия и попутного отправления поездов (тип VI);

  • τоп — интервал неодновременного отправления и попутного прибытия поездов (тип VII).

Рисунок 8.4 График движения поездов: а – пакетный; б – частично пакетный; в - пачечный

8.3 Элементы графика движения поездов

Для составления графика должны быть определены его основные элементы:

  • перегонное время хода поезда,

  • продолжительность стоянки поездов на станциях,

  • станционные интервалы и интервалы между поездами в пакете.

Перегонное время хода поезда – время в минутах, затрачиваемое поездом на прохождение расстояния между осями соседних раздельных пунктов или осями их приемо-отправочных парков, если они не совпадают с осью станции. Устанавливается тяговыми расчетами.

Перегонные времена хода рассчитываются отдельно для:

  • всех категорий грузовых и пассажирских поездов;

  • каждой весовой нормы состава в пределах каждой категории поездов;

  • каждой серии локомотивов (моторвагонных секций) пассажирских и пригородных поездов, постоянная эксплуатация которых в пассажирском или грузовом движении предусмотрена на данном участке железной дороги.

В работе скорость грузового поезда составляет 60 км/ч (1 км/мин). Время хода пассажирского поезда и скорого пассажирского поездов составляет 80% и 70% от времени хода грузового соответственно.

При составлении графика движения поездов к чистому времени хода в необходимых случаях добавляется время на разгон:

  • грузовых поездов при тепловозной тяге – 2 мин;

  • грузовых поездов при электрической тяге – 1 мин;

  • пассажирских поездов при электрической и тепловозной тяге – 1 мин.

Время на замедление грузовых и пассажирских поездов при всех видах тяги принимается 1 мин.

Продолжительность стоянки поездов на станциях для выполнения технических, грузовых и пассажирских операций.

Продолжительность стоянки сборного поезда на промежуточных станциях равна 25 – 40 минут.

Стоянка электрички на раздельных пунктах принимается 1-2 минуты.

Скорые пассажирские поезда проследуют по участку без остановок. Остановка допускается только с целью пропуска встречного поезда той же категории.

Грузовые поезда останавливаются для пропуска пассажирских поездов.

  • интервал поездов противоположных направлений:

  • τно — интервал неодновременного отправления поездов противоположных направлений (тип VIII).

  • τп — интервал попутного следования поездов на линиях, не оборудованных автоматической блокировкой (тип XII).

Интервал неодновременного прибытия (τн)

Слад № 6.15.13

- минимальное время от момента прибытия на раздельный пункт грузового или пассажирского поезда до момента прибытия на этот раздельный пункт встречного грузового либо пассажирского поезда.

Интервалы неодновременного прибытия с остановкой встречных поездов:

  • а – грузового (или пассажирского) и грузового;

  • б – грузового (или пассажирского) и пассажирского.

Рисунок 8.7 Интервал неодновременного прибытия с остановкой обоих поездов

Интервал неодновременного прибытия поезда с остановкой и проследованием без остановки встречного поезда τнп (тип II). Интервал τнп называют минимальное время от момента прибытия на раздельный пункт грузового или пассажирского поезда с остановкой до момента проследования без остановки встречного грузового либо пассажирского.

Интервалы неодновременного прибытия с остановкой и проследования встречного без остановки поездов:

  • а – грузового (или пассажирского) и грузового;

  • б – грузового (или пассажирского) и пассажирского.

Рисунок 8.8 Интервал неодновременного прибытия с проследованием одного поезда без остановки

Интервал скрещения поездов τс (тип III). Интервал скрещения поездов называют минимальное время от момента прибытия либо проследования раздельного пункта грузовым или пассажирским поездом до момента отправления на тот же перегон встречного грузового или пассажирского поезда.

Интервалы скрещения грузовых (пассажирских) поездов при:

  • а – остановке прибывающего поезда;

  • б – проследовании прибывающего поезда без остановки.