Расчет радиального однорядного шарикового подшипника:
=15,8Н;
;
д

6,2·1011 часов > 10000 часов, условие долговечности выполняется, подшипник подобран верно.
Расчет упорного двойного шарикового подшипника 38212:
Этот подшипник воспринимает только осевую нагрузку. У него: r=3, х=0 и у=1,0; Fa=3217H; Kt=1; Crа=65000; n=50 об/мин; Kб =1,2;
![]()

250690 часов > 10000 часов, условие долговечности выполняется, подшипник подобран верно.
Расчет сферического подшипника 8212 Cr=30кН, С0=16кН
Так как сферический подшипник не воспринимает осевую нагрузку , то не будем учитывать осевую нагрузку.
=18Н;
=0,
x=1,
y=0.

то х=1; у=0.
P=
(1,0
1,0
18
+0
0)
1,2
1,0
=21,6Н.

> 10000 ч,
условие долговечности выполняется,
подшипник подобран верно.
Конструкция расположения подшипников на валу представлена на рис. 7.7.
7.3.8. Подбор муфты
Муфта – устройство, служащее для соединения валов между собой или с деталями, свободно насаженными на валы, с целью передачи вращающего момента.
Фланцевая муфта применяется для соединения строго соосных валов. Муфта состоит из двух полумуфт, имеющих форму фланцев.
Фланцевая муфта обеспечивает надежное соединение валов и может передавать большие моменты.
Муфта подбирается в соответствии с диаметром вала по ОСТ 26-01-1226-75; Габарит 3, исполнение 2.
Рис. 7.7.
Конструкция опор вала мешалки для случая рассмотрения примера решения аппарата
d = 60мм; n = 6
D = 220 мм; L = 110 мм;
D1 = 180 мм; l = 25 мм;
d0 = 90 мм; l1 = 38 мм;
d1 = 110 мм; b = 5 мм;
d2 = 120 мм; l2 = 22 мм;
d3 = 105 мм; T = 10000 H∙м;
dб = М16 ; m = 26,4 кг.
Конструкция муфты представлена на рис. 7.8.
60
Рис. 7.8. Фланцевая муфта
7.3.9. Расчет мешалки
Определение расстояния от оси до точки приложения равнодействующей сил, действующих на лопасти:
,
где
R
– радиус лопасти;
![]()
r – радиус ступицы; r = 30 мм.
.
Определяем значение равнодействующей силы
,
где T’ – крутящий момент на валу;
z = 2 – количество лопастей рамной мешалки;

Изгибающий момент у основания лопасти:
.
Из условия прочности необходимый момент сопротивления лопасти
,
для стали Х17Н13М2Т
.
![]()
Условие прочности выполняется.
Центр тяжести сечения

А1=12∙1,4=16,8 см2 А2=1,7∙5,25=8,925 см2.
Момент инерции сечения


Условие прочности выполняется.
Конструкция мешалки представлена на рис. 7.9.

Рис. 7.9. Мешалка рамная
Расчет шпонки на смятие
Выбираем две шпонки по ГОСТ 23360-78:
![]()
![]()
![]()
Проверим на смятие:
dвала = 50 мм – диаметр под ступицу.
![]()


Условие прочности:
![]()
![]()
Рис. 7.10. Шпонка
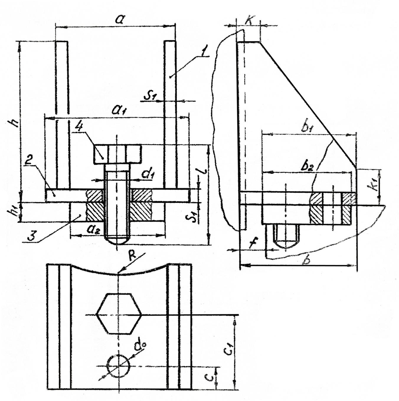
7.3.10. Расчет опор-лап аппарата
Размер опоры-лап выбирается в зависимости от внутреннего диаметра корпуса аппарата в соответствии с ГОСТ 26-665-72.
Проверочный расчет элементов опоры:
Выбираем типоразмер опоры и определяем допускаемую нагрузку на опору:
Тип 2. Исполнение 2.
a = 210 мм; h = 470 мм; d0 = 35 мм;
a1 = 250 мм; h1 = 24 мм; d1 = M30 мм;
a2 = 150 мм; l = 120 мм; f = 210 мм;
b = 380 мм; S1 = 12 мм; m = 28 кг;
b1 = 170 мм; k = 35 мм; подкладной лист:
b2 = 160 мм; k1 = 100 мм; m = 4.5 кг;
c
= 40 мм; R
= 1100
мм; ![]()
c1 = 120 мм; r = 20 мм;
Основная величина для расчета нагрузки на одну опору:

где
–
максимальный вес аппарата, включающий
вес аппарата, футеровки, термоизоляции,
различных конструкций, опирающихся на
корпус аппарата, максимальный вес
продуктов, заполняющих аппарат или
массу воды при испытании.
,
где
;
![]()
![]()

![]()


;
![]()



![]()
![]()
![]()
![]()

![]()
n = 4 – количество опор-лап.
- условие выполняется.
Определяем фактическую площадь подошвы подкладного листа опор:
,
где a2, b2 – размеры подкладного листа.
Определяем требуемую площадь подошвы подкладного листа из условия прочности бетона фундамента:

где
- допускаемое удельное давление для
бетона марки 200.
-
условие выполняется.
Проверим вертикальные ребра опор на сжатие и устойчивость.
Напряжение сжатия в ребре при продольном изгибе:
,
где 2,24 – поправка на действие неучтенных факторов,
k1 – коэффициент, определяемый по графику в зависимости от гибкости ребра λ,
,
где
- гипотенуза ребра для опоры-лапы.
![]()
.
Следовательно, k1
= 0,375.
zp = 2 – число ребер в опоре;
S1 = 12 мм – толщина ребра;
b = 200 мм – вылет ребра;
- допускаемое напряжение для ребер
опоры;
k2 – коэффициент уменьшения допускаемых напряжений при продольном изгибе k2=0,4;

- условие выполняется.
Проверим на срез прочности угловых швов, соединяющих ребра с корпусом аппарата:

![]()
- общая длина шва при сварке;
![]()
- условие выполняется.
Конструкция опор-лап представлена на рис. 7.11.

Рис. 7.11. Конструкция опор-лап
7.4. Подбор штуцеров и люка
Подбор штуцеров и люков осуществляется в соответствии с внутренним диаметром корпуса аппарата Dвн = 2000мм.
Основные условные диаметры штуцеров для корпусов с эллиптической крышкой по ОСТ 26-01-1246-75 представлены на конструкции штуцеров (рис. 7.12).
В соответствии с внутренним диаметром аппарата выбираем люк с плоской крышкой и откидными болтами.
Основные размеры представлены на конструкции люка (рис. 7.13).
