Материал: 4668

Внимание! Если размещение файла нарушает Ваши авторские права, то обязательно сообщите нам

16

Рис.9. Рис.10. где F и Mк – действующая сила и крутящий момент. Wp – полярный момент сопротивления сечения.

При изгибе также возникают нормальные напряжения.

4.2. Материалы, применяемые в машиностроении

Требования, предъявляемые к материалам. Материал должен обеспечить надёжность, заданную долговечность, минимальные массу и габаритные размеры машин. При этом исходят из следующих общих предпосылок: а) эксплуатационной – материал должен удовлетворять условиям работы детали в машине; б) технологической – удовлетворять требованиям минимальной трудоёмкости изготовления; в) экономической – материал должен быть выгодным с учётом всех затрат. Для обеспечения этих условий к поверхностям и объёмам деталей предъявляются различные требования: износостойкость, контактная или объёмная прочность, жёсткость, коррозионная стойкость, демпфирующая способность и т.д.

Кроме материала контактирующих поверхностей подвижных соединений, в обеспечении работоспособности машин важную роль играют смазочные материалы. К ним предъявляют требования: снижать потери на трение, уменьшать или предотвращать износ деталей, отводить тепло и уносить продукты износа, а также предохранять от коррозии.

Классификация материалов. В машиностроении применяют чёрные и цветные металлы и их сплавы, металлокерамические, неметаллические и смазочные материалы. К чёрным металлам относятся стали и чугуны. Различают стали низкоуглеродистые, среднеуглеродистые и высокоуглеродистые. По наличию основных легирующих компонентов стали делятся на группы – хромистые, марганцовистые и др. Стальные отливки бывают из конструкционной нелегированной и легированной, высоколегированной и других сталей.

Чугун для отливок делят на серый, высокопрочный с шаровидным графитом, ковкий (отливки из белого чугуна, подвергнутые отжигу), коррозионно-стойкий и др. В буквенных обозначениях чугуна отражается группа (серый – СЧ, ковкий – КЧ и т.д.); цифрами –

17

механические характеристики. Антифрикционные чугуны разделяются на серые, высокопрочные, ковкие (АЧС, АЧВ, АЧК).

Сплавы цветных металлов разделяются в зависимости от способа получения заготовки на литейные и деформируемые; от основы сплавана алюминиевые: силумины, дюралюмины; медные – латуни; бронзы – оловянные, оловяннофосфорные, безоловянные и др., а также баббиты – оловянные и свинцовые. Марки титановых сплавов подразделяются в зависимости от содержания примесей (алюминия, марганца, хрома, железа).

Металлокерамические материалы делятся на компактные беспористые и пористые, упрочнённые дисперсными включениями и др. Из неметаллических материалов чаще всего применяют резину, пластмассы и древесно – слоистые пластики. Резины подразделяются на мягкие, жёсткие и пористые. Детали бывают резиновые и резинометаллические.

Смазочные материалы бывают жидкие, пластичные, твёрдые и газообразные. Жидкие минеральные масла делятся на конструкционные, применяемые для обеспечения работоспособности машин, и технологические – для улучшения условий обработки металлов.

4.3. Характеристика основных материалов

Чёрные металлы. При малом содержании углерода стали обладают высокой пластичностью и свариваемостью; с увеличением содержания углерода повышается прочность, уменьшается пластичность и ухудшается свариваемость.

Низкоуглеродистые качественные конструкционные стали применяют для деталей, работающих при постоянных напряжениях.

Малоуглеродистые низколегированные стали обладают более высокой прочностью и износостойкостью.

Шарикоподшипниковые стали ШХ6, ШХ9 и др. обладают повышенной износостойкостью и прочностью при переменных напряжениях.

Цветные металлы. Сплавы цветных металлов используют для втулок, крепёжных деталей, сепараторов подшипников качения, корпусов и т.п.

Титановые сплавы – ВТ-3 и др. – обладают высокой прочностью, жаропрочностью и коррозионной стойкостью.

Бронзы обладают высокими антифрикционными и антикоррозийными свойствами.

Латуни обладают хорошими механическими свойствами, коррозионной стойкостью.

18

Неметаллические материалы. Пластмассы по прочностным характеристикам могут приближаться к некоторым металлам, а по коррозионной стойкости - превосходить их. Пластики отличаются от сталей меньшей прочностью в 10…30 раз, жёсткостью в 20…200 раз, твёрдостью в 10…100 раз.

Резина обладает высокой эластичностью, стойкостью к воздействию внешней среды, амортизационными способностями.

4.4. Улучшение рабочих характеристик материалов

Легирование. С помощью использования некоторых элементов или их комбинаций существенно повышают предел прочности, текучести, ударную вязкость металлов. Хром повышает прочность; никель повышает сопротивление хрупкому разрушению; молибден и вольфрам способствуют повышению твёрдости; медь и фосфор увеличивают коррозионную стойкость.

Термическая и химикотермическая обработка. Основными термическими операциями являются отжиг, нормализация, закалка, отпуск. Отжиг (нагрев и медленное охлаждение) поковок и отливок применяют для получения необходимых механических свойств. При нормализации уменьшаются внутренние напряжения; применяют для углеродистой стали с целью подготовки структуры металла перед механической обработкой.

Закалка готовых деталей позволяет сохранить неустойчивую структуру при комнатной температуре. После закалки проводят отпуск – нагрев и охлаждение при определённом режиме.

Спомощью химико – термической обработки – цементации, азотирования, цианирования – достигается упрочнение поверхностных слоёв. При цементации деталей из низкоуглеродистых сталей поверхностный слой на глубину 1…2 мм насыщают углеродом.

При азотировании поверхностный слой глубиной 0,3…0,6 мм насыщается азотом. При цианировании поверхность насыщается одновременно углеродом и азотом.

Сцелью повышения износо- и коррозионной стойкости применяют диффузионную металлизацию – насыщение поверхности чаще всего хромом, титаном, бором и др. При этом повышаются твёрдость и термостойкость.

Механическое упрочнение поверхности. Улучшить сопротивляемость деталей разрушению можно созданием на их поверхности напряжений сжатия. Этого достигают с помощью наклёпа – дробеструйной обработки, накатки роликами или шариками и т.п.

Комбинированные материалы. Применяют двойные комбинированные материалы на основе металл-металл, металл-неметалл.

19

На основе адгезионного соединения резины с металлом получают резинометаллические материалы.

Соединением нескольких компонентов получают металлокерамические материалы. Так, в металлокерамических фрикционных материалах на медной основе медь обеспечивает хороший отвод тепла; железо и абразивные материалы служат для повышения коэффициента трения; свинец, расплавляясь, образует тонкую плёнку, которая играет роль смазочного материала; стальная основа обеспечивает жёсткость и прочность детали.

5.МЕХАНИЧЕСКИЕ ПЕРЕДАЧИ ТРЕНИЕМ

ИЗАЦЕПЛЕНИЕМ

Передачей называется устройство для передачи энергии на расстояние. В зависимости от способа осуществления передачи энергии различают механические, электрические, пневматические и гидравлические передачи. Из механических передач самые распространённые передачи вращательного движения, которые служат для передачи энергии от двигателей к рабочим машинам, обычно с преобразованием скоростей, сил и крутящих моментов. Кроме того, эти передачи широко применяют в различных механизмах для преобразования скорости. Передачи вращательного движения подразделяют на передачи с непосредственным контактом тел вращения и передачи с гибкой связью, в которых тела вращения связаны между собой гибким звеном. К первым передачам относятся фрикционная, зубчатая и червячная, а ко вторым – ремённая и цепная. В зависимости от способа передачи движения от ведущего тела вращения ведомому различают передачи трением и передачи зацеплением. К первым относятся передачи фрикционные и ремённые, а ко вторым – зубчатые, червячные и цепные.

5.1. Фрикционные передачи

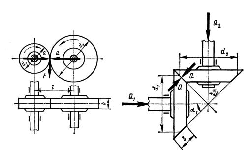
Фрикционная передача состоит из двух соприкасающихся между собой колёс (катков, роликов, дисков); вращение одного из колёс преобразуется во вращение другого за счёт сил трения, возникающих в месте контакта колёс (рис. 11; 12)

20

Рис. 11. Рис.12. Необходимая сила трения между колёсами фрикционной передачи достигается прижатием одного из них к другому. По конструкции и назначению различают фрикционные передачи нескольких видов. Простейшая фрикционная передача между параллельными валами – это цилиндрическая передача (рис 11). Самая простая фрикционная передача между валами с пересекающимися осевыми линиями – коническая передача (рис 12). Угол между валами конической передачи может быть любым, но в большинстве случаев он равен 90 градусов.

Цилиндрическая и коническая фрикционные передачи характеризуются условно постоянным передаточным отношением. Если одно из колёс (или оба колеса) фрикционной передачи имеет переменный диаметр вращения, то такая передача, называемая вариатором, характеризуется переменным передаточным отношением.

Фрикционные передачи работают всухую или в масле. Их применяют гораздо реже других механических передач, что объясняется рядом существенных недостатков; большой силой прижатия колёс друг к другу и отсюда повышенным износом колёс и подшипников; пониженным КПД передачи; непостоянством передаточного отношения из-за проскальзывания колёс и соответственно невозможностью применения передачи в тех случаях, когда передаточное отношение должно быть точным.

Вместе с тем, фрикционные передачи имеют ряд достоинств: возможность бесступенчатого регулирования угловой скорости ведомого вала; равномерность вращения колёс; бесшумность работы.