Материал: 4478

Внимание! Если размещение файла нарушает Ваши авторские права, то обязательно сообщите нам

16

щий определенной задержке, позволяет с учетом выражений (3.11) определить сдвиг цикла. Для удобства расчетов момент прибытия определяется по последнему автомобилю пачки, что не отражается на конечных результатах. Таким образом, выражения (3.11) получают вид:

tai = tgi + tki-1 + τ/i – φi;

(4.1)

taSi-1 = tgi-1 + tki + τ/Si-1 – Tц + φi.

Задержка определяется по выражению

а

1

t

 

∆t = N(t)∙[tk +

∙ N(t1) dt1 – t ] dt,

(4.2)

MH

0

0

 

где a - интервал времени от начала красного сигнала до момента окончания разгрузки очереди автомобилей;

tk+

1

t

N(t1)dt1-t - полное время задержки в период красного сигнала и

MH

 

0

 

пребывания в очереди в период ее разгрузки;

t - момент прибытия автомобиля к перекрестку.

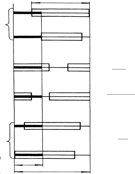
Учитывая, что интенсивность пачки автомобилей принята в расчетах постоянной, задача сводится в основном к определению величины a. Последняя определяется, исходя из конкретной схемы прибытия пачки (рисунок 4).

На основе данных о задержках и соответствующих им сдвигов цикла строятся графики линеаризованной зависимости ∆t и ∆tS от φ. Это в свою очередь, позволяет построить зависимость ∆Т от φ. Минимальное значение ∆Т на графике определяет оптимальный сдвиг.

4.2. Характерные случаи прибытия пачки автомобилей к перекрестку

Рассматриваются 4 характерных случая, показанных на рисунке 4.

1. Если tk + τ/ > Tц,

 

N

M

 

(t

 

T τ/ )2

 

 

∆t =

t

 

H

 

k

Ц

;

(4.3)

 

2 (MH

Nt )

 

 

 

 

 

1

2

3

4

17

τ/

tk + τ/ > Tц

tk + τ/ ≤ Tц

MH tk /

MH Nt

0< MH (tk ТЦ τ/ ) / MH Nt

tk + Nk τ/ /

MH

tK

TЦ

Рисунок 4 – Характерные случаи прибытия пачки к перекрестку

2. Если

MH tk

/, то

 

 

MH Nt

18

 

 

∆t =

 

 

N

M

H

t2k

 

 

 

 

 

и

 

ta

 

=

 

 

M

 

 

 

t

 

 

 

.

 

 

 

 

 

 

t

 

 

 

 

 

 

 

 

 

 

 

 

 

 

 

 

 

 

 

 

 

 

 

H

 

k

 

 

 

 

 

2 (M

 

N

 

)

 

 

 

 

 

 

 

M

 

 

 

 

 

 

 

 

 

 

 

 

 

 

 

H

t

 

 

 

 

 

 

 

 

 

 

 

 

 

 

H

N

t

 

 

 

 

 

 

 

 

 

 

 

 

 

 

 

 

 

 

 

 

 

 

 

 

 

 

 

 

 

 

 

 

 

 

 

 

 

 

 

 

 

 

 

MH (tk

ТЦ

τ/ )

 

 

 

 

/

 

 

 

 

 

 

 

 

 

 

 

 

 

 

 

 

 

 

 

 

 

 

 

 

 

 

 

 

 

 

 

 

 

3. Если 0<

 

 

 

 

 

 

 

 

 

,

 

 

то

 

 

 

 

 

 

 

 

 

 

 

 

 

 

 

 

 

 

 

 

 

 

 

 

 

 

MH

Nt

 

 

 

 

 

 

 

 

 

 

 

 

 

 

 

 

 

 

 

 

 

 

 

 

 

 

 

 

 

 

 

 

 

 

 

 

 

 

 

 

 

 

 

 

 

 

 

 

 

 

 

 

 

 

 

 

 

 

 

 

 

 

 

 

 

 

 

 

 

 

 

 

 

 

 

 

 

 

 

 

 

t = N

t

 

M

H

t 2 k

 

Т

Ц

τ / 2

 

и

 

 

 

 

 

 

 

 

 

 

 

 

 

 

 

 

 

 

 

 

 

 

 

 

 

 

 

 

 

 

 

 

 

 

 

 

 

 

 

 

 

 

 

 

 

 

 

 

 

 

 

 

 

 

 

 

 

 

 

 

 

 

 

 

 

 

 

 

 

 

 

 

 

 

 

 

 

 

 

 

 

 

 

 

 

 

 

 

 

 

 

 

 

 

 

 

 

 

 

 

 

 

 

 

 

 

 

 

 

 

2 (MH

 

N t )

 

 

 

 

 

 

 

 

 

 

 

 

 

 

 

 

 

 

 

 

 

 

 

 

 

 

ta =

 

 

 

 

M

 

(t

Т

 

 

τ/ )

.

 

 

 

 

 

 

 

 

 

 

 

 

 

 

 

 

 

 

 

 

 

 

 

 

 

 

 

 

 

 

H

 

k

 

 

Ц

 

 

 

 

 

 

 

 

 

 

 

 

 

 

 

 

 

 

 

 

 

 

 

 

 

 

 

 

 

 

 

 

 

 

 

 

 

 

 

 

 

 

 

 

 

 

 

 

 

 

 

 

 

 

 

 

 

 

 

 

 

 

 

 

 

 

 

 

 

 

 

 

 

 

 

 

 

 

 

 

 

 

 

 

 

MH Nt

 

 

 

 

 

 

 

 

 

 

 

 

 

 

 

 

 

 

N t τ /

 

/

 

 

 

 

 

 

 

 

 

 

 

 

 

 

 

 

 

 

 

 

 

 

 

 

 

 

 

 

 

 

 

 

 

 

 

 

 

 

 

 

 

 

 

4. Если tk +

 

, то

 

 

 

 

 

 

 

 

 

 

 

 

 

 

 

 

 

 

 

 

 

 

 

 

 

 

 

 

 

 

 

 

 

 

 

 

 

 

 

 

M H

 

 

 

 

 

 

 

 

 

 

 

 

 

 

 

 

 

 

 

 

 

 

 

 

 

 

 

 

 

 

 

 

 

 

 

 

 

 

 

 

 

 

 

 

 

 

 

 

 

 

 

 

 

 

 

 

 

 

 

 

 

 

 

 

 

 

 

 

 

 

 

 

 

 

 

 

 

 

 

 

 

 

 

 

 

 

 

 

 

 

 

N

τ/2

 

 

 

 

 

 

 

 

N

 

 

 

 

 

 

 

 

 

 

 

 

 

 

 

 

 

 

 

 

 

 

N

τ/

 

 

∆t =

 

 

t

 

 

 

∙(1 -

 

 

 

 

 

 

t

 

 

)

 

 

и

 

 

 

 

ta = tk +

 

 

t

 

;

 

 

 

 

 

 

 

2

 

 

 

 

 

 

 

 

 

 

MH

 

 

 

 

 

 

 

 

 

 

 

 

 

 

 

 

 

 

 

 

 

 

MH

 

 

∆t = Nt∙τ/∙[tk

-

 

τ/

 

∙(1 -

 

Nt

 

)]

 

 

 

 

 

 

и

 

 

 

 

 

 

 

ta = τ/.

 

 

 

2

 

 

MH

 

 

 

 

 

 

 

 

 

 

 

 

 

 

 

 

 

 

 

 

 

 

 

 

 

 

 

 

 

 

 

 

 

 

 

 

 

 

 

 

 

 

 

 

 

 

 

 

 

 

 

 

 

 

 

 

 

 

 

4.3 Пример расчета

(4.4)

(4.5)

(4.6)

Ручной расчет оптимального сдвига цикла ведется для двух соседних перекрестков в соответствии с методикой, изложенной в п. 4.1 и 4.2. Исходные данные для расчета применительно к данному примеру приведены в приложении 3. В данном примере принимается расстояние между перекрестками 400 м, расчетная скорость 60 км/ч. Цикл регулирования 55с.

По расстоянию между перекрестками и расчетной скорости определяется время движения на перегоне tg и tgS. Интенсивность движения и величина потоков насыщения для удобства расчетов выражается в ед/с. Длительность красных сигналов на 2-м перекрестке - 21с и на 3-м перекрестке - 24с.

Полученные данные приведены в таблице 4.1.

19

 

 

 

 

 

 

Таблица 4.1

 

 

 

 

 

 

 

 

NP1,

N22,

N33,

MHP,

tk,

tg,

 

перекрестка

ед/с

ед/с

ед/с

ед/с

с

с

 

 

 

 

 

 

 

 

 

2 – 3

0,64

0,03

0,04

1,5

21

24

 

 

 

 

 

 

 

 

 

 

NS1,

N23,

N32,

MHS,

tk,

tg,

 

 

ед/с

ед/с

ед/с

ед/с

с

с

 

 

 

 

 

 

 

 

 

3 – 2

0,55

0,03

0,06

1,5

24

24

 

 

 

 

 

 

 

 

 

Расчет транспортных задержек и сдвигов цикла для направления движения от перекрестка 2 к перекрестку 3

Интенсивность пачки при подходе к перекрестку равна интенсивности движения в прямом направлении плюс интенсивность правоповоротного и левоповоротного движения:

NP = NP1 + N22 + N33;

NP = 0,64 + 0,03 + 0,04 = 0,71 ед/с.

Временной размер пачки автомобилей на выходе с перекрестка 2 (форму-

ла 3.8):

τ = 0,71 55 = 26,0с.

1,5

Временной размер пачки автомобилей при подходе к перекрестку 3 (фор-

мула 3.9):

 

τ/ = 26 ∙ е0,008 ∙ 24 = 31,5с.

Транспортная задержка и момент прибытия последнего автомобиля пачки

к перекрестку 3.

 

 

 

 

 

Случай первый (формула 4.3):

 

 

24 + 31,5 = 55,5 > 55с, ta = 55с;

 

0,71 1,5 (24 55 31,5)2

∆t =

 

 

 

 

= 0,22c.

 

 

 

 

 

 

2 (1,5 0,71)

Случай второй (формула 4.4):

 

 

 

 

1,5 24

= 45,5 > 31,5с;

 

 

 

 

 

1,5 0,71

условие не выполняется, расчѐт прекращен.

20

Случай третий (формула 4.5):

0 <

1,5 (24 55 31,5)

 

= 0,5с <31,5c;

 

 

 

1,5 0,71

 

 

 

 

 

 

 

 

 

 

 

 

 

 

 

 

ta =

1,5 (24 55 31,5)

 

= 0,5c;

 

 

 

 

 

 

 

 

 

 

 

 

 

 

 

 

 

 

 

1,5 0,71

 

 

 

 

 

 

 

 

 

 

 

∆t =

 

0,71 1,5 24 (55 31,5)2

= 16,2c.

 

 

 

 

2 (1,5 0,71)

 

 

 

 

 

 

 

 

 

 

 

 

 

Случай четвертый (формула 4.6):

 

 

 

 

 

 

 

 

 

 

 

 

24 +

0,71 31,5

= 38,9 >31,5c;

 

 

 

 

 

 

 

 

 

 

 

1,5

 

 

 

 

 

 

 

 

 

 

 

 

 

 

ta = 24 +

0,71 31,5

= 38,9c;

 

 

 

 

 

 

 

 

 

 

 

1,5

 

 

 

 

 

 

 

 

 

 

 

 

0,71 31,5 2

0,71

 

 

 

 

 

 

∆t =

 

 

 

 

 

∙ (1 –

 

 

 

 

 

) = 186,7c

 

2

 

1,5

 

 

 

 

 

 

 

 

 

 

 

 

 

 

 

 

 

 

 

 

и

 

 

 

 

 

 

 

 

 

 

 

ta = 31,5c; ∆t = 0,71 ∙ 31,5 ∙ [24 –

31,5

 

∙ (1 –

0,71

)] = 350c.

 

 

2

 

1,5

 

 

 

 

 

 

 

 

 

 

 

 

 

 

 

 

 

 

Сдвиги цикла, соответствующие найденным задержкам (формула 4.1):

при

∆t = 0,22c φ = 76,5 – 55 = 21,5c;

∆t = 16,2c φ = 76,5 – 0,5 – 55 = 21c;

∆t = 186,7c

φ = 76,5

– 38,9 = 37,6c;

∆t = 350c

φ = 76,5 –

31,5 = 45c.

Расчет транспортных задержек и сдвигов для направления от перекрестка 3 к перекрестку 2.

Интенсивность пачки на перегоне:

NS = NS1 + N23 + N32;

NS = 0,55 + 0,03 + 0,06 = 0,64 ед/с.

Временной размер пачки автомобилей на выходе с перекрестка 3:

τ = 0,64 55 = 23,4с.

1,5