Материал: 3995

Внимание! Если размещение файла нарушает Ваши авторские права, то обязательно сообщите нам

11

Опыт 2. Определение показателя условной вязкости полимера

Показателем условной вязкости называют время истечения определенного объема смолы через калибровочное сопло стандартной воронки прибора. Для этой цели используют вискозиметры ВЗ-1, ВЗ-4, выпускаемые по ГОСТ 9070-75. Диаметр сопла вискозиметра ВЗ-1 – 5,4 мм, вискозиметра ВЗ-4

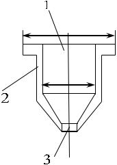
– 4,4 мм. Форма воронки вискозиметра ВЗ-4 приведена на рис. 2.

Порядок проведения эксперимента

Приготовить несколько растворов полимеров разной степени разбавления и для каждого раствора определить показатель условной вязкости, пользуясь вискозиметром. Для этого, устанавливают вискозиметр ВЗ-4 в горизонтальном положении. Под сопло ставят мерный цилиндр емкостью 100 мл. Отверстие сопла закрывают палочкой. В вискозиметр с избытком наливают смолу так, чтобы образовался выпуклый мениск над верхним ее краем. Избыток смолы и образовавшиеся пузырьки воздуха удаляют стеклянной палочкой, сдвигая их по верхнему краю вискозиметра в горизонтальном направлении, затем закрывают отверстие сопла и одновременно с появлением смолы включают секундомер. Когда смола в мензурке достигнет точно уровня метки 100 мл, секундомер останавливают и отсчитывают время истечения с погрешностью не более 0,2 с. Определение повторяют три раза.

85

50

Рис.2. Форма воронки вискозиметра ВЗ-4:

1 – резервуар; 2 – желобок кольцевой; 3 – сопло

За величину условной вязкости X, определенной по ВЗ-1 или ВЗ-4, принимают среднее арифметическое трех параллельных определений и вычисляют по формуле

12

 

X = t K,

(3)

где t – среднее арифметическое значение времени истечения смолы, с; К – поправочный коэффициент вискозиметра, указанный в паспорте прибора (К=0,8 с-1). Полученные данные заносят в табл. 3.

 

 

 

Таблица 3

 

Условная вязкость полимеров разной степени разбавления

 

 

 

 

 

Номер

Степень разбавления

Время истечения

Условная вязкость

 

варианта

полимера, ω, %

t, с

полимера, X

 

 

 

 

 

 

1

 

 

 

 

 

 

 

 

 

2

 

 

 

 

 

 

 

 

 

3

 

 

 

 

 

 

 

 

 

Полученные результаты представьте в виде графика зависимости X от ω(%) и сделайте вывод о характере зависимости условной вязкости полимера от степени его разбавления.

Вопросы для самоконтроля и повторения

1.Какие вещества называются полимерами?

2.Что называется степенью полимеризации, элементарным звеном полимера? Как они связаны с молекулярной массой полимера?

3.Охарактеризуйте основные методы получения полимеров.

4.Охарактеризуйте основные материалы, получаемые на основе полимеров, и области их использования.

Лабораторная работа № 2

ОПРЕДЕЛЕНИЕ УКРЫВИСТОСТИ ЛАКОКРАСОЧНЫХ МАТЕРИАЛОВ

Цель работы:

1.Изучить состав и виды ЛКМ;

2.Ознакомиться с методом определения укрывистости ЛКМ;

3.Выявить зависимость укрывистости ЛКМ от типа вводимого пигмента.

Теоретическая часть

Лакокрасочные материалы (ЛКМ) представляют собой многокомпонентные составы, способные при нанесении тонким слоем на поверхность изделий высыхать с образованием пленки, удерживаемой силами

13

адгезии (от лат. adhesion - прилипание). К ним относят: лаки, эмали, краски, грунтовки, шпатлевки, а также олифы, сиккативы, растворители и разбавители. Кроме этого существует целый ряд вспомогательных ЛКМ, таких как пасты, смывки, клеи, крепители, компаунды, мастики, составы, отвердители и ускорители.

Основой ЛКМ являются пленкообразующие вещества (пленкообразователи) как правило, полимерной природы. Кроме пленкообразователей в состав ЛКМ входят пигменты, наполнители, пластификаторы, растворители и сиккативы, а также добавки вспомогательных веществ (стабилизаторы, диспергаторы и др.).

ЛКМ выполняют защитную, декоративную, либо защитно-декоративную функции, а иногда и специальные функции. Свойства ЛКМ определяются их компонентами, а также требованиями и назначением применяемого материала. Основными свойствами ЛКМ и одновременно требованиями к ним являются высокая адгезия к материалу подложки, химическая стойкость к растворителям и окружающей среде, коррозионная неактивность, нетоксичность, и некоторые другие.

Важным свойством ЛКМ в виде эмалей и красок является значение укрывистости, которое определяет расход материала.

Под укрывистостью понимают способность лакокрасочного материала при равномерном нанесении на одноцветную поверхность делать невидимым цвет последней или при нанесении на черно-белую подложку уменьшать контрастность между черной и белой поверхностями до исчезновения разности между ними.

В соответствии с ГОСТ 8784-75 укрывистость определяется визуально с применением черно-белой шахматной доски; инструментальным методом, по коэффициенту контрастности; инструментально-математическим методом на черно-белой подложке. Сущность метода заключается в нанесении слоев лакокрасочного материала на стеклянную пластинку до прекращения просвечивания черных и белых квадратов шахматной доски, подложенной под стеклянную пластинку. Метод предназначается для определения укрывистости эмалей и красок в высушенных и невысушенных покрытиях, а также пигментов в невысушенных покрытиях.

14

В данной лабораторной работе использован визуальный метод определения укрывистости с применением черно-белой шахматной доски.

Реактивы и оборудование

1.Пластинки стеклянные размером 90х120 мм или 180х225 мм толщиной 1,2-1,8 мм.

2.Пульверизатор, кисть, аппликатор или другое оборудование, позволяющее наносить на стеклянные пластинки слои лакокрасочного материала толщиной не более 20 мкм.

3.Доска шахматная, изготовленная на белой чертежной бумаге размером 90х120 мм согласно указаниям рис.3 (12 квадратов с размером 30х30 мм (45х45 мм).

Рис. 3. Чертеж шахматной доски, используемой для определения укрывистости ЛКМ

Экспериментальная часть

Для определения укрывистости лакокрасочный материал разбавляют до рабочей вязкости. Пигменты предварительно растирают с натуральной олифой (ГОСТ 7931-76), затем пигментную пасту разбавляют олифой до получения готовой к применению краски. Вид и количество пигмента студенту определяет преподаватель.

На стеклянную пластинку, взвешенную с точностью 0,0002 г, наносят один или два слоя лакокрасочного материала. Под стеклянную пластинку с нанесенными слоями лакокрасочного материала подкладывают шахматную доску и при рассеянном отраженном свете наблюдают: просвечивают черные или белые квадраты шахматной доски. Если квадраты просвечивают, то наносят слои до тех пор, пока разница между черными и белыми квадратами подложенной шахматной доски окончательно не исчезнет. После полного укрытия окрашенную стеклянную пластинку взвешивают с погрешностью не более 0,002 г. Перед взвешиванием необходимо удалять подтеки ЛКМ с обратной стороны и с ребер пластинки. Каждый раз перед нанесением нового слоя ЛКМ перемешивается. Пластинки размером 180х240 мм взвешивают с точностью не более 0,01 г.

15

Укрывистость пленки (Д) в г/м2 вычисляют по формуле

(m1- mo)

 

Д = --------- х 106

 

S

(4)

 

где mo – масса неокрашенной стеклянной пластинки, г; m1 – масса пластинки с лакокрасочной пленкой, г; S – площадь стеклянной пластинки, мм2.

За результат испытания принимают среднее арифметическое трех параллельных определений, допускаемые расхождения между которыми не должны превышать 5%. Полученные результаты заносят в таблицу 4.

Таблица 4 Значения укрывистости ЛКМ при введении различных пигментов

Вид ЛКМ

Пигмент

Д, г/м2

 

 

 

 

1

 

 

 

 

 

 

 

2

 

 

 

 

 

 

 

3

 

 

 

 

 

 

 

Проанализируйте влияние цвета и количества пигмента на величину укрывистости исследуемого ЛКМ. О чем говорит стандартный индекс исследуемого ЛКМ? Сделайте вывод.

Вопросы для самоконтроля и повторения

1.Дайте определение ЛКМ.

2.Каков состав и виды ЛКМ?

3.Каковы основные функции ЛКМ?

Лабораторная работа № 3

ПОВЕРХНОСТНЫЕ ЯВЛЕНИЯ. КРАЕВОЙ УГОЛ СМАЧИВАНИЯ

Цель работы:

1.Знакомство с теорией поверхностных явлений;

2.Экспериментальное определение и расчет краевого угла смачивания различных адгезивов на поверхности подложек.

Теоретическая часть

Процессы нанесения и формирования лакокрасочных и неорганических покрытий, склеивания материалов, получение материалов на основе связующих и наполнителей (бетон, резина, стеклопластики и др.), сварка и паяние