Материал: 3995

Внимание! Если размещение файла нарушает Ваши авторские права, то обязательно сообщите нам

36

Рис.8. Схема коррозии металла в кислом растворе при нарушении металлических покрытий: а - катодного, б - анодного;

1– раствор, 2 – покрытие, 3 – основной металл, 4 – дефект в покрытии

Анодное покрытие, даже при его повреждении, продолжает защищать металл изделия (рис. 8б).

Гальванические покрытия

Гальванические покрытия – это покрытия изделий из металлических и неметаллических материалов, получаемые в процессе электролитического осаждения металла на их поверхности, т.е. электролиза. Хромирование и никелирование фурнитуры в мебельной промышленности, в лесном и автомобильном хозяйствах, в лесоинженерном деле проводят с помощью электролиза, получая противокоррозионные гальванические покрытия для защиты оборудования, механизмов и транспорта от коррозионных разрушений.

Электролиз представляет собой процесс раздельного окисления и восстановления на электродах, протекающий под действием постоянного электрического тока. Электролитические процессы осуществляются в электролизерах или электролитических ваннах. Изделие, на которое необходимо нанести слой защитного металлического покрытия подключают к катоду, а анодом является графитовый электрод или электрод из того, металла, который служит покрытием. Катодная и анодная пластины помещаются в соответствующий раствор электролита, содержащий ионы металла, служащего защитным покрытием.

Например, при нанесении цинкового покрытия на изделие из стали, протекают следующие процессы по схеме:

37

Диссоциации электролита ZnSO4 Zn2+ + SO42– Миграция катионов (Zn2+) к катоду, а анионов (SO42–) к аноду

КАТОД (-):

АНОД графитовый (+):

Zn2+

SO42–

на катоде - реакция восстановления

на аноде – реакция окисления воды

2 Zn2+ + 2e = Zn0

2H2O – 4e = O2 + 4H+

металл (Zn)осаждается на поверхности электрода

Суммарный процесс электролиза выражается следующим уравнением:

электролиз

ZnSO4 2H2O Zn0 O2 2H2 SO4 .

Законы М. Фарадея, установленные в 1833 г. позволяют рассчитывать массу осаждаемого металла, время электролиза и необходимую силу.

I закон Фарадея

Масса выделяющегося на электроде вещества пропорциональна количеству электричества, протекающего через электролизер.

m K I t = K Q

(14)

где m – масса вещества на электроде, г; I - сила тока, А; t

– время протекания

тока через электролизер, с; Q = I t – количество электричества; K – электрохимический эквивалент, равный отношению химического эквивалента к числу Фарадея (F 96500 Кл/моль).

II закон Фарадея

Для выделения на электроде 1 моль любого вещества необходимо затратить одно и то же количество электричества, равное F=96500 Кл/моль – постоянная Фарадея.

Обобщенный вид первого и второго законов Фарадея выглядит так:

m

Э

I t

(15)

F

 

 

 

Определение толщины покрытия

Толщина гальванопокрытия во многих случаях является решающим признаком качества покрытия, технические и экономические требования к которому установлены ГОСТ 9.302-88. Следует учитывать, что толщина покрытия на изделиях, особенно профилированных, неодинакова в различных точках поверхности, поэтому необходимо измерение не только средней толщины покрытия, но и минимальной толщины на определенных участках детали.

Методы контроля толщины покрытий по степени воздействия на объект подразделяют на две группы: разрушающие и неразрушающие.

38

Разрушающие методы контроля толщины покрытий приводят к разрушению целостности не только покрытия, но и самого изделия. Они делятся на химические и физические. К химическим методам относят метод стравливания, методы капли и струи, кулонометрический метод.

Метод стравливания является наиболее простым и удобным, и позволяет определять среднюю толщину нанесенного покрытия по изменению массы при растворении покрытия в травильном электролите, который не действует на металл основы.

В методе капли травильный раствор (HCl, H2SO4) наносят по каплям на поверхность покрытия из капельницы с внутренним диаметром капилляра 1,5- 2,0 мм и выдерживают в течение определенных промежутков времени до полного растворения покрытия. Метод капли позволяет определять локальную толщину покрытия на любом участке поверхности изделия, однако имеет высокую относительную погрешность до 30 %.

Методы струи определяют толщину однослойных и многослойных покрытий на поверхности, площадью не менее 0,3 мкм. Методы основаны на растворении покрытия под действие струи электролита, вытекающей с определенной скоростью.

Металлографический метод основан на измерении толщины однослойных и многослойных покрытий на поперечном шлифе с помощью металлографического микроскопа при увеличениях до 1000 раз для покрытий толщиной менее 20 мкм и до 200 раз для покрытий толщиной более 20 мкм. Разновидностью металлографического метода является оптический, основанный на измерении при помощи металлографического микроскопа длины уступа, образованного краем покрытия с основным металлом. Метод применим для измерения покрытий толщиной 1-40 мкм с коэффициентом отражения не менее 0,3. Погрешность метода 10 %.

Из неразрушающих методов контроля наибольшее распространение получили электромагнитные методы, метод измерения масс, метод прямого измерения.

Электромагнитные методы основаны на изменении силы отрыва постоянного магнита от контролируемой поверхности в зависимости от толщины покрытия (магнитоотрывной); регистрации изменений напряжённости магнитного поля в цепи электромагнита постоянного тока в

39

зависимости от толщины покрытия (магнитостатический); определении магнитного сопротивления участка цепи соответствующего изменению толщины покрытия (магнитоиндукционный).

Метод прямого измерения заключается в измерении размеров детали до и после нанесения покрытия с помощью микрометра или оптиметра.

Гравиметрический метод предусматривает непосредственное взвешивание и измерение покрываемой поверхности образца или изделия до и после электроосаждения. Средняя толщина покрытия представляет собой отношение объема нанесенного покрытия к площади поверхности покрытого изделия. Изза трудностей измерения площади поверхности покрываемых изделий гравиметрический метод применяют для определения средней толщины гальванопокрытия на небольших деталях простого профиля.

Реактивы и оборудование

1.Электролизер.

2.Металлические электроды (медные, цинковые пластины).

3.Внешний источник тока.

4.Потенциометр или амперметр.

5.Соединительные проводники.

6.Набор растворов электролитов.

7.Аналитические весы.

Экспериментальная часть

Порядок выполнения работы

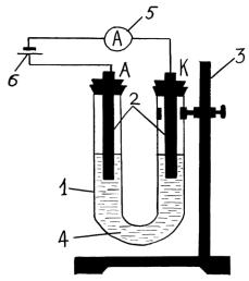
В данной работе для получения медного гальванического покрытия используется установка, представленная на рис. 9. Перед сбором установки необходимо определить массу катодной пластины, m1, и ее площадь, S, записать в таблицу 14. Для этого, катодную пластину отсоединяют и взвешивают на аналитических весах. Площадь катодной пластины определяют геометрически. Затем собирают установку для чего в электролизер наливают раствор соли меди (CuSO4) с концентрацией 0,1 моль/л объемом 300-400 мл. В раствор помещают исследуемые металлические пластины, таким образом, чтобы они были максимально покрыты раствором электролита. Одна из пластин служит катодом (К) и будет покрыта металлом, ионы которого присутствуют в растворе, а также тем металлом, из которого сделана анодная пластина (А). Электроды необходимо соединить проводниками с источником

40

постоянного тока, последовательно соединив с амперметром. Составленную схему установки необходимо показать преподавателю или лаборанту.

Рис. 9. Схема установки для электролитического нанесения покрытий:

1 - электролизер;

2 - электроды (металлические пластины);

3 - штатив;

4 - раствор электролита;

5 - амперметр;

6 - внешний источник тока

Силу тока и время проведения электролиза определяет преподаватель, так чтобы время электролиза составило не менее 30 мин. После этого, включают источника тока и засекают время электролиза. В течение времени осуществления электролиза студенты наблюдают за явлениями, происходящими на электродах, и записывают уравнения электрохимических процессов на электродах. После этого, проводят расчет теоретических значений массы, m3, и толщины покрытия, пользуясь законом Фарадея и уравнением 15. Результаты расчетов записывают в таблицу 14.

Таблица 14 Результаты определения толщины гальванического покрытия

гравиметрическим методом

Материал катодной пластины

Состав раствора для нанесения покрытия

Сила тока, А

Время электролиза, мин

Масса катодной пластины, г

Толщина покрытия, см

Погрешность, %

 

 

 

 

 

Без

Эксперим.,

Теоретич.,

 

 

покрытия,

после

по закону

 

 

m1

нанесения

Фарадея,

Эксперим.

Теоретич.

 

покрытия,

m3

 

 

 

 

m2

 

 

 

 

 

 

 

 

 

 

 

 

 

 

 

 

 

 

 

 

 

 

 

 

 

 

 

 

 

 

 

 

 

 

 

 

 

 

 

 

 

 

 

По истечении времени электролиза источник тока отключают, катодную пластину извлекают, промывают дистиллированной водой, аккуратно высушивают фильтровальной бумагой и оставляют на 5 мин. до полного