|
|
|
|
|
|
|
|
|
|
|
|
|
|
|
|
|
|
|
|
|
Таблица 1 |
||
|
|
|
|
|
|
|
|
|
|
|
|
|
|
|
|
|
|
|
|
|
|
|
|
|
|
Показатели качества |
|
|
Параметры объекта |
|
|
|
|
Параметры |
|
|
Изм |
|
|||||||||
|
|
|
|
|
|
|
|
|
|
|
|
|
|
|
|
|
|
измерителей |
|
|
енен |
|
|
№ |
Оши |
Вре |
Пок |
Ради |
Инд |
Соп |
Коэ |
Инд |
Соп |
Мом |
Постоянн |
Коэ |
|
|
|
|
ие |
|
|||||
ые |
|
|
|
|
мом |
|
|||||||||||||||||
бка |
мя |
азат |
ус |
укти |
роти |
ф. |
укти |
роти |
ент |
ф. |
|
|
|
|
|
||||||||
|
|
|
|
|
|
||||||||||||||||||
|
двигателя |
|
|
|
|
ента |
|
||||||||||||||||
ва |
регу |
регу |
ель |
усто |
вн. |
вл. |
меж |
вн. |
влен |
инер |
пере |
|
|
|
|
|
|||||||
|
|
|
|
|
|
сопр |
|
||||||||||||||||
лиро |
лиро |
коле |
йчив |
О.В. |
О.В. |
ду |
якор |
якор |
ц. на |
|
|
дач |
|
|
|
|
|
||||||
р |
|
|
|
|
|
|
|
||||||||||||||||
|
|
|
|
|
|
отив |
|
||||||||||||||||
вани |
вани |
бате |
ости |
гене |
гене |
э.д.с |
я |
я |
валу |
|
|
и |
|
|
|
|
|
||||||
иа |
|
|
|
|
|
|
|
||||||||||||||||
|
|
|
|
|
|
лен. |
|
||||||||||||||||
|
я |
я. |
льно |
|
рато |
рато |
. |
двиг |
двиг |
дви |
|
|
тахо |
|
|
|
|
|
|||||
нт |
|
|
|
|
|
|
|
|
|
||||||||||||||
|
|
|
|
|
|
|
|
нагр |
|
||||||||||||||
|
|
|
|
сти |
|
ра |
ра |
гене |
ател |
ател |
гате |
|
|
гене |
|
|
|
|
|
||||
а |
|
|
|
|
|
|
|
R1 |
R2 |
RТ |
|
|
|||||||||||
ω* |
|
|
се |
см |
|
. |
|
||||||||||||||||
|
|
|
R* |
|
|
р. и |
я |
я |
ля |
|
рат. |
|
|
|
|
|
|||||||
|
|
|
|
|
|
кОм |
кОм |
Ом |
|
|
|||||||||||||
|
|
рад |
t p* |
М * |
|
Lв |
Rв |
ток. |
|
|
|
Jд |
|
в сек |
нм/а |
kтг |
|
|
|
|
Мс |
|
|
|
|
сек |
|
сек |
|
|
г н |
Ом |
О.В. |
Lя |
R |
я |
н м |
|
|
в сек |
|
|
|
|
н м |
|
|
|
|
|
|
|
|
Г. |
|
|
сек |
2 |
|
|
|
|
|
|
|
|
|||||
|
|
|
|
|
|
|
|
|
г н |
Ом |
|
|
|
|
|
|
|
|
|
||||
|
|
|
|
|
|
|
|
|
|
|
|
|
|
|
|
|
|
|
|||||
|
|
|
|
|
|
|
|
|
mг |
|
|
|
|
|
|
|
|
|
|
||||
|
|
|
|
|
|
|
|
|
|
|
|
|
|
|
|
|
|
|
|
|
|
|
|
|
|
|
|
|
|
|
|
|
в / а |
|
|
|
|
|
|
|
|
|
|
|
|
|
|
1 |
0.7 |
|
2.0 |
1.2 |
- |
7.5 |
75.0 |
78.0 |
0.6 |
2.0 |
0.02 |
0.35 |
0.21 |
0.3 |
5.1 |
2.5 |
- |
|
1.2 |
|
|||
|
|
|
|
|
|
|
|
|
|
|
|
|
2 |
|
|
|
|
|
|
|
|
|
|
2 |
0.5 |
|
2.0 |
- |
0.8 |
10.5 |
87.5 |
90.0 |
2.0 |
2.5 |
0.02 |
0.31 |
0.2 |
0.2 |
6.2 |
3.8 |
- |
|
0.6 |
|
|||
3 |
0.6 |
|
1.5 |
1.3 |
- |
9.5 |
106. |
100. |
0.36 |
1.6 |
0.02 |
0.7 |
0.19 |
0.4 |
2.5 |
1.0 |
- |
|
1.2 |
|
|||
|
|
|
|
|
|
|
|
7 |
0 |
|
|
|
1 |
|
|
|
|
|
|
|
|
|
|
4 |
0.4 |
|
1.5 |
- |
0.75 |
6.8 |
97.0 |
100. |
0.9 |
1.9 |
0.03 |
0.42 |
0.25 |
0.2 |
8.4 |
4.2 |
- |
|
1.1 |
|
|||
|
|
|
|
|
|
|
|
|
0 |
|
|
|
3 |
|
|
|
|
|
|
|
|
|
|
5 |
0.5 |
|
2.0 |
1.4 |
- |
16.8 |
140. |
120. |
1.4 |
2.4 |
0.01 |
0.31 |
0.18 |
0.3 |
5.6 |
2.7 |
- |
|
0.5 |
|
|||
|
|
|
|
|
|
|
|
0 |
0 |
|
|
|
6 |
|
|
|
|
|
|
|
|
|
|
6
6 |
0.7 |
2.0 |
- |
0.78 |
9.8 |
98.0 |
110. |
0.98 |
2.8 |
0.01 |
0.25 |
0.25 |
0.3 |
1.6 |
2.5 |
- |
0.62 |
|
|
|
|
|
|
|
0 |
|
|
5 |
|
|
|
|
|
|
|
7 |
0.4 |
1.0 |
1.28 |
- |
8.2 |
102. |
105. |
0.8 |
2.0 |
0.01 |
0.28 |
0.15 |
0.35 |
6.4 |
6.4 |
- |
0.4 |
|
|
|
|
|
|
5 |
0 |
|
|
|
|
|
|
|
|
|
|
8 |
0.5 |
2.0 |
- |
0.82 |
7.3 |
81.2 |
98.0 |
0.73 |
2.5 |
0.02 |
0.41 |
0.21 |
0.41 |
5.6 |
4.7 |
- |
0.85 |
9 |
0.3 |
2.5 |
1.3 |
- |
8.7 |
87.0 |
95.0 |
1.6 |
2.1 |
0.03 |
0.38 |
0.22 |
0.31 |
2.7 |
2.7 |
- |
0.5 |
10 |
0.6 |
2.0 |
- |
0.85 |
9.8 |
98.0 |
102. |
0.42 |
1.5 |
0.01 |
0.25 |
0.13 |
0.25 |
1.8 |
1.6 |
- |
0.6 |
|
|
|
|
|
|
|
0 |
|
|
6 |
|
|
|
|
|
|
|
11 |
0.7 |
2.0 |
1.4 |
- |
12.3 |
94.6 |
107. |
0.72 |
1.8 |
0.04 |
0.35 |
0.28 |
0.2 |
5.4 |
2.4 |
- |
1.7 |
|
|
|
|
|
|
|
0 |
|
|
3 |
|
|
|
|
|
|
|
12 |
0.8 |
2.5 |
- |
0.73 |
14 |
100. |
110. |
1.5 |
1.9 |
0.02 |
0.32 |
0.15 |
0.38 |
- |
- |
1.5 |
0.8 |
|
|
|
|
|
|
7 |
0 |
|
|
|
|
|
|
|
|
|
|
13 |
0.5 |
3.0 |
1.32 |
- |
13.2 |
88.0 |
98.0 |
1.15 |
2.3 |
0.02 |
0.4 |
0.21 |
0.3 |
3.6 |
3.3 |
- |
0.85 |
|
|
|
|
|
|
|
|
|
|
9 |
|
|
|
|
|
|
|
14 |
0.5 |
2.0 |
- |
0.78 |
15 |
122. |
130. |
1.3 |
2.2 |
0.02 |
0.4 |
0.19 |
0.41 |
- |
- |
1.8 |
0.9 |
|
|
|
|
|
|
5 |
0 |
|
|
4 |
|
|
|
|
|
|
|
15 |
0.7 |
2.5 |
1.25 |
- |
12.5 |
125. |
130. |
0.84 |
2.1 |
0.01 |
0.35 |
0.15 |
0.42 |
7.4 |
5.1 |
- |
0.7 |
|
|
|
|
|
|
0 |
0 |
|
|
7 |
|
|
|
|
|
|
|
7
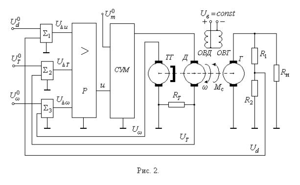
заданного напряжения стабилизации Uн0 и действительного напряжения на нагрузке Uн , измеряемого делителем R1, R2. Кроме того, на регулятор могут подаваться сигналы, пропорциональные отклонениям скорости и тока якоря приводного двигателя от заданных значений. При этом скорость двигателя изменяется тахогенератором ТГ, а ток якоря измеряется с помощью резистора RТ.
Система работает следующим образом. При номинальной нагрузке Rн0 в цепи якоря генератора протекает ток iн0 , который обеспечивает напряжение на нагрузке Uн0 iн0 Rн0 , равное заданному значению. При этом э.д.с. генератора ЕG0 iн0 (RG Rн0 ) , где RG активное сопротивление якорной цепи, обеспечивается скоростью вращения приводного двигателя ω0 , которая в свою очередь определяется напряжением U m0 , снимаемого в этом режиме с суммирующего усилителя мощности. Значения напряжений задатчиков выбраны равными по величине и противоположными по знаку соответствующим напряжениям измерителей для номинального режима, так что в этом режиме сигналы на выходах сумматоров Σk (k 1,2,3) отсутствуют, и управляющее воздействие с выхода регулятора равно нулю.
При изменении нагрузки RН изменяется ток генератора iн . Это приводит, с одной стороны, к изменению падения напряжения на внутреннем сопротивлении генератора, а с другой, к изменению э.д.с. генератора ЕG .
8
|
|
|
|
|
|
|
|
|
|
|
|
|
|
|
|
|
|
|
|
|
Таблица 2 |
|
|
|
|
|
|
|
|
|
|
|
|
|
|
|
|
|
|
|
|
|
|
|
|
|
Показатели качества |
|
|
Параметры объекта |
|
|
|
|
Параметры |
|
Режим |
Изм |
||||||||||
|
|
|
|
|
|
|
|
стабилиза |
||||||||||||||
|
|
|
|
|
|
|
|
|
|
|
|
|
|
измерителей |
|
ене |
||||||
|
|
|
|
|
|
|
|
|
|
|
|
|
|
|
ции |
|||||||
|
|
|
|
|
|
|
|
|
|
|
|
|
|
|
|
|
|
|
|
ние |
||
№ |
|
|
|
|
|
|
|
Постоянны |
|
|
|
|
|
|
|
|
|
|
|
|||
Ош |
Вре |
Пок |
Рад |
Соп |
Инд |
Мо |
Инд |
Соп |
|
|
|
|
Коэ |
|
|
|
|
соп |
||||
|
е двигателя |
|
|
|
|
|
|
|
|
|||||||||||||
|
ибк |
мя |
азат |
иус |
роти |
укти |
мен |
укти |
роти |
|
|
|
|
ф. |
|
|
|
|
рот |
|||
в |
|
и |
|
|
|
|
|
|
|
|
||||||||||||
а |
регу |
ель |
усто |
влен |
вн. |
т |
|
вн. |
влен |
|
|
|
|
пер |
|
|
|
|
ивл |
|||
а |
генератора |
|
|
|
|
|
|
|
|
|||||||||||||
регу |
лир |
коле |
йчи |
ие |
якор |
инер |
якор |
. |
|
|
|
|
еда |
|
|
|
|
ени |
||||
р |
|
|
|
|
|
|
|
|
|
|
|
|||||||||||
лир |
ован |
бате |
вост |
якор |
я |
ц. на |
|
|
|
я |
якор |
|
|
|
|
чи |
|
|
|
|
я |
|
и |
|
|
|
|
|
|
|
|
|
|
|
|||||||||||
ован |
ия |
льн |
и |
я |
двиг |
валу |
|
|
|
гене |
я |
|
|
|
|
тах |
|
|
|
|
наг |
|
а |
|
|
|
|
|
|
|
|
|
|
|
|||||||||||
ия |
|
ости |
|
двиг |
ател |
дв. |
|
|
|
рато |
гене |
R |
|
R |
2 |
оге |
|
R |
U 0 |
R0 |
руз |
|
н |
|
|
|
R* |
|
|
|
се |
|
см |
|
|
1 |
|
|
|
|
Т |
вых |
н |
ки |
|
|
|
|
ател |
я |
|
|
ра |
рато |
кОм |
|
кОм |
нер |
|
Ом |
в |
Ом |
||||||
та |
u* |
t*p |
М* |
|
|
|
|
|||||||||||||||
|
я |
|
Jд |
в сек |
|
нм/а |
|
ра |
|
|
|
|
ат. |
|
|
|
|
R |
||||
|
|
|
|
|
|
|
|
|
|
|
|
|
||||||||||
|
в |
|
|
|
Rя |
Lя |
н м |
|
|
|
Lг |
Rг |
|
|
|
|
kтг |
|
|
|
|
н |
|
сек |
|
|
|
|
|
|
|
|
|
|
|
|
|
Ом |
|||||||
|
|
|
|
|
Ом |
гн |
сек 2 |
|
|
|
г н |
Ом |
|
|
|
|
в сек |
|
|
|
|
|
|
|
|
|
|
|
|
|
|
|
|
|
|
|
|
|
|
|
|||||
|
|
|
|
|
|
|
|
|
|
|
|
|
|
|
|
|
|
|
|
|
|
|
1 |
0.4 |
2.5 |
1.2 |
- |
4.5 |
1.0 |
0.01 |
0.28 |
|
0.21 |
2.0 |
5.0 |
6.4 |
|
5.1 |
0.4 |
|
- |
100 |
10 |
5 |
|
|
|
|
|
|
|
|
05 |
|
|
|
|
|
|
|
|
|
|
|
|
|
|
|
2 |
0.5 |
3.0 |
1.15 |
- |
2.2 |
2.0 |
0.02 |
0.35 |
|
0.31 |
3.2 |
4.0 |
8.1 |
|
5.1 |
- |
|
2.7 |
120 |
10 |
6 |
|
|
|
|
|
|
|
|
2 |
|
|
|
|
|
|
|
|
|
|
|
|
|
|
|
3 |
0.6 |
2.5 |
- |
0.8 |
5.1 |
1.5 |
0.02 |
0.51 |
|
0.42 |
3.0 |
6.0 |
20 |
|
10 |
0.2 |
|
- |
150 |
12 |
7 |
|
|
|
|
|
|
|
|
95 |
|
|
|
|
|
|
|
|
|
|
|
|
|
|
|
4 |
0.4 |
4.0 |
- |
0.85 |
2.8 |
2.5 |
0.03 |
0.42 |
|
0.32 |
4.0 |
4.5 |
16 |
|
16 |
- |
|
2.1 |
100 |
12 |
7 |
|
|
|
|
|
|
|
|
3 |
|
|
|
|
|
|
|
|
|
|
|
|
|
|
|
5 |
0.5 |
2.0 |
1.25 |
- |
4.8 |
1.0 |
0.01 |
0.48 |
|
0.35 |
2.0 |
4.8 |
16 |
|
10 |
0.3 |
|
- |
120 |
10 |
5 |
|
|
|
|
|
|
|
|
75 |
|
|
|
|
|
|
|
|
|
|
|
|
|
|
|
9
6 |
0.5 |
2.5 |
- |
0.9 |
5.0 |
1.5 |
0.03 |
0.61 |
0.38 |
2.0 |
8.5 |
16 |
8.2 |
0.2 |
- |
150 |
20 |
10 |
|
|
|
|
|
|
|
7 |
|
|
|
|
|
|
|
|
|
|
|
7 |
0.3 |
1.5 |
1.3 |
- |
3.5 |
0.8 |
0.00 |
0.25 |
0.21 |
1.2 |
4.3 |
3.9 |
7.5 |
- |
1.5 |
90 |
8 |
4 |
|
|
|
|
|
|
|
53 |
|
|
|
|
|
|
|
|
|
|
|
8 |
0.2 |
1.5 |
- |
0.75 |
2.5 |
0.9 |
0.00 |
0.27 |
0.25 |
1.8 |
5.2 |
5.1 |
10 |
- |
2.0 |
60 |
10 |
6 |
|
|
|
|
|
|
|
9 |
|
|
|
|
|
|
|
|
|
|
|
9 |
0.3 |
2.0 |
- |
0.8 |
4.3 |
1.0 |
0.01 |
0.31 |
0.21 |
2.0 |
4.1 |
5.1 |
5.6 |
0.3 |
- |
80 |
9 |
5 |
|
|
|
|
|
|
|
2 |
|
|
|
|
|
|
|
|
|
|
|
1 |
0.4 |
1.5 |
1.35 |
- |
3.0 |
1.2 |
0.01 |
0.41 |
0.35 |
1.5 |
5.1 |
10 |
4.7 |
- |
2.2 |
100 |
12 |
7 |
0 |
|
|
|
|
|
|
38 |
|
|
|
|
|
|
|
|
|
|
|
1 |
0.4 |
1.5 |
- |
0.85 |
3.8 |
0.8 |
0.02 |
0.45 |
0.31 |
1.4 |
3.5 |
20 |
10 |
0.2 |
- |
110 |
11 |
6 |
1 |
|
|
|
|
|
|
2 |
|
|
|
|
|
|
|
|
|
|
|
1 |
0.5 |
2.0 |
1.2 |
- |
3.2 |
2.0 |
0.03 |
0.51 |
0.41 |
3.0 |
5.0 |
10 |
5.1 |
- |
2.2 |
120 |
10 |
5 |
2 |
|
|
|
|
|
|
87 |
|
|
|
|
|
|
|
|
|
|
|
1 |
0.5 |
3.0 |
1.3 |
- |
5.5 |
1.8 |
0.03 |
0.48 |
0.35 |
4.0 |
6.5 |
16 |
8.2 |
0.4 |
- |
130 |
15 |
8 |
3 |
|
|
|
|
|
|
05 |
|
|
|
|
|
|
|
|
|
|
|
1 |
0.6 |
2.5 |
- |
0.9 |
6.0 |
2.4 |
0.04 |
0.52 |
0.42 |
4.0 |
6.1 |
10 |
6.4 |
0.3 |
- |
120 |
12 |
7 |
4 |
|
|
|
|
|
|
37 |
|
|
|
|
|
|
|
|
|
|
|
1 |
0.4 |
2.0 |
1.25 |
- |
2.0 |
1.5 |
0.03 |
0.48 |
0.41 |
3.0 |
4.8 |
10 |
5.1 |
- |
3.0 |
110 |
10 |
5 |
5 |
|
|
|
|
|
|
54 |
|
|
|
|
|
|
|
|
|
|
|
10