-прочие виды модернизации: модернизация прототипа с целью повышения безопасности выполняемых с помощью его работ, модернизация с целью удешевления работ, модернизация с целью улучшения эстетики, прочностная модернизация и т.д.;
-комплексная модернизация (охватывает все или некоторые из вышеперечисленных видов модернизаций).
Далее приводится описание варианта нового изделия с изложением сути и задач разработки, приведением рисунков, поясняющих в общих чертах конструкцию изделия.
Объем подраздела в пояснительной записке зависит от полноты проведенного АСК, но не должен превышать 5-ти листов.
4.2.3 Техническое обоснование выбранного варианта изделия
В общем случае техническое обоснование может быть выполнено следующими шагами:
-построение общей и (или) функциональной схем изделия;
-обоснование (расчет) технических параметров изделия.
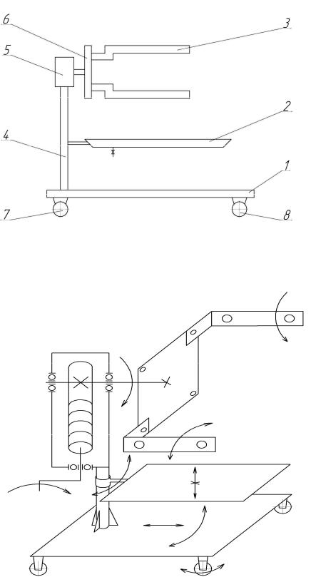
4.2.3.1 Построение общей и (или) функциональной схем изделия Общая схема необходима для уточнения состава изделия после конкретизации его функций и выбора прототипа. При этом она должна отображать все изменения, которые претерпевает прототип на пути своего превращения в будущую модель разрабатываемого изделия. Разрабатываемая в упрощенном виде общая схема изделия в графическом виде отображает состав изделия, месторасположение его составных частей и связи между ними. Схема выполняется в произвольной форме в виде технического рисунка, дополняемого поясняющими надписями и перечислением составных частей изделия [18]. Пример выполнения общей схемы для разрабатываемого стенда для ремонта
двигателей приведен на рисунке 1.
В курсовом проекте допускается использовать в качестве общей схемы рисунки прототипов изделия из справочников, каталогов и других источников информации, внося в них соответствующие изменения.
Функциональная схема поясняет основы принципа работы изделия и представляет собой дальнейшее развитие общей схемы изделия. Также как и общая схема, функциональная схема может выполняться в виде технического рисунка в произвольной форме при условии корректного и адекватного отображения в ней принципа и схемы работы
20
изделия. Пример такого построения функциональной схемы для
стенда для ремонта двигателей приведен на рисунке 2.
1 – тележка; 2 – поддон; 3 – кронштейн; 4 – рама; 5 – устройство поворотное; 6 – план - шайба; 7 – колесо; 8 – колесо поворотное.
Рисунок 1 – Общая схема стенда для ремонта ДВС
Рисунок 2 – Функциональная (кинематическая) схема стенда для ремонта ДВС
21
Однако более правильно выполнять и представлять в качестве функциональной схемы изделия одну или несколько схем, выполненных по требованиям ГОСТов ЕСКД. Речь идет о кинематических, пневматических, гидравлических, электрических и прочих видах схем, которые по типу должны быть функциональными (тип 2), принципиальными (тип 3) или общими (тип 6). Какие именно схемы целесообразно разработать зависит от сложности конструкции изделия и поставленных задач по ее разработке. Выполнение таких схем более трудоемко, однако способствует лучшей проработке принципа и схемы работы изделия. Выполненная таким образом схема – конструкторский документ, подшивается в приложения пояснительной записки курсового проекта, а по тексту подраздела на нее делается соответствующая ссылка. Перечень ГОСТов ЕСКД, которые определяют порядок и правила оформления схем, приведен в списке использованных источников настоящих методических указаний [18, 19, 20, 21].
4.2.3.2 Обоснование (расчет) технических параметров изделия После построения общейи функциональной схем изделия, когда
определен его состав и принцип работы, целесообразно, в общем случае, определить основные технические параметры и размеры изделия. Это необходимо сделать для того, чтобы определить основные параметры рабочих процессов изделия, задать габариты изделия, определить размеры составных частей и их расположение относительно друг друга, установить величины перемещения (ходов) движущихся элементов, установить размеры присоединительных элементов изделия и т.д. При этом используются следующие методы:
-расчетный;
-графические построения и чертежи;
-инженерные выкладки и допущения;
-аналогии.
Параметры и размеры изделия, которые в общем случае целесообразно обосновать или рассчитать в курсовом проекте, приведены в таблице 2.
22
Таблица 2 – Технические параметры и размеры изделия, подлежащие обоснованию (расчету)
Группа па- |
Параметры |
|
Проектируемые изделия |
Методы обоснования |
|||||||||||
раметров |
|
|
|
|
|
|
|
|
|
|
|
|
|
|
|
1 |
|
|
2 |
|
|
|
|
3 |
|
|
|
4 |
|
|
|
Габарит- |
Длина, мм; ширина, |
Все изделия |
|
|
На |
основе |
габаритов |
||||||||
ные разме- |
мм; высота, мм |
|
|
|
|
|
|
прототипа; |
по разме- |
||||||
ры |
|
|
|
|
|
|
|
|
|
|
рам ОТВ; на основе |
||||
|
|
|
|
|
|
|
|
|
|
|
компоновки и |
эскиза |
|||
|
|
|
|
|
|
|
|
|
|
|
изделия |
|
|
|
|
Присоеди- |
Присоединительные |
Все |
изделия, |
элементы |
На основе чертежей и |
||||||||||
нительные |
размеры, мм |
|
|
которых |
непосредст- |
технических рисун- |
|||||||||
размеры |
|
|
|
|
венно контактируют с |
ков, |
содержащих раз- |
||||||||
|
|
|
|
|
|
ОТВ |
|
|
|
меры ОТВ |
|
|
|
||
Масса |
из- |
Масса |
изделия, |
кг; |
Все изделия |
|
|
На основе массы про- |
|||||||
делия |
|
масса |
составной |
|
|
|
|
|
тотипа; |
расчетным |
|||||
|
|
части, кг |
|
|
|
|
|
|
|
методом |
по |
сумме |
|||
|
|
|
|
|
|
|
|
|
|
|
масс составных частей |
||||
Параметры |
Давление |
(макси- |
Изделия, |
в которых ос- |
Методики |
дисципли- |
|||||||||
гидропри- |
мальное и рабочее), |
новной |
рабочий |
цикл |
ны |
«Гидравлика |
и |
||||||||
вода |
или |
мПа; расход рабочей |
совершает гидросисте- |
гидропривод» |
|
|
|||||||||
гидросис- |
жидкости, |
л/мин |
ма, |
имеется |
гидропри- |
|
|
|
|
|
|||||
темы |
|
(м3/ч); состав рабо- |
вод, например: установ- |
|
|
|
|
|
|||||||
|
|
чей жидкости; рабо- |
ка для промывки масля- |
|
|
|
|
|
|||||||
|
|
чая |
температура |
ных каналов |
блока ци- |
|
|
|
|
|
|||||
|
|
жидкости, град |
|
линдров, |
стенд для ис- |
|
|
|
|
|
|||||
|
|
|
|
|
|
пытания |
гидроаппара- |
|
|
|
|
|
|||
|
|
|
|
|
|
туры |
|
|
|
|
|
|
|
|
|
Параметры |
Давление |
(макси- |
Изделия, |
в которых ос- |
Методики |
дисципли- |
|||||||||
пневмо- |
мальное и рабочее), |
новной |
рабочий |
цикл |
ны |
«Гидравлика |
и |
||||||||
привода |
мПа; расход возду- |
совершает |
пневмоси- |
гидропривод» |
|
|
|||||||||
или пнев- |
ха, м3/ч |
|
|
стема, имеется пневмо- |
|
|
|
|
|
||||||
мосистемы |
|
|
|
|
привод, |
|
например: |
|
|
|
|
|
|||
|
|
|
|
|
|
пневмогайковерт, |
пресс |
|
|
|
|
|
|||
|
|
|
|
|
|
пневматический |
|
|
|
|
|
|
|||
Геометри- |
Длины рычагов, мм; |
Изделия, |
составные час- |
Методики |
дисциплин |
||||||||||
ческие |
па- |
ход подвижных час- |
ти |
которых |
образуют |
«Теория машин и ме- |
|||||||||
раметры |
тей, |
мм; |
высота |
кинематическую |
цепь |
ханизмов», |
«Детали |
||||||||
механиче- |
подъема, мм; пара- |
или в составе которых |
машин», |
«Техниче- |
|||||||||||
ских |
при- |
метры |
кинематиче- |
присутствует механиче- |
ская механика» |
|
|
||||||||
водов и пе- |
ских резьб, мм; ме- |
ский привод, например: |
|
|
|
|
|
||||||||
редач |
|
жосевое расстояние |
домкрат |
рычажный, |
|
|
|
|
|
||||||
|
|
передач, мм |
|
|
подъемник |
электроме- |
|
|
|
|
|
||||
|
|
|
|
|
|
ханический |
|
|
|
|
|
|
|
||
23
Продолжение таблицы 2
1 |
|
2 |
|
|
|
3 |
|
|
|
4 |
|
Прочие |
пара- |
Передаточное число; |
Изделия, |
в |
составе |
Методики |
дисциплин |
||||
метры меха- |
крутящий момент, |
которых |
присутству- |
«Детали |
машин», |
||||||
нических при- |
Н•м; мощность, кВт; |
ет |
какой |
либо вид |
«Техническая механи- |
||||||
водов и |
пере- |
усилие, Н; КПД |
механического |
при- |
ка» |
|
|||||
дач |
|
|
|
|
вод, например: |
стенд |
|
|
|||
|
|
|
|
|
для отвертывания га- |
|
|
||||
|
|
|
|
|
ек шатуна |
|
|
|
|
||
Параметры |
Тип тока; |
мощность |
Изделия, |
в |
составе |
Методики |
дисциплин |
||||
электроприво- |
электродвигателя, |
которых |
присутству- |
«Электротехника», |
|||||||
да |
|
кВт; частота враще- |
ет |
электропривод, |
«Электрооборудова- |
||||||
|
|
ния, мин-1; сила то- |
например: |
электро- |
ние» |
|
|||||
|
|
ка, А; напряжение, |
гайковерт |
|
|
|
|
||||
|
|
В; КПД; схема |
|
|
|
|
|
|
|
||
То же, с эле- |
То же; состав элек- |
Изделия, |
принцип |
Методики |
дисциплин |
||||||
ментами |
элек- |
тронных компонен- |
действия |
|
которых |
«Электротехника», |
|||||
троники |
|
тов и их характери- |
построен |
на |
работе |
«Электрооборудова- |
|||||
|
|
стики |
|
|
электронных |
|
схем, |
ние» |
|
||
|
|
|
|
|
либо в составе кото- |
|
|
||||
|
|
|
|
|
рых |
присутствует |
|
|
|||
|
|
|
|
|
электропривод с эле- |
|
|
||||
|
|
|
|
|
ментами |
электрони- |
|
|
|||
|
|
|
|
|
ки, например, уста- |
|
|
||||
|
|
|
|
|
новка очистки ЭМФ |
|
|
||||
Усилия и мо- |
Усилие запрессовки, |
Изделия, |
ОТВ |
для |
Специальные методи- |
||||||
менты |
|
Н; усилие |
сжатия |
которого |
подлежит |
ки, методики дисцип- |
|||||
|
|
пружины, Н; момент |
разборке |
(воздейст- |
лины «ОТПРА», спра- |
||||||
|
|
затяжки |
резьбового |
вию) путем создания |
вочные данные |
||||||
|
|
соединения, |
Н·м; |
какого-либо |
силово- |
|
|
||||
|
|
момент |
разборки |
го |
фактора, |
напри- |
|
|
|||
|
|
резьбового соедине- |
мер, стенд для пере- |
|
|
||||||
|
|
ния, Н·м |
|
|
прессовки |
втулок |
|
|
|||
|
|
|
|
|
распредвала, |
|
стенд |
|
|
||
|
|
|
|
|
для |
разборки полю- |
|
|
|||
|
|
|
|
|
сов стартера |
|
|
|
|
||
Целесообразность выполнения тех или иных расчетов зависит от задач и объемов проектирования. Методики расчетов должны быть известны студенту из таких общетехнических и специальных дисциплин, как «Теория машин и механизмов», «Детали машин», «Техническая механика», «Электротехника», «Электрооборудование», «Гидравлика и гидропривод», «Основы технологии производства и ремонта автомобилей» и др. Виды, объемы расчетов и методики их выпол-
24