Материал: 2464

Внимание! Если размещение файла нарушает Ваши авторские права, то обязательно сообщите нам

Длина несущих конструкций перекрытия равна расстоянию между разбивочными осями. Выбор материала и конструкций перекрытия определяется пролетом несущих стен.

Перекрытия по деревянным балкам состоят из деревянных балок и дощатых щитов межбалочного заполнения. Деревянные балки перекрывают пролет до 4,8 м, высота балки должна составлять от 1/10 до

СибАДИ1/20 перекрываемого пролета, ширина балки принимается 60–120 мм. Для оп ран я межбалочных щитов к боковым сторонам балок прибивают черепные бруски сечением 40 50 мм. Шаг балок принимают от 600 до 1500 мм, что определяет ширину щитов заполнения. Длина деревянных щ тов определяется длиной досок (до 2 м).

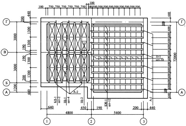
Рис. 2.10. План перекрытия по деревянным железобетонным балкам (БД – балка деревянная, БЖ – балка железобетонная, Щ – щит наката, П – плита, А – анкеры)

Перекрытия по железобетонным балкам состоят из железобе-

тонных балок таврового сечения и межбалочного заполнения в виде сплошных легкобетонных плит или пустотелых камней-вкладышей (керамических или из легкого бетона). Длина балок – от 2,4 до 6,4 м

26

(через 200 м), опирание на несущую стену – не менее 150 мм. Концы балок заанкеривают в стену. Шаг балок определяется размером межбалочного заполнения и может быть 600, 800 и 1000 мм.

Пример плана перекрытия по деревянным и железобетонным балкам представлен на рис. 2.10.

В зданиях до трех этажей перекрытия могут выполняться по де- СибАДИревянным балкам, но поскольку пролет балок ограничен, они обладают недостаточной огнестойкостью, малым сопротивлением загниванию, трудоемки в зготовлении. В практике проектирования и строительства перекрыт я выполняют из сборных железобетонных пустот-

ных панелей сер 1.141-1 (см. табл. П. 2.1).

Пл тные перекрытия выполняют из сборных железобетонных плит с круглыми пустотами толщиной 220 мм, опирающихся непосредственно на несущ е стены. Длина плит – от 2400 до 6300 мм с шагом 300 мм, ш р на – 1000, 1200, 1500, 1800 мм (см. табл. П. 2.1).

При выполнен схемы расположения плит перекрытий необходимо выполнять следующие тре ования:

минимальная длина опирания плит на стену – 120 мм;во избежание продавливания опорных зон плит вышележащей

кладкой торцы пустотных плит заполняют бетоном на глубину опирания;

плита перекрытия может заходить на кладку максимально на 70 мм по своей боковой стороне.

Жесткость горизонтальных дисков перекрытий всего здания в целом обеспечивается жесткой заделкой на растворе и с помощью анкерных креплений плит перекрытий в стены, а также их скреплением между собой за петли с помощью анкеров (арматура d=6 мм), расположенных на расстоянии, не превышающем 3 м, замоноличиванием швов между плитами, что одновременно увеличивает звукоизоляцию перекрытия.

Пример выполнения схемы расположения плит перекрытий: 1-й этап. Выполнять схему расположения плит перекрытий на-

чинают с нанесения разбивочных осей и привязки к ним наружных и внутренних стен.

2-й этап. Обозначают месторасположение лестницы. Заполняют зазор от лестничной клетки до стены здания плитами перекрытий ши-

риной 1; 1,2; 1,5; 1,8м.

27

3-й этап. На плане указывают позицию плит, марки плит перекрытий выбирают по табл. П.2.1 и вносят в таблицу спецификаций сборных железобетонных элементов прил. 1.

4-й этап. На схему расположения плит перекрытия наносят плиты балконов и лоджий, условно показывают анкеровку плит. Анкера

СибАДИсвязывают плиты перекрытий между собой с кирпичными стенами, делая конструкцию здания более жесткой.

5-й этап. Для большей наглядности все элементы настила обводят сплошной основной линией толщиной 0,8 мм, а анкеры – толщиной 1 мм. Контуры остальных элементов, в том числе стен, обводят сплошной тонкой л н ей толщиной 0,4 – 0,6 мм. Контуры стен, закрытых перекрыт ями, показывают штриховой линией толщиной 0,4 – 0,6 мм. Монол тные участки заштриховывают наклонными тонкими л н ями. Узлы к схеме расположения плит перекрытия см. в

прил. 1 (р с. 2.11).

а)

Рис. 2.11. Плита перекрытия типа 1ПК, детали опирания на стену и примыкания к ней: а плита; 1 цементный раствор; 2 бетон; 3 арматура

Проставляют размеры между координационными и крайними осями.

Примеры выполнения схемы расположения плит перекрытий даны на рис. 2.12 и в прил. 1.

28

СибАДИРис. 2.12. Примеры выполнения схем расположения плит междуэтажного перекрытия

Балкон – это открытая площадка, примыкающая с одной стороны к наружной стене, а по остальным замкнутая ограждением высотой не

менее 1 м.

Лоджия – площадка, с трех сторон окруженная стенами только с одной стороны ограждением.

Конструкцию балкона образуют горизонтальная железобетонная плита, верхняя лицевая поверхность которой должна иметь уклон (от

наружных стен) не менее 3%, ограждение, гидроизоляцию пол.

Плиту балкона проектируют как консольную или балочную с различным опиранием в зависимости от конструкции наружных стен дома. Величина ее опорной части принимается не менее 250 мм

(рис. 2.13).

Для закрепления балконной плиты в стене в опорной ее части имеются заделанные уголки из прокатной стали, которые приваривают при укладке плит к анкерам из арматурной стали.

29

С целью создания требуемого защемления балконной плиты кирпичной кладкой плита должна заходить за проем балконной двери с каждой его стороны не менее чем на 0,5 м.

СибАДИРис. 2.13. Крепление балконной плиты в стене кирпичной кладки

2.8. Лестницы

Лестницы служат для сообщения между этажами и эвакуации в случае пожара. Требования: прочность, долговечность, удобство безопасность эксплуатации. Лестницы бывают одномаршевые, двухмаршевые, трехмаршевые (реже четырехмаршевые) и винтовые (рис. 2.14). Трех- и четырехмаршевые лестницы применяются при повышенных высотах этажа.

30