2 |
|
3 |
|
|
|
|
5 |
||
|
|
|
|
|
|
|
|
|
|
С |
|
|
|
|
|
|
|
|
|
|
|
|
|
|
|
|
|
|
|
|
|
и |
|
|
|
4 |
|
|
|
|
|
|
|
|
|
|
|
|
|
|
|
||
|
|
|
|
|
||||||
|
|
|
|
|
|
|
|
|
||
|
Н |
|
1 |
|
|
|
К |
|
6 |
|
|
|
|
|
|
|
|
|
|
|
|
|
Р с. 4.37. Схема осевого компрессора |
|
|
|||||||
б |
|
|
|
|
||||||
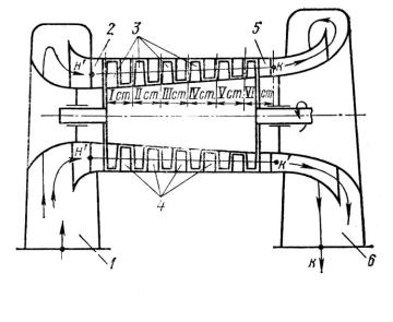
Из РК газ поступает |
в направляющий аппарат (НА) 4, в котором |
|||||||||
изменяется направлен е движения потока. В ступенях с < 1 в НА
также про сход т уменьшение скорости и повышение давления, а при = 1 скорость вНАНА изменяется только по направлению.
При выходе из последней ступени газ проходит спрямляющий аппарат (СА) 5, который придает выходной скорости осевое направле-
ние. Обычно СА выполняют совмещенным с последней ступени.
Из СА сжатый газ поступает в выходное устройство 6.
Ступенью осевого компрессораДпринято считать РК и расположенные за ним НА (рис. 4.38, а). Элементарной ступенью осевого компрессора называют ступень, расположенную между двумя соосными цилиндрическими поверхностями, радиусов r и r + dr. Развертка одной из этих поверхностей на плоскость и треугольникиИскоростей для двух ступеней с различным коэффициентом реактивности представлены на рис. 4.38, б, в. Видно, что РК и НА представляют собой лопаточные решетки, составленные из аэродинамических профилей, установленных под определенными углами. Решетка РК движется относительно решетки НА со скоростью u. Углы установки профилей выбирают такими, чтобы вход потока в решетку был безударным и сопровождался наименьшими потерями.
131
С |
|
|
и |
|
|
|
а |
|
б |
|
|
|
А |
|
|
б |
|
|
Д |
|
|
в |
И |
|
|
|
Рис. 4.38. Ступень осевого компрессора: а – схема ступени; б – ступень с 1-2 = 0,5; в – ступень с 1-2 = 1,0
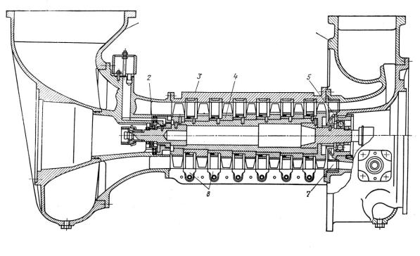
На рис. 4.39 представлена конструкция осевого компрессора газовой холодильной машины ТХМ-1-25. Компрессор – осевой семиступенчатый. Расход воздуха 2 кг/с, степень сжатия 2,3, диаметр проточной части 190 мм, частота вращения ротора 21 200 об/мин. Компрессор состоит из статора и ротора. На роторе расположено семь рядов профилированных рабочих лопаток. Рабочее колесо и спрямляющий аппарат образуют ступень компрессора. Основными состав-
132
ными частями компрессора являются: ротор, патрубок всасывания, корпус передний, корпус нагнетателя (статор) и корпус диффузора.
1 |
6 |
|
С |
|
|
|
|
|
|
|
|
|
|
|
|
2 |
3 |
|
|
|
4 |
|
|
5 |
|
|||
|
|
|
|
|
|
|
||||||
|
|
|
|
|
|
|
|
|
|
|
|
|
и |
|
|
|
|
|
|
|
|
|
|
||
|
|
|
|
|
|
|
|
|
|
|||
|
|
|
|
|
|
|
|
|
|
|||
б |
7 |
|
||||||||||
|
|
|
|
|
8 |
|
|
|
|
|||
А |
|
|||||||||||
Рис. 4.39. Осевой компрессор газовой холодильной машины ТХМ-1-25
Рабочая лопатка ротора состоит из пера и замка. Лопатки разных ступеней отличаются друг от друга длиной пера и углом установки их в диске. Лопатки с дисками соединяются замком типа "ласточкин хвост". Диски ротора и лопатки изготовленыДиз стали 13Х14НВФРА.
Патрубок всасывания является входным устройством компрессора и предназначен для обеспечения равномерного входа воздуха в первое колесо ротора. Корпус передний является продолжением входно-
го устройства компрессора и служит передней опорой ротора.
Корпус компрессора имеет продольный разъем в вертикальной плоскости. В кольцевых проточках установлены полукольца спрямляющих аппаратов, которые совместно с ротором и корпусом ком-
прессора образуют проточную часть. Спрямляющий аппарат состоит |
|
из наружного и внутреннего полуколец и спрямляющих лопаток и |
|
крепится к корпусу нагнетателя болтами. |
И |
Корпус по объему соединен болтами. К торцевым фланцам корпуса крепятся корпус передний и корпус диффузора. Последний состоит из наружного и внутреннего корпусов. Во внутреннем корпусе установлен корпус задней опоры. В наружном корпусе – спрямляющий аппарат седьмой ступени.
133
|
|
|
Контрольные вопросы и задания |
|||
1. |
|
Каково назначение компрессоров? |
|
|
||
2. |
Классифицируйте компрессоры по принципу действия. |
|||||
С |
|
|
|
|||
3. |
Классифицируйте компрессоры по конструктивному признаку. |
|||||
4. |
Назовите основные элементы поршневого компрессора. |
|||||
5. |
|
Поясн те пр нц п работы поршневого компрессора. |
||||
6. |
|
Поясн те пр нц п работы поршневого компрессора двойного |
||||
|
|
действ я. |
|
|
|
|
ческий |
|
|
|
|||
7. |
|
Чем отл чается одноступенчатый |
поршневой компрессор от |
|||
|
|
многоступенчатого? |
|
|
|
|
8. |
|
Рассмотр те механ зм движения одноступенчатого компрессора. |
||||
|
|
адиабатный |
|
|||
9. |
|
Покаж те процессы поршневого компрессора в р–V-диаграмме. |
||||
10. Покаж те |
зотерм |
, адиабатный и политропный процес- |
||||
|
|
сы сжат я в компрессоре на р–V-диаграмме. |
||||
11. |
Покаж те |
зотерм ческий, |
|
и политропный процессы |
||
|
|
сжат я в компрессоре на Т–s-диаграмме. |
||||
|
|
|
А |
|||
12. |
Поясните понятие «мертвое» пространство. |
|||||
13. |
Покажите на р– - диаграмме процесс расширения газа из «мерт- |
|||||
|
|
вого» пространства. |
|
|
|
|
14. |
Как влияет «мертвое» пространство на производительность ком- |
|||||
|
|
прессора? |
|
Д |
||
|
|
|
|
|
|
|
15. |
Чем обусловлено уменьшение действительной производительно- |
|||||
|
|
сти поршневого компрессора по отношению к теоретической? |
||||
16. |
Поясните понятие коэффициента подачи поршневого компрессора. |
|||||
17. |
Чем обусловлен переход от одноступенчатого сжатия к многосту- |
|||||
|
|
пенчатому? |
|
|
И |
|
|
|
|
|
|
||
18. |
Покажите принципиальную схему многоступенчатого сжатия. |
|||||
19. |
Покажите в р–V-диаграмме процессы многоступенчатого сжатия. |
|||||
20. |
Назовите преимущества и недостатки многоступенчатого сжатия. |
|||||
21. |
Назовите основные элементы спирального компрессора. |
|||||
22. |
Назовите основные достоинства спирального компрессора. |
|||||
23. |
На представленном рисунке поясните принцип работы ротацион- |
|||||
|
|
ного пластинчатого компрессора. |
|
|
||
24. |
Назовите основные элементы винтового компрессора. |
|||||
25. |
На представленном рисунке поясните принцип работы винтового |
|||||
|
|
компрессора. |
|
|
|
|
26. |
Назовите преимущества и недостатки винтового компрессора. |
|||||
134
27. |
Назовите преимущества компрессоров динамического действия |
|
над поршневыми. |
28. |
Назовите недостатки компрессоров динамического действия. |
29. |
Назовите основные элементы центробежного компрессора. |
30. |
Поясните принцип работы центробежного компрессора. |
С |
|
31. |
Представьте характеристики центробежного компрессора. |
32. |
Как осуществляется регулирование производительности центро- |
|
бежного компрессора? |
33. |
Назов те особенности нагнетателей природного газа. |
33. |
Назов те основные элементы осевого компрессора. |
и |
|
34. |
Поясн те пр нц п работы осевого компрессора. |
|
б |
|
А |
|
Д |
|
И |
135