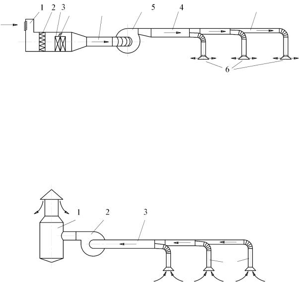
Вентиляторы применяются в системах вытяжной и приточной вентиляции с механическим побуждением воздуха. На рис. 1.4 показана типичная схема компоновки промышленной системы приточной вентиляции. Воздух из атмосферы поступает через воздухозаборное уст-
ройство 1, очищается от пыли в воздушном фильтре 2, затем подогре- |
||||||||||||||
вается в поверхностном воздухонагревателе (калорифере) 3. Перепу- |
||||||||||||||
скной клапан 7 предназначен для перепуска части воздуха для регу- |
||||||||||||||
лирован я температуры. После калорифера воздух по воздуховоду 4 |
||||||||||||||
помещение |
|
|
|
|
|
|
|
|
|
|||||
поступает на вход вент |
лятора 5 и затем по воздуховодам 4 подается |
|||||||||||||
Св обслуж ваемое |
|
через воздухораспределительные уст- |
||||||||||||
ройства 6. |
|
|
б |
|
|
|
|
|
|
|
|
|||
|
|
|
|
|
|
|
6 |
|
|
|
||||
|
1 |
2 |
3 |
7 |
4 |
|
5 |
|
4 |
|
|
|
4 |
|
|
|
|
|
|
|
|
|
|
|
|
|
|
|
|
|
|
|
|
|||||||||||
|
|
|
|
|
|
|||||||||
|
|
|
Рис. 1.4. Схема приточной системы вентиляции |
|||||||||||
|
|
|
|
|
|
Д |
||||||||
Вытяжная система вентиляции (рис. 1.5) предназначена для удале- |
||||||||||||||
ния из производственныхАпомещений загрязненного воздуха. Загряз- |
||||||||||||||
ненный вредными примесями воздух забирается из помещения через |
||||||||||||||
воздухоприемные устройства 4 и по воздуховоду 3 поступает к вход- |
||||||
ному патрубку вентилятора 2, затем подается в устройство очистки 1, |
||||||
|
|
|
|
|
|
И |
где происходит очистка воздуха от механических примесей. Очищен- |
||||||
ный от механических примесей воздух удаляется в атмосферу. |
||||||
|
1 |
|
2 |
|
3 |
|
|
|
|
|
|
|
|
4
Рис. 1.5. Схема вытяжной системы вентиляции
6
Под действием вентилятора в трубопроводе создается воздушный |
||
С |
|
2 |
поток. Важными параметрами воздушного потока являются его ско- |
||
рость, давление, плотность, массовый и объемный расходы воздуха. |
||
Расходы воздуха объемный Q, |
м3/с, и массовый m, кг/с, связаны |
|
между собой следующ м образом: |
|
|
ние |
m Fc , |
|
|
Q Fc; |
|
где F – площадь поперечного сечения трубы, м ;
с – скорость воздушного потока в заданном сечении, м/с; ρ – плотностьбвоздуха, кг/м3.
Давлен е. Разл чают статическое, динамическое и полное давле- в воздушном потоке.
Стат ческ м давлен ем РСТ, Па, принято называть давление частиц движущегося воздуха друг на друга и на стенки трубопровода. Статическое давление отражает потенциальную энергию воздушного потока в том сечении тру ы, в котором оно измерено.
Динамическое давление воздушного потока Р ИН, Па, характеризу-
ет его кинетическую энергию в сечении трубы, где оно измерено: |
|
Д |
|
|
c2 |
АP . |
|
ДИН |
2 |
Полное давление воздушного потока определяет всю его энергию и равно сумме статического и динамического давлений, измеренных в одном и том же сечении трубы, Па:
Р = РСТ + РДИН.
На практике давления газообразных сред могут измеряться относи-
тельно двух различных уровней (рис. 1.6): |
||
уровня абсолютного вакуума |
(абсолютногоИнуля давления) |
|
идеализированного состояния среды в замкнутом пространстве, из |
||
которого удалены все молекулы и атомы вещества среды; |
||
уровня |
атмосферного |
(барометрического) давления |
(ГОСТ 8.271 77). |
|
|
7
Р |
|
|
|
|
|
|
|
|
|
|
РИ1 |
РД = РИ1 – РИ2 = РА1 – РА2 |
|
|
|
|
|
|
|
|
|
|
|
|
РА |
|
|
|
|
|
|
С |
|
рА2 |
|
|
|
||
РИ2 |
|
|
|
||||
|
Атмосферное давление |
|
|||||
|
|
|
РВ |
|
|||
|
|
|
РА3 |
|
|||
|
|
|
Абсолютный |
||||
|
|
|
|
|
|
||
0 |
|
|
|
|
|
вакуум |
|
|
|
|
|
|
|
||
|
|
Р с. 1.6. Виды измеряемых давлений |
|
|
|||
и |
называют давлением |
||||||
Давлен е, |
змеряемое относительно вакуума, |
||||||
абсолютным РА. Барометрическое давление РБ это абсолютное дав- |
|||||||
ление земной атмосферы. Оно зависит от конкретных условий изме- |
|||||||
рения: температурыбвоздуха и высоты над уровнем моря. Давление, |
|||||||
которое больше или меньше атмосферного, но измеряется относи- |
|||||||
тельно атмосферного, называют соответственно избыточным РИ или |
|||||||
давлением |
разрежения, |
вакуумметрическим |
|
РВ. |
Очевидно, |
||
что РА = = РБ + РИ |
или Р = РБ – РВ. Разность давлений сред в двух |
||||||
|
|
|
А |
|
|
||
различных процессах или двух точках одного процесса, причем таких, |
|||||||
что ни одно из давлений не является атмосферным, называют диффе- |
|||||||
ренциальным давлением РД. |
Д |
||||||
через высоту столба жидкости, уравновешивающегоИизмеряемое давление в конкретном физическом процессе: в единицах водяного столба при 4 °С (мм вод. ст. или м вод. ст.) или ртутного столба при 0 °С (мм рт. ст. или Торр) и нормальном ускорении свободного падения;
через единицы силы и площади.
В Международной системе единиц (СИ) единицей силы является ньютон (Н), а единицей площади метр квадратный (м2). Отсюда определяются единица давления паскаль (1Па = 1 Н/м2) и ее производ-
8
ные, например килопаскаль (1 кПа = 103 Па), мегапаскаль
(1 МПа = = 103 кПа = 106 Па).
Наряду с системой СИ в области измерения давления продолжают использоваться единицы и других, более ранних систем, а также вне-
системные единицы.
МГКССиспользуется обозначение «ати».
В технической системе единиц МКГСС (метр, килограмм-сила, секунда) сила измеряется в килограммах силы (1 кгс ≈ 9,8 Н). Единицы
давлен я в кгс/м2 и кгс/см2; единица кгс/см2 получила название техн ческой, ли метрической атмосферы (атм.). В случае измерен я збыточного давления в единицах технической атмосферы
оотношен я между различными единицами измерения давления далее.
1 ньютон на квадратный метр (Н/м2, N/м2) = 1Па (Па 103 = 1кПа, Па 106 = 1МПа).
1 |
к лограмм-с ла на квадратный сантиметр (кгс/см2, kgf/cm2, атм., |
приведены |
|
atm) = 98 066,5 Па. |
|
1 |
м лл метр водяного стол а (мм вод. ст., mm H2O, mm WS) = |
= 9,80665 Па. |
|
|
б |
1 миллиметр ртутного стол а (мм рт. ст., mm Hg, torr) = 133,322 Па. |
|
1 физическая атмосфера (физ. атм.) = 760 мм рт. ст. = 101 325 Па. |
|
1 бар = 100 000 Па. |
|
|
|
||
Плотность воздуха есть масса единицы объема воздуха. По урав- |
|||||
нению Клайперона, плотностьАсухого воздуха при температуре 20 ºС |
|||||
|
P |
|
101325 |
1,2 кг/м3 , |
|
|
|
|
|||
|
RT |
287,06 293 |
|
||
где R – газовая постоянная, равная |
для воздуха 287,06 |
/(кг К); |
|||
|
|
|
Дж |
||
T – температура по шкале Кельвина. |
|
|
|||
Уравнение Бернулли. Большое значениеИдля понимания процессов течения воздуха по элементам вентилятора имеет уравнение Бернулли. По условию неразрывности воздушного потока расход воздуха постоянен для любого сечения трубы. Для сечений 1, 2 и 3 (рис. 1.7) это условие можно записать так:
M1 M2 M3 ;
F1c1 1 F2c2 2 F3c3 3 .
9
|
1 |
|
|
|
|
|
|
|
|
|
|
|
|
3 |
|
|
|
|
|
|
|
|
|
||||
|
|
|
|
|
|
2 |
|
|
|
|
|
|
|
|
|
|
|
|
|
|
|||||||
|
|
|
|
|
|
|
|
|
|
|
|
|
|
|
|
|
|
|
|
|
|
|
|
Рис. 1.7. Схема к анализу |
|
||
|
|
|
|
|
|
|
|
|
|
|
|
|
|
|
|
|
|
|
|
|
|
|
|
|
|||
|
|
|
|
|
|
|
|
|
|
|
|
|
|
|
|
|
|
|
|
|
|
|
|
|
|||
|
|
|
|
|
|
|
|
|
|
|
|
|
|
|
|
|
|
|
|
|
|
|
|
|
|||
|
|
|
с1 |
|
|
|
|
|
|
|
|
с 2 |
|
|
|
|
|
|
|
|
|
|
|||||
|
|
|
|
|
|
|
|
|
|
|
|
|
|
|
|
|
|
|
|
|
|
|
|||||
С |
|
|
|
|
|
|
|
с 3 |
|
|
|
движения потока воздуха |
|
||||||||||||||
|
|
|
|
|
|
|
|
|
|
|
|
|
|
||||||||||||||
|
|
|
|
|
|
|
|
|
|
|
|
|
|
||||||||||||||
|
|
|
|
|
|
|
|
|
|
|
|
|
|
|
|
в трубе |
|
||||||||||
|
|
|
|
|
|
|
|
|
|
|
|
|
|
|
|
|
|
|
|||||||||
|
|
|
|
|
|
|
|
|
Р3 |
|
|
|
|
|
|
|
|
||||||||||
|
|
|
|
|
|
|
|
|
|
Р2 |
|
|
|
|
|
|
|
|
|
|
|
|
|||||
Р1 |
Р1,2 |
|
|
|
|
|
|
|
|
|
|
|
|
|
|
|
|||||||||||
|
|
|
|
|
|
|
|
|
|
|
|
|
|
|
|
||||||||||||
|
|
|
|
|
|
|
|
|
|
|
|
|
|
|
|
|
|||||||||||
|
|
|
|
|
|
|
|
|
|
|
|
|
|
|
|
|
|
|
|
|
|||||||
|
|
Р1,3 |
|
|
|
|
|
|
|
|
|
|
|
|
|||||||||||||
|
|
|
|
|
|
|
|
|
|
|
|
|
|
|
|
|
|
|
|||||||||
|
|
|
|
|
|
|
|
|
|
|
|
|
|
|
|
|
|
|
|
|
|
|
|
|
|
|
|
ческиQ1 |
= Q2 |
= Q3. |
|
|
|
||||||||||||||||||||||
При зменен |
|
|
|
|
|
давления воздуха в пределах до 5000 Па плотность |
|||||||||||||||||||||
его остается практ |
|
|
|
|
|
|
постоянной. В связи с этим |
|
|
||||||||||||||||||
|
|
|
|
|
|
|
|
|
|
|
|
|
|
|
|
|
|
|
F1c1 F2c2 |
|
F3c3 ; |
|
|
|
|||
|
|
|
|
б |
|
|
|
|
|||||||||||||||||||
Изменен е давлен я воздушного потока по длине трубы подчиня- |
|||||||||||||||||||||||||||
ется закону Бернулли. Для сечений 1, 2 (см. рис. 1.7) можно написать |
|||||||||||||||||||||||||||
|
|
|
|
|
|
|
|
|
|
|
|
|
|
А |
|
|
|||||||||||
|
|
|
|
|
|
|
|
|
|
|
|
|
P |
c2 |
/ 2 P |
c2 / 2 P , |
|
|
|||||||||
|
|
|
|
|
|
|
|
|
|
|
|
|
|
СТ |
1 |
|
СТ 2 |
|
|
2 |
1,2 |
|
|
||||
|
|
|
|
|
|
|
|
|
|
|
|
|
|
|
|
|
|
|
|
P P P |
, |
|
|
|
|||
|
|
|
|
|
|
|
|
|
|
|
|
|
|
|
|
|
|
|
|
1 |
2 |
|
1,2 |
|
|
|
|
|
|
|
|
|
|
|
|
|
|
|
|
|
|
|
|
|
|
|
|
|
Д |
|
|||||
|
|
|
|
|
|
|
|
|
|
|
|
|
|
|
|
P P |
P |
|
c2 / 2, |
|
|
(1.1) |
|||||
|
|
|
|
|
|
|
|
|
|
|
|
|
|
|
|
1 |
|
1,2 |
СТ 2 |
|
2 |
|
|
||||
где Р1,2 – потери давления, вызванные сопротивлением потока о |
|||||||||||||||||||||||||||
стенки трубы на участке между сечениями 1 и 2. |
|
|
|||||||||||||||||||||||||
Анализ |
|
последних |
уравнений показывает, |
что с |
уменьшением |
||||||||||||||||||||||
|
|
|
|
|
|
|
|
|
|
|
|
|
|
|
|
|
|
|
|
|
|
|
|
И |
|||
площади поперечного сечения трубы скорость воздуха увеличится, но |
|||||||||||||||||||||||||||
объемный расход останется неизменным. С увеличением скорости с |
|||||||||||||||||||||||||||
возрастет |
|
динамическое |
давление |
потока. |
ля |
того чтобы |
|||||||||||||||||||||
равенство (1.1) выполнялось, статическое давление должно упасть ровно настолько, насколько увеличится динамическое давление.
При увеличении площади сечения потока динамическое давление упадет, а статическое ровно настолько же увеличится. Полное же давление в сечении остается неизменным.
10