Материал: 2416

Внимание! Если размещение файла нарушает Ваши авторские права, то обязательно сообщите нам

А

В С

А

В С

 

 

 

С

С2

С

С1

С2

С3

 

 

 

1

3

 

 

 

С1

С2

С3

С6

С4

С5

С6

С4

С5

С6

С4

С5

 

Y

 

 

 

 

 

 

 

 

 

 

а

б

в

 

 

 

Рис. 7.2. Схема подключения фаз обмоток статора к клеммной коробке (а); соединение выводов фаз обмоток по схеме «звезда» (б)

и по схеме «треугольник» (в): С1, С2, С3 – начала фаз обмоток; С4, С5, С6 – концы фаз обмоток

Обмотка короткозамкнутого ротора выполняется в виде медных или алюминиевых стержней, уложенных в пазы сердечника. По торцам стержни замкнуты между собой накоротко (рис. 7.3, б). За свой внешний вид короткозамкнутую обмотку называют «беличьим колесом» или «беличьей клеткой».

а

б

 

 

Рис. 7.3. Общий вид короткозамкнутого ротора (а) и короткозамкнутой обмотки типа «беличье колесо» (б)

Фазный ротор (рис. 7.4, а) имеет трехфазную обмотку, соединенную по схеме «звезда» (реже «треугольник»). Концы фазной обмотки ротора присоединены к трем медным кольцам, укрепленным на валу ротора и изолированным как между собой, так и от стального сердечника ротора, вследствие чего этот двигатель получил также название двигателя с контактными кольцами.

145

Три кольца жестко насажены на вал ротора через изоляционные прокладки. На кольца накладываются щетки, которые размещены в щеткодержателях, укрепленных на одной из подшипниковых крышек (рис. 7.4, б). Через щетки и кольца обмотка ротора подключена к клеммной коробке. К выводам такой обмотки обычно подключаются добавочные сопротивления Rд в виде трехфазного реостата (рис. 7.5).

1

2

 

3

 

 

 

 

 

 

 

 

 

 

 

 

 

 

 

 

 

 

 

 

 

 

 

 

 

 

 

 

6

4

4 3 5 7

а

б

 

Рис. 7.4. Общий вид фазного ротора (а) и асинхронной машины с фазным ротором в разрезе (б): 1 – станина; 2 – сердечник статора;

3 – сердечник ротора; 4 – обмотка ротора; 5 – контактные кольца; 6 – щетки; 7 – клеммная коробка

А

 

Rд

 

 

В

 

 

С

 

 

Обмотка

Обмотка

Добавочные

статора

фазного

сопротивления

ротора

 

а

б

Рис. 7.5. Электрическая схема (а) и общий вид (б) трехфазного асинхронного двигателя с фазным ротором с подключенными к его обмотке добавочными сопротивлениями через щеточный контакт с контактными кольцами

Включение реостата в цепь ротора дает возможность существенно улучшить условия пуска двигателя: уменьшить пусковой ток и

146

увеличить пусковой момент. Кроме этого, реостатом, включенным в цепь ротора, можно плавно регулировать частоту вращения двигателя.

7.3. Вращающееся магнитное поле статора асинхронного двигателя

Принцип работы асинхронного двигателя основан на получении вращающегося магнитного поля. При поданном на обмотку статора трехфазном напряжении в фазах обмотки протекают токи:

iA = Imsinωt;

 

 

 

 

(7.1)

iB = Imsin(ωt 120°);

 

 

 

iC = Imsin(ωt 240°).

 

i

iA

iB

iC

 

 

ωt1

ωt2

ωt3

ωt4

ωt

 

А

Z

N

А

Z

 

Y

 

Y

 

 

S

 

N

 

 

 

 

C

X

B

C

 

B

 

 

А

S

X S

 

А

 

 

 

 

 

Y

Z

 

Y

Z

 

 

 

 

S

 

N

 

 

C

B

 

C

B

 

 

N X

 

 

 

X

Рис. 7.6. График трехфазной системы токов и упрощенные картины результирующего магнитного поля для четырех моментов времени:

A, B, C – начала фаз обмотки статора; X, Y, Z – концы фаз обмотки статора

147

Ток в каждой фазе создает свое переменное магнитное поле. Эти поля складываются и образуют результирующее магнитное поле. Картина результирующего магнитного поля непрерывно изменяется, но ее можно изобразить для любого момента времени (рис. 7.6). За положительное направление токов принимается направление от начала к концу фазы обмотки статора.

На рис. 7.6 стрелка указывает направление оси полюсов магнитного поля. Из рисунка видно, что при изменении токов происходит равномерное вращение всего спектра силовых линий магнитного поля, а конфигурация силовых линий при этом не изменяется. Такое поле принято называть вращающимся. Частота вращения магнитного поля

n

=

60 f1

,

(7.2)

 

1

 

p

 

 

 

 

где f1 – частота тока в обмотке статора (частота питающего напряжения); р – число пар полюсов.

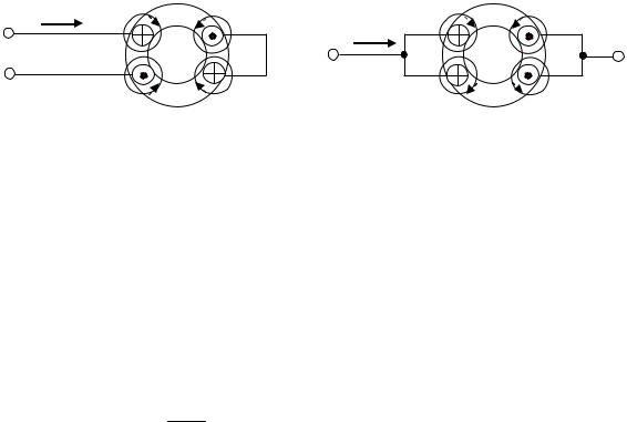
Число пар полюсов основного магнитного поля асинхронного двигателя определяется количеством катушек в каждой фазе и способом соединения этих катушек между собой (рис. 7.7).

 

N

N

 

i

i

~u

S

S

 

N

S

 

p=2

p=1

Рис. 7.7. Зависимость числа пар полюсов от схемы соединения катушек в каждой фазе обмотки статора

При последовательном соединении двух катушек каждой обмотки статора число пар полюсов р=2; частота вращения магнитного поля при частоте питающего напряжения f1=50 Гц в соответствии с

формулой (7.2) n =

60 f1

=

60 50

=1500

об

. При параллельном со-

 

 

 

1

p

2

 

мин

 

 

единении двух катушек каждой фазы обмотки статора число пар по-

люсов р=1; n1=3000 миноб .

148

Если две фазы подводимого к статору напряжения поменять местами, т.е. изменить порядок чередования токов в обмотках статора на обратный, результирующее магнитное поле будет вращаться в обратном направлении.

7.4. Принцип действия асинхронного двигателя

При включении двигателя в трехфазную сеть в статоре образуется вращающееся магнитное поле, силовые линии которого пересекают обмотки статора и ротора. При этом согласно закону электромагнитной индукции в каждой фазе обмоток статора и ротора наводятся ЭДС:

Е1=4,44·w1· k1·f1·Ф;

(7.3)

Е2=4,44·w2· k2·f2·Ф,

(7.4)

где w1 и w2 – число витков в фазах обмоток статора и ротора; k1 и k2 – обмоточные коэффициенты статора и ротора, указывающие степень использования магнитного потока Ф в обмотках статора и ротора.

Так как цепь ротора замкнута, то в обмотке ротора под действием ЭДС Е2 протекает ток I2. Взаимодействие тока ротора с магнитным полем машины приводит к возникновению вращающего электромаг-

нитного момента

 

М=С·Ф·I2·cosφ2,

(7.5)

где С – постоянный коэффициент, зависящий от конструкции двигателя; cosφ2 – коэффициент мощности цепи ротора; I2·cosφ2 – активная составляющая тока ротора.

Ротор вращается в том же направлении, что и магнитное поле статора. Частота вращения ротора асинхронной машины, работающей в режиме двигателя, всегда меньше частоты вращения магнитного поля статора, так как только в этом случае будет иметь место изменение магнитного потока, пересекающего обмотку ротора.

Мерой отставания частоты вращения ротора n2 от частоты вра-

щения магнитного поля n1 является скольжение

 

S =

n1 n2

.

(7.6)

 

 

n

 

1

 

 

При неподвижном роторе (n2=0) S=1.

Таким образом, в момент пуска двигателя S=1.

Если ротор двигателя вращается с такой же частотой, что и магнитное поле статора (n2= n1), то S=0. Такой режим называется режимом идеального холостого хода.

149