Материал: 2308

Внимание! Если размещение файла нарушает Ваши авторские права, то обязательно сообщите нам

ректного выполнения которого используем принцип предельного поглощения. Ком-

поненты вектора напряжений определяются по закону Гука.

 

j

 

 

j 2 j

uxj

;

j

 

 

 

 

 

 

 

uyj

 

 

 

 

 

 

x

 

j

 

 

 

y

j j

2 j

 

 

;

 

(3.22)

 

 

 

x

 

y

 

 

 

 

 

 

 

j

 

 

 

 

 

 

 

 

 

 

 

 

j

 

 

 

j

 

 

j

 

 

j

 

 

 

j

 

 

j

 

j

 

 

 

 

j

 

ux

 

 

uy

 

 

ux

 

 

uz

 

 

 

uy

 

uz

 

 

 

 

 

 

 

 

; xz

 

 

 

 

 

 

 

 

 

 

 

 

 

 

 

 

 

xy

j

y

 

 

x

 

j

z

 

 

x

; yz

j

 

z

 

y

.

 

 

 

 

 

 

 

 

 

 

 

 

 

 

 

 

 

 

 

 

 

 

 

 

 

 

 

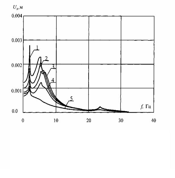
Исследование сформулированной краевой задачи при действии на ее границу подвижной нагрузки в подвижной декартовой системе координат позволило авторам получить важные практические следствия (рис. 3.6). Оказалось, что при вариациях свойств конструкции в части толщин слоев, модулей упругости по отношению к «базовой» лучшими свойствами – наименьшим динамическим прогибом – является конструкция с основанием из связанных материалов (в отличие от базового из дискретного основания).

Рис. 3.6. Изменения вертикального динамического прогиба

многослойной дорожной конструкции при изменении ее свойств:

1 – базовая конструкция; 2 – увеличение Еупр верхнего слоя

асфальтобетона; 3 – увеличение Еупр нижнего слоя асфальтобетона;

Это обстоятельство свидетельствует о надежности теоретического решения, так как подтверждается в практике строительства дорог продлёнными сроками службы дорожных конструкций с основаниями из связанных материалов. Е.В. Угловой в Ростовском государственном строительном университете предложено применение уравнений Ламе (3.20) с введением в них показателей вязкости и динамических модулей упругости слоев, зависящих от частоты нагружения. Численный эксперимент проведен на примере трех конструкций: № 1 – асфальтобетонное покрытие толщиной 18 см и более, № 2 – асфальтобетонное покрытие толщиной 12– 18 см и более, № 3 – асфальтобетонное покрытие толщиной менее 12 см.

100

80

 

42

50

58

 

60

40

41

42

38

20

17

8

 

 

4

 

0

 

 

 

 

 

 

 

 

 

 

 

 

 

 

 

 

Констр. № 1

Констр. № 2

Констр. № 3

Рис. 3.7. Вклад деформирования элементов дорожной конструкции (%) в полный : – покрытие; – основание;

Оказалось, что вклад каждого слоя в формирование динамического прогиба трех-

слойной конструкции различен, а наибольший вклад вносит третий нижний слой – грунтовое основание (до 58 %).

3.2. Деформирование упругих слоистых и плитных конструкций

Реальные дорожные конструкции состоят из нескольких слоев, значительно отличающихся по свойствам друг от друга. Поэтому представляют интерес некоторые решения динамики плит, лежащих на упругих основаниях. Для описания прогибов и напряжений в асфальтобетонных и цементобетонных покрытиях целесообразно применить теории, уже изложенные в работах Г.Б. Муравского, В.В. Найвельта, В.Е. Ярового и др., анализируемые ниже.

Пусть по упругой плите неограниченных размеров движется горизонтально со скоростью V вертикальная сила Р, распределенная равномерно по круговой площадке радиусом а. Дифференциальное уравнение равновесия без учета инерционных свойств основания имеет вид

 

 

 

 

 

2

 

 

1

 

 

2

 

 

2

u

 

u

 

 

u t r ,

 

 

 

D

 

 

 

 

 

 

 

 

u m

 

 

K

0

(3.23)

 

 

 

 

 

 

2

 

 

 

 

2

 

 

 

 

 

r

 

r

 

 

 

t

 

t

 

 

 

 

 

 

 

 

 

r

 

 

 

 

 

 

 

E h

3

 

 

 

 

 

 

 

 

 

 

 

 

 

 

 

 

 

 

 

здесь D

1

1

 

 

 

– цилиндрическая жесткость плиты; Е1 – модуль упругости пли-

121 2

ты, кг/см2; h1 – толщина плиты; т – масса плиты, приходящаяся на единицу площади; μ – коэффициент Пуассона, принятый равным 0,25; u – прогиб плиты под центром круговой площадки загружения; r – расстояние от центра приложения нагрузки до точки измерения прогиба поверхности плиты; γ – коэффициент затухания колебаний в плите, γ = 0,3; K0 – коэффициент постели основания плиты; δ(t) – дельта – функция Дирака; η(r) – функция, отражающая интенсивность нагрузки, соответствующей единичной силе.

Решение уравнения (3.23) методом замены аргумента и переходом к безразмерным переменным при неравномерном движении вертикальной силы вдоль горизонтальной плоскости плиты дает следующий результат:

 

 

 

 

 

1

 

 

 

 

R 1 е

 

 

1 n 2

32 n

 

 

U

 

 

 

 

 

 

 

 

 

 

 

 

1

 

 

 

 

 

 

 

 

 

 

 

 

 

 

 

 

 

 

 

 

 

 

 

 

 

 

 

 

 

 

 

8 K1 D 0

 

 

 

 

 

 

n! 2

 

 

 

 

 

 

 

 

 

 

 

 

n 0

 

 

 

 

 

 

 

 

 

n 1

 

 

 

 

 

 

 

 

 

 

 

 

 

 

n

 

2

 

 

 

 

Г

 

1 32 n

I n

2

1

Cn

 

 

(3.24)

 

 

 

 

 

 

 

2

 

 

 

 

 

 

 

 

 

 

 

 

 

0n 1

 

 

 

 

 

 

 

 

 

1

 

 

 

 

 

2

 

 

 

 

 

 

2 n d

 

 

V

 

 

 

1

 

R2 n

1

,

 

 

 

 

 

 

 

1

 

2

 

 

 

 

1

 

 

 

 

 

 

 

1

 

 

 

 

 

 

 

 

 

 

 

 

 

 

 

 

 

 

 

 

 

 

 

 

 

 

здесь U – вертикальный прогиб поверхности плиты.

Остальные безразмерные параметры заданы формулами

 

 

2

 

 

 

 

 

 

2

 

K

 

1

K

 

 

1

 

 

 

; K

 

K

 

 

 

1

4

1

2

 

 

 

 

1

0

 

 

; r

r

 

 

; t

 

 

;

 

 

 

 

 

 

 

 

 

2 m K1

 

 

 

 

4m

1

D

m

 

 

 

 

 

 

 

 

 

 

47