|
|
|
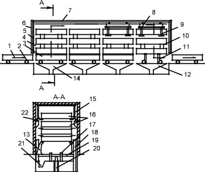
Рис. 2.4. Пропарочная камера верти- |
|
|
|
кального типа: 1 форма; 2, 17 |
|
|
|
рольганг; 3 подъемное положение; |
|
|
|
4 камера; 5 железобетонное огра- |
|
|
|
ждение; 6 теплоизоляционный слой; |
|
|
|
7 крышка; 8 передаточная тележка; |
|
|
|
9 захваты; 10 пазы; 11 гидродом- |
|
|
|
краты; 12, 14 опоры; 13 защелки; |
15 тележка; 16 формы; 18 направляющие колонны; 19 стол |
|||
гидроподъемника; |
20 плунжерный цилиндр; 21 траншея для |
||
стока |
конденсата; |
22 перфорированный паропровод |
|
Пройдя в крайнее нижнее положение, гидродомкраты оставляют форму с изделием на выгрузочном роликовом конвейере, который включается после того, как гидродомкраты займут крайнее нижнее положение. Затем этот конвейер выкатывает изделие из камеры.
Тепловлажностная обработка в такой камере осуществляется следующим образом. Пар через трубопровод подается в перфорированную трубу, расположенную в верхней части по всему периметру камеры. В момент пуска камеры в ней находится воздух, пар смешивается с ним, образуя паровоздушную смесь. Новые порции пара, который непрерывно подается в камеру и легче паровоздушной смеси, занимают верхнюю часть камеры – зону изотермической выдержки, вытесняя паровоздушную смесь книзу – в зону подогрева.
Таким образом, в верхней части камеры образуется и все время поддерживается среда чистого насыщенного пара с температурой 100 С и φ = 100 %. Ниже в камере находится паровоздушная смесь с меньшей температурой. Таким образом, изделия, проходя путь по камере, сначала нагреваются, потом выдерживаются при 100 С, а затем, опускаясь вниз, охлаждаются.
45
Исходные данные:
1.Годовая производительность конвейерной технологической линии
по выпуску железобетонных плит покрытия………… Gгод = 45000 м3,
каждая объёмом………………………………………… Vб = 0,615 м3.
Средний ритм конвейера……………………………………. Rср = 0,29 ч.
2.Годовой фонд времени работы цеха……………………... Вр = 6096 ч.
3.Цикл ТВО изделий…………….. Ц 1 2 3 1,5 3 1,5 6 ч
при температуре изотермии t2=100 °C и относительной влажности среды φ=100 %.
4. Расход материалов на 1м3 бетона, кг: ШПЦ М400 Ц=283 кг, З = 1931 кг, В = 170 л, арматура А = 104 кг, В/Ц = 0,6. Плотность бетона………………………………………………………. ρб=2384 кг/м3. 5. Масса формы…………………………………………….... Gф 7500 кг,
размером………………………………. ф ф hф 6,47 1,79 0,55м.
6. В зоне изотермического прогрева установлена перфорированная труба с 95 отверстиями диаметром d0=3 мм для подачи острого пара. Давление пара в паропроводе…………..... P=0,2 МН/ м2 при tп=120 °C. 7. Коэффициенты: теплоотдачи от среды в камере ограждениям………………………………………….... α1=52 Вт/м2·°C;
ограждений в среду цеха…………………………….… α2=23,2
Вт/м2·°C.
8. Средняя температура по сечению изделия
в конце периода подогрева………………………………….. t1I = 72,8 °C. 9. Стены камеры из сборного железобетона толщиной… δст = 0,17 м, снаружи покрыты теплоизоляционным слоем из минеральной ваты………………………………………… δут = 0,05 м
и оштукатурены азбозуритом. Общая толщина стен 0,22 м. Покрытие изготовлено из разъёмных металлических щитов, заполненных теплоизоляционным материалом минеральной ватой, толщиной равной 0,1 м с =0,063 Вт/м С (для минеральной ваты).
10. Изделия в формах размещаются в камере в четыре штабеля по 10 ярусов в каждом.
Расчёт габаритов камеры
Длина камеры Lk (м) определяется по формуле
Lк ф 5 4 6,47 5 0,5 28,40,
46
где ф длина формы, ф =6,47 м; зазоры между стеной камеры и формой и между формами, =0,5 0,6 м.
Ширина камеры Вk (м):
Bk bф 2 1,79 2 0,5 2,79,
где bф – ширина формы, bф=1,79 м. Высота камеры Hk (м):
Мк hф nя nя 1 H1 H2 0,55 10 (10 1)0,2 1,8 9,5,
где hф – высота формы, hф = 0,55 м; nя – количество ярусов, nя = 10 шт.; H1 – высота консоли поворотных устройств и расстояния от формы до пола камеры и потолка, H1 = 0,2 м; H2 – высота машинного отделения, H2 = 1,8 м.
Высота зоны прогрева – охлаждения
HI HIII |
1 |
hф H1 |
1,5 |
0,55 0,2 3,85м. |
|
Rср |
0,29 |
||||
|
|
|
Высота зоны изотермического прогрева
HII |
0,5 |
2 |
hф H1 H2 |
0,5 |
3 |
0,55 0,2 1,8 5,65м. |
Rср |
|
|||||
|
|
|
|
0,29 |
||
Теплотехнический расчёт
Материальный баланс.
Ритм выпуска:
по бетону Vб Gгод 45000 7,4 м3/ч;
Вр 6096
изделиям |
nu |
Vu |
|
7,4 |
12 шт./ч. |
|
0,615 |
||||
|
Vб.и. |
|
|
||
Приход материалов, кг/ч:
▪Цемент………………………………………... Gц=Ц∙Vб=283·7,4=2094.
▪Вода…………………………………………… Gв=В∙Vб=170·7,4=1258.
▪Заполнители………………………………... Gз=З∙Vб=1931·7,4=14289.
▪Арматура……………………………………….. Gа=А∙Vб=104·7,4=770.
▪Формы………………………………... G1ф=Gф∙ nu=7500·12=90000 кг.
47
Расход материалов, кг/ч: ▪ Вода испарения
(1 % от массы бетона)……………... Wi = 0,01Vб ρб=0,01·7,4·2384=176.
▪ Оставшаяся вода……………………. G в = Gв Wi = 1258 176=1082.
Масса остальных материалов на протяжении всего цикла тепловой обработки не меняется.
Тепловой баланс.
I. Приход тепла, кДж/ч:
1. Тепло сухой части бетона
Q1c=(Gц+Gз)сс·t1=(2094+14289)0,84·20=275234.
Здесьи далее теплоемкостьматериалов находим в табл. П.14, П.15, П.16. 2. Тепло воды затворения
Q1в=Gв·ca·t1=1258·4,185·20=105295.
3. Тепло арматуры и закладных деталей
Q1a=Ga·ca·t1=770·0,46·20=7084.
4. Тепло форм
Q1ф=G ф·сф·t1=90000·0,46·20=828000.
5. Тепло экзотермии цемента
Qэ=0,0023·Qэ28(В/Ц)0,44t1-2 ·τ1·Gц=
=0,0023·420·0,60,44·60·1,5·2094=145406.
Здесь Qэ28 и (В/Ц)0,44 взяты из табл. П.4 и П.5.
6. Тепло, выбивающееся в зону подогрева из зоны изотермического прогрева,
Q1выб=19700Δt0,6Fk 
Bk =19700·10,6·14,2·2,79·
2,79=1303650.
7. Тепло воздуха, поступающего в камеру из калорифера,
Q1кал = Gкал(i i ).
Суммарный приход тепла в период подогрева
7
Q1прих Q1c+Q1в+Q1a+Q1ф+Qэ+Q1выб+Q1кал=
1
=275234+105295+7084+828000+
+145406+1303650+Q1кал=2664669+Q1кал.
II. Расход тепла:
1. Тепло сухой части изделий
48
QIIc=(G3+Gц)ссtII=(14289+2094)·0,84·72,8=1001853. 2. Тепло на испарение части воды затворения
Qисп=Wi(2493+1,97tI-II)=176(2493+1,97·60)=459571. 3.Тепло воды, оставшейся в бетоне к концу периода подогрева,
QIIв = G в· cф · tф = 1082·4,2·72,8 = 330832. 4. Тепло арматуры и закладных деталей
QIIа=Ga·ca·tII=770·0,46·100=35420.
5. Тепло форм
QIIф=G ф·сф·tII=90000·0,46·100=4140000. 6. Тепло смеси, заполняющей свободный объем камеры,
QIIc.o=Vc.o · ρI-II · iI-II = 88,8·1,1·398=38877,
где Vc.o =H1·Bк·Lк n·lф·bф·hф=3,85·2,79·14,2-10·6,47·1,79·0,55=88,8 м3.
7.Тепло, потерянное через ограждения камеры:
потери через стенки
QIIст=3,6kстFст(tI-II to.c.)=3,6·1,04·120,1·(60-20)=17986,
где |
F =(2·L /2+В )Н |
=(2·28,4/2+2,79)·3,85=120,1 м2; |
||||||||||||||||||||||
|
ст |
к |
к |
1 |
|
|
|
|
|
|
|
|
|
|
|
|
|
|
|
|
|
|||
|
kст= |
|
|
|
1 |
|
|
|
|
|
|
|
|
|
|
|
|
|
1 |
|
|
|
1,04. |
|
|
|
|
ст |
|
ут |
1 |
|
|
1 |
|
0,17 |
|
0,05 |
|
1 |
|
||||||||
|
1 |
|
|
|
|
|
|
|
|
|
|
|||||||||||||
|
|
|
|
|
|
|
|
|
|
|
|
|
|
|
|
|
|
|
|
|
|
|||
|
|
1 |
ст |
ут |
|
|
|
|
|
52 |
1,56 |
0,063 |
23,2 |
|
|
|||||||||
|
|
|
|
|
2 |
|
|
|
|
|
||||||||||||||
Суммарный расход тепла в период подогрева
7
Q11расх QIIc+Qисп+QIIв+QIIа+QIIф+QIIс.о+ 1
+QIIогр+QIIвыб+Qз=1001853+459571+330832+
+35420+4140000+38877+17986.
7
1 QIIрасх 5624539.
Тепловой баланс зоны подогрева
5624539=2664669+Q11кал .
Откуда Q11кал=5624539 2664669=2959870.
49