Материал: 2181

Внимание! Если размещение файла нарушает Ваши авторские права, то обязательно сообщите нам

Для маховика данной массы и полученных результатов эксперимента

JМЭ

6,3 9,8 0,092 22

0,072

кг м2 ,

4 3,142 0,7

 

 

 

где m – масса маховика, (m = 6,3 кг);

g – ускорение свободного падения, (g = 9,8 м/с2); a – расстояние между нитями, (a = 0,09 м );

l – длина нитей, ( l = 0,7 м ).

Величина момента инерции маховика необходима в дальнейшем

при расчете коленчатого вала на крутильные колебания.

 

 

 

 

 

 

 

 

 

 

 

 

 

И

 

 

3.5. Расчетное определение момента

 

 

 

 

 

 

 

 

 

 

 

Д

 

 

 

 

 

инерции маховика

 

 

 

 

 

 

 

 

А

 

 

 

 

3.5.1. Момент инерции венца маховика [1]

 

 

 

 

б

 

 

 

 

 

 

 

 

 

Jн

 

d4

d4

B ,

(3.4)

 

 

 

 

 

об

32

 

1

 

2

1

 

Jобн

3,14

0,274 0,264

0,023 7800 0,0074

кг м2 ,

 

32

 

 

 

 

 

 

 

 

 

 

 

 

С

 

 

 

 

 

 

 

 

 

 

где d2 – внутренн й д аметр венца маховика, (d2= 0,26 м);

d1 – внешний д аметр венца маховика, (d1= 0,27 м);

 

B1 – ширина венцаимаховика, (B1= 0,023 м);

 

ρ – плотность стали, (ρ =7800 кг/м3).

 

 

 

3.5.2. Момент инерции наружного обода

 

 

 

J

 

 

 

d4 d4

B

,

(3.5)

 

 

Д

 

 

 

 

32

 

3

 

4

2

 

 

 

где d3 –внешний диаметр наружного обода , (d3=0,26м); d4 – внутренний диаметр наружного обода, (d4=0,21 м); B2 – ширина наружного обода, (B2 = 0,028 м).

31

3.5.3.Момент инерции фланца

 

 

Jф

 

 

d54

 

d64 B3 ,

(3.6)

 

 

 

 

 

 

 

 

32

 

 

 

 

 

 

 

где d5 – внешний диаметр фланца, (d5 = 0,22 м);

 

d6 – внутренний диаметр фланца, (d6 = 0,125 м);

 

B3 – ширина фланца, (B3 = 0,016 м).

 

 

3.5.4. Момент инерции внутреннего обода

 

 

JобВ

 

d74

 

d84 B4 ,

(3.7)

 

32

 

 

 

 

 

 

 

 

 

 

 

 

где d7 – внешний диаметр внутреннего обода, (d2 = 0,125 м);

 

d8 – внутренний диаметр внутреннего обода, (d3 = 0,03 м);

 

B4 – ширина внутреннего обода, (B4 = 0,01 м).

 

 

 

 

 

 

 

 

 

Д

 

Расчетное значение момента инерции маховика находим по фор-

муле

 

 

 

А

И

 

 

 

 

 

 

 

 

 

 

 

 

 

JMP

JобН JД JФ JобВ .

(3.8)

и

 

 

 

 

 

 

 

 

 

Оценим погрешность в определении момента инерции маховика

расчетным и экспер ментальным путем:

 

 

С

 

 

 

 

P

 

B

 

 

 

бJ J

M

 

 

(3.9)

 

 

 

 

M

 

100 %.

 

 

 

JMP

 

 

 

 

 

 

 

 

 

 

 

 

3.6. Порядок выполнения работы

1. Изучить методику экспериментального и расчётного определения момента инерции маховика.

2. Ознакомиться с лабораторной установкой.

3. Повернуть маховик на угол 20 – 300 и определить время в секундах 50 колебаний. Опыт повторить 3 раза.

4. По формуле (3.2) определить период полного колебания, а по формуле (3.3) – момент инерции маховика (экспериментальный).

32

5.По формулам (3.4), (3.5), (3.6), (3.7), (3.8) определить моменты инерции отдельных частей маховика и в целом.

6.По формуле (3.9) определить погрешность в определении момента инерции маховика.

7.Результаты экспериментальных и расчётных данных поместить

втаблицу.

Результаты исследования маховика

Объект

τ,

Т,

JMэ ,

Jобн ,

JД ,

JФ ,

JобВ ,

JMР ,

ε,

исследования

с

с

кг·м2

кг·м2

кг·м2

кг·м2

кг·м2

кг·м2

%

 

 

 

 

Маховик

 

 

И

 

 

 

 

 

 

 

 

Д

 

3.7. Содержания отчета

 

А

 

 

б

 

 

Отчет по работе должен содержать наименование и цель работы, краткое описание методики экспериментального определения момен-

та инерции маховика, эскиз маховика с размерами, основные расчётные формулы, табл цу, выводы.

СКонтрольные вопросы

1.Что представляет собой момент инерции, определение, размер-

ность?

2.С какой целью определяют момент инерции маховика?

3.Каково назначение маховика?

4.Каким образом маховик «накапливает» и «отдаёт» энергию?

5.Какова методика экспериментального и расчётного определения момента инерции маховика?

6.В каких расчётах ДВС применяют момент инерции маховика?и

33

4. ОПРЕДЕЛЕНИЕ МОМЕНТОВ ИНЕРЦИИ ЭЛЕМЕНТОВ КОЛЕНЧАТОГО ВАЛА

4.1. Цель и задачи работы

Изучить экспериментальные и расчетные способы определения момента инерции коленчатого вала.

4.2. Вводная часть

Кинетическая энергия тела массой m, движущегося со скоростью

, определяется выражением

EК

 

m 2

. Окружная скорость при

 

вращательном движении равна R

2

И

(ω – угловая скорость, R – ра-

диус вращения). Тогда кинетическая энергия вращательного движе-

 

m R2 2

 

Д

2

ния EB

 

. Величина

J mR2 называется моментом инерции

2

 

А

Момент инерции

материальной точки относительно оси вращения.

является мерой инертности материальной точки (системы) при вращательном движении, характеризует распределение масс в телах. Моментом инерции системы материальных точек J, кг·м , относительно оси называют сумму произведения масс этих точек на квадрат их расстояния до оси.

 

 

 

n

 

 

 

 

бJ mk Rk2 .

(4.1)

 

 

 

k 1

 

 

В частном случае сплошного тела сумму следует заменить инте-

гралом

и

 

 

 

С

 

J R2dm

 

 

 

 

,

(4.2)

где dm – масса элементарной части тела.

В тех случаях, когда имеется изготовленная деталь, целесообразно использовать экспериментальный способ определения момента инерции. Наиболее простой – метод бифилярного подвеса [фильера – нить, проволока (франц.); би – дважды (латин.)].

4.3. Описание лабораторной установки

Исследуемая деталь подвешивается на 2-х стальных нитях, расположенных на равных расстояниях от оси вращения, проходящей

34

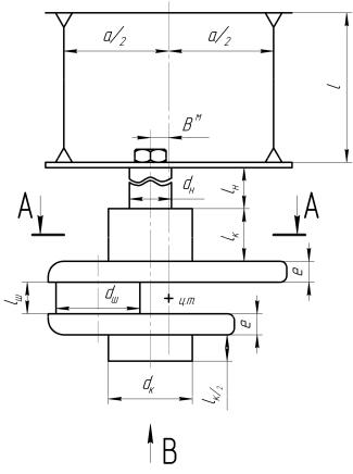
через центр тяжести, другие концы нитей укрепляют так, чтобы их длины были равны между собой, а направления их – параллельны оси вращения. На рис. 4.1 показано колено с хвостиком коленчатого вала.

Одна из щек имеет противовес. Так как центр тяжести кривошипа не лежит на его оси вращения, то при закреплении его на подвеске, добиваются того положения, чтобы ось симметрии подвеса проходила через центр тяжести и ось вращения кривошипа была бы вертикальна.

 

 

 

 

И

 

 

 

Д

 

 

А

 

 

б

 

 

и

 

 

 

С

 

 

 

 

Рис. 4.1. хема крепления колена вала на двух нитях

4.4. Экспериментальное определение момента инерции части коленчатого вала

Экспериментальное определение момента инерции колена вала заключается в следующем. Поворотом на угол 20 − 300 деталь приводится в колебательное движение, замеряя секундомером время колебаний. Опыт повторяют не менее трех раз, определяя среднюю величину периода полного колебания по формуле

Т

 

,

(4.3)

 

n

35