Материал: 2144

Внимание! Если размещение файла нарушает Ваши авторские права, то обязательно сообщите нам

Приложение 1

Образец титульного листа

МИНИСТЕРСТВО НАУКИ И ВЫСШЕГО ОБРАЗОВАНИЯ РФ

Федеральное государственное бюджетное образовательное учреждение высшего

образования «Сибирский государственный автомобильно-дорожный СибАДИФакультет «НСТ» университет ( )»

Кафедра «ЭСМ К»

ПОЯСНИТЕЛЬН Я З ПИСКА

к курсовому проекту (работе)

на тему

Выполнил: студент группы

(указать группу)

Ф О

Проверил:

(должность)

Ф О

Омск год

81

Приложение 2

 

Образец задания

 

ЗАДАНИЕ НА КУРСОВОЙ ПРОЕКТ (работу)

 

Тема

______________________________________________________________

СибАДИ

 

ВАРИАНТ №

тудент

группа

Вид работ

 

Регион стро

тельства

Протяженность участка дороги

Параметры элемента дороги шир на

высота

толщина слоя

Категория грунта

 

Коэффициент заложения откосов

 

Ведущая машина СКМ

 

Дальность транспортирования

 

материала (полуфабрикатов)

 

Пояснительная записка

Введение Часть 1. Организация производства работ.

1.1. Методы организации производства дорожно-строительных работ. 1.2. Описание технологии строительства элементов автомобильной дороги.

Часть 2. Формирование специализированных ресерсосберегающих комплектов машин (СКМ) для строительства элементов автомобильных дорог.

2.1. Формирование ресурсосберегающих вариантов СКМ.

2.1.1.Обоснование и расчет темпа производства работ.

2.1.2.Расчет сменной эксплуатационной производительности машин, входящих в состав СКМ.

82

Окончание прил.2

2.2. Определение количества машино-смен средств ТТМ, входящих в КМ.

2.3. Расчет и анализ технико-экономических показателей (ТЭП) работы КМ по вариантам.

2.4. Определение экономического эффекта от внедрения ресурсосберегающих СКМ оптимального состава.

СибАДИ

Заключен е.

Графическая часть

1. План потока стро тельства элемента дороги. Варианты составов СКМ – 1 лист формат А1.

2. Техн ко-эконом ческие показатели работы СКМ – 1 лист формат А1.

Литература:

1. Технолог ческ е машины и комплекты в дорожном строительстве

(про зводственная

техническая

эксплуатация/ В.Б. Пермяков,

В.И. Иванов, С.В. Мельник [и др.] ; под ред. В.Б. Пермякова : учебное

пособие

для вузов

(для акалавров

и магистров). – М. : 000 ИД

«БАСТЕТ», 2014. – 752 с.

 

 

2. Пермяков, В.Б. Комплексная механизация строительства : учебник

для вузов/ В.Б. Пермяков. – М. : Высшая школа, 2008. – 383 с.

3. Технология

организация

строительства автомобильных дорог :

учебник

для

вузов

/ Н.В.

Горелышев, С.М. Полосин-Никитин,

М.Ч. Коганзон [и др.] ; под ред. Н.В. Горелышева. – М. : Транспорт,

1992. – 551 с.

 

 

 

 

Сроки выполнения проекта

 

 

Задание выдано «

»

20

г.

Подпись студента:

 

 

 

Руководитель проекта

д-р техн.наук, проф. Пермяков В.Б.

83

Приложение 3

Технологическая карта № 1

Возведение насыпи земляного полотна автомобильных дорог из грунта боковых резервов бульдозером

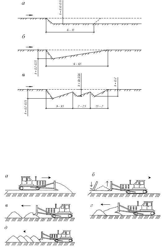
СибАДИРезание грунта осуществляют прямоугольным, клиновым или гребенчатым способом (рис. П.3.1).

1. Область применения

Технолог ческая карта разработана на возведение земляного полотна высотой до 1,5 м из грунта боковых резервов на основе методов

научной орган зац труда и предназначена для использования при

разработке проектов производства работ и организации труда на стро тельном о ъекте.

В технолог ческой карте принято возведение насыпи земляного

полотна з грунта

II группы двусторонних боковых резервов

бульдозером. Глу

на

оковых резервов не должна превышать 1,5 м.

Во всех случаях применения технологической карты необходима

привязка ее к конкретным условиям производства работ.

2. Организация и технология производства работ

Рабочий цикл

ульдозера при возведении земляного полотна из

боковых резервов состоит из следующих операций:

- резания грунта;

 

- перемещения грунта;

- укладки распределения грунта;

- обратного холостого хода.

Перемещение грунта к месту укладки начинают сразу же по окончании набора его перед отвалом. ля уменьшения потерь при перемещении грунта применяют два способа: по траншее в грунте естественного состояния; по траншее, образованной из валов грунта, осыпавшегося во время предыдущих проходов бульдозера.

84

 

 

 

 

 

 

Продолжение прил.3

 

 

Р с. П.3.1. Спосо ы резания грунта бульдозером:

 

 

 

а – прямоугольный; – клиновой; в – гребёнчатый.

 

 

 

Стрелкой показано направление движения бульдозера

 

 

Укладку перемещаемого грунта выполняют различными способами:

«от

себя»,

«на

себя»,

«свободная»,

«вполуприжим»,

«вприжим»

(рис. П.3.2).

 

 

 

 

 

 

 

 

 

Vр

 

 

Vр

 

 

 

 

 

 

 

1

 

 

2

 

 

2

 

 

 

 

 

Vр

 

 

 

Vр

 

 

1

 

 

 

1

1

 

 

 

 

 

 

 

 

СибVр АДИ

 

1

1

 

 

 

 

 

Рис. П.3.2. Схема укладки грунта бульдозером:

а– «от себя»; б – «на себя»; в – «свободная»; г «вполуприжим»;

д– «вприжим»; 1 – призма грунта; 2 – отсыпаемый слой грунта

85