Каждый ток учитывается столько раз, сколько он охватывается контуром. Положительным считается ток, направление которого связано с направлением обхода по контуру правилом правого винта; ток
противоположного направления считается отрицательным. |
|
|
На- |
||||||||||||||
пример, для системы токов, изображённых на рис. 4.1, в [3, 5]: |
|
|
|
|
|
|
|||||||||||
|
|
∫ Hdl |
= I1 + I2 − I3 + I4 . |
|
|
|
|
|
|
|
|
|
|
||||
|
|
L |
|
|
|
|
|
|
|
|
|
|
|
|
|
|
|
|
|
|
|
|
|
|
|
|
|
|
|
|
|
|
|
|
|
а |
|
б |
|
N |
B |
в |
|
|
|
|
|
|
|||||
|
|
|
|
|
|
|
|
|
|||||||||
С |
|
|
|
|
|
|
|
|
|
|
|
|
|
|
|
|
|
|
|
|
H |
|
|
|
|
I1 |
|||||||||
|
|
|
|
|
|
|
|
|
|
|
|
|
|||||
I |
|
|
|
|
|
|
|
|
|
|
I2 |
|
|
|
|||
|
|
|
H |
|
|
|
|
|
|
|
|
|
|||||
|
|
|
|
dl |
|
|
|
|
|
|
|
||||||
|
|
|
|
|
|
|
|
|
|
|
|
|
|||||
|
|
|
|
|
|
|
|
|
|
|
|
|
|
|
|
|
|
|
|
|
|
|
|
|
|
|
|
|
|
|
|
||||
|
|
|
|
|
|
|
|
|
|
|
|
|
|
I3 |
|
||
|
|
|
|
|
|
|
|
|
|
|
|
|
|
|
|
|
|
|
|
I |
|
|
|
|
|
|
|
|
|
|
|
I4 |
|
|
|
|
|
|
|
|
|
|
|
|
|
|
|
|
|
|
|
|
|
|
|
|
|
|
|
|
|
|
l |
|
|
|
|
|
|
|
|
и |
|
|
|
|
|
|
|
|
|
|
|
|
|||||
|
|
|
|
|
|
|
|
|
|
|
|
|
|||||
|
|
|
|
S |
|
|
|
|
|
|
|
|
|
|
|
|
|
|
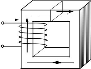
Рис. 4.1. Иллюстрация напряженности магнитного поля: |
|
|
|
|
|
|
||||||||||
|
б |
|
|
|
|
|
|
|
|
|
|
||||||
а – магнитное поле проводника с током; |
б – закон полного тока; в – система |
||||||||||||||||
|
|
|
токов |
|
|
|
|
|
|
|
|
|
|
||||
|
|
А |
|
|
|
|
|
|
|
|
|
|
|||||
Магнитную цепь большинства электротехнических устройств |
|||||||||||||||||
можно представить состоящей из совокупности участков, в пределах |
|||||||||||||||||
которых магнитное поле считается однородным с постоянной напря-
жённостью, равной напряжённости вдоль средней линии магнитопро- |
|
вода. Для таких цепей интегрирование напряжённости магнитного |
|
поля H по l в выражении (4.1) можно заменить их произведением. |
|
Например, для катушки с токомДI и числом витков w на участке |
|
магнитопровода длиной lcp, сечением SС (рис. 4.2) закон полного тока |
|
можно записать в линейной форме [3, 5]: |
|
Hlср = Iw = F , |
(4.2) |
где Iw = F – магнитодвижущая сила (МДС)И. Основной единицей из- |
|
мерения магнитодвижущей силы в системе СИ является ампер [А]. |
|
Произведение Hl = UМ называют магнитным напряжением участка магнитной цепи. Единица измерения в системе СИ – ампер [А].
Результирующее магнитное поле, создаваемое всеми силовыми
магнитными линиями, характеризует вектор магнитной индукции B . Основная единица магнитной индукции в СИ – тесла [Тл].
76
Вслучае однородной изотропной среды вектор индукции связан
свектором напряжённости следующим соотношением [3, 5]:
|
|
|
B = µ0µr H , |
(4.3) |
|
где μ0 |
= 4π∙10-7 Гн/м – магнитная постоянная; μr – безразмерная ве- |
||||
личина – относительная магнитная проницаемость среды. |
|
||||
В зависимости от значения относительной магнитной проницае- |
|||||
мости μr все вещества разделяются на |
|
|
|||
• |
д амагн тные (μr ≤ 1) – воздух, дерево, алюминий, платина; |
||||
• |
парамагн тные (μr > 1) – натрий, магний, литий; |
|
|||
• |
ферромагн тные (μr >> 1) – железо, электротехническая сталь, |
||||
С |
|
|
|
|
|
ты, пермаллой (сплав железа и никеля, обладающий высокой |
|||||
магнитной прон цаемостью μr до 10 000). |
|
||||
Магн тная прон цаемость воздуха приблизительно равна маг- |
|||||
нитной прон цаемости вакуума и в технических расчётах принимает- |
|||||
ся равной магн тной постоянной μ0. |
|
|
|||
ферри |
|
|
|||
|
|
|
|
SC |
|
|
I |
lср |
|
B |
|
|
б |
|
|||
|
|
|
w |
|
|
|
|
F |
|
|
|
|
|
А |
|
||
|
|
|
Ф |
|
|
|
Рис. 4.2. Неразветвленная магнитная цепь |
|
|||
|
|
|
Д |
|
|
Поток вектора магнитной индукции Ф через произвольную по- |
|||||
верхность площадью S равен [3, 5]: |
|
|
|||
|
|
|
Φ = ∫ BdS . |
(4.4) |
|
|
|
|
S |
|
|
Единица измерения магнитного потока вСИсистеме – вебер [Вб]. |
|||||
Магнитный поток Ф через сечение магнитопровода на рис. 4.2, |
|||||
перпендикулярное направлению вектора магнитной индукции [3, 5], |
|||||
Φ = BSC , |
(4.5) |
где SC – площадь сечения магнитопровода.
77
|
Используя уравнения (4.2), (4.3), (4.5), получим выражение |
|||||||||||||||
закона Ома для магнитной цепи |
|
|
|
|
|
|
|
|
|
|
|
|
||||
|
|
Φ = µ0µr HSC = µ0µr SC F = |
|
F |
|
, |
|
|
|
(4.6) |
||||||
|
|
|
|
|
lср |
|
RM |
|
|
|
|
|
||||
где RM – магнитное сопротивление, [Гн-1]. |
|
|
|
|
|
|
|
|
|
|||||||
|
Для разветвлённой магнитной цепи (рис. 5.4) выполняются |
|||||||||||||||
законы К рхгофа [3, 5]. |
|
|
|
|
|
|
|
|
|
|
|
|
|
|||
|
Первый закон К рхгофа для магнитной цепи: алгебраическая |
|||||||||||||||
сумма магн тных потоков в узле разветвлённой магнитной цепи рав- |
||||||||||||||||
на нулю [3, 5]: |
|
|
|
|
|
|
|
|
|
|
|
|
|
|
||
С |
|
∑Φk |
= 0. |
|
|
|
|
|
|
|
|
|
(4.7) |
|||
|
|
|
k |
|
|
|
|
|
|
|
|
|
|
|
|
|
|
Второй закон К рхгофа для магнитной цепи: алгебраическая |
|||||||||||||||
сумма магн тных напряжений в контуре магнитной цепи равна ал- |
||||||||||||||||
гебраическойсумме МДС, действующих в этом контуре [3, 5]: |
||||||||||||||||
|
|
|
∑Hklk = ∑ I pwp . |
|
|
|
|
|
|
|
|
(4.8) |
||||
|
|
|
k |
|
p |
|
|
|
|
|
|
|
|
|
|
|
I1 |
бФ1 |
|
Например, для магнит- |
|||||||||||||
ной цепи на рис. 4.3 система |
||||||||||||||||
|
|
|
|
|
|
|||||||||||
|
w1 |
|
|
|
|
уравнений по законам Кирх- |
||||||||||
I2 |
Ф2 |
Ф3 |
|
|
гофа имеет вид |
|
|
|||||||||
w2 |
|
|
|
|
||||||||||||
|
|
|
|
|
Φ − Φ |
− Φ |
3 |
= 0; |
||||||||
|
|
|
|
|
|
|||||||||||
|
|
А1 2 |
|
|
|
|||||||||||
|
|
|
|
|
|
|
|
|
|
|
|
|
|
|
I1w1 + I2w2 ; |
|
|
|
|
|
|
|
H1l1 + H2l2 = |
||||||||||
|
|
|
|
|
|
− H |
2 |
l |
2 |
+ H |
l |
= 0. |
||||
|
Рис. 4.3. Разветвлённая магнитная цепь |
|
|
|
|
|
3 3 |
|
||||||||
|
|
|
|
Д |
||||||||||||
|
В отличие от вакуума, ферромагнитные материалы проявляют |
|||||||||||||||
нелинейные магнитные свойства, что отражается на зависимости маг- |
||||||||||||||||
нитной индукции материала от напряжённости магнитного поля в нём. |
||||||||||||||||
|
Если начальное магнитное состояние материала магнитопровода |
|||||||||||||||
характеризуется значениями H = 0 и B = 0, то при плавном нарастании |
||||||||||||||||
|
|
|
|
|
|
И |
||||||||||
тока получим нелинейную зависимость В(Н), которая называется кри- |
||||||||||||||||
вой первоначального намагничивания (рис. 4.4, штриховая линия). На- |
||||||||||||||||
чиная с некоторых значений напряжённости Н магнитного поля ин- |
||||||||||||||||
дукция В практически перестаёт увеличиваться и остаётся равной |
||||||||||||||||
Bmax. Эта область зависимости В(Н) называется областью техниче- |
||||||||||||||||
ского насыщения [3, 5]. |
|
|
|
|
|
|
|
|
|
|
|
|
|
|||
78
B |
|
Если, достигнув насыщения, |
|
Bmax |
|
плавно уменьшать ток в обмотке, т.е. |
|
|
уменьшать напряжённость, то ин- |
||
Br |
|
дукция также начнёт уменьшаться. |
|
|
|
Однако зависимость В(Н) не совпа- |
|
-HC 0 HC |
|
дает с кривой первоначального на- |
|
H |
магничивания. Изменив направление |
||
–Br |
|
тока в обмотке и увеличивая его зна- |
|
|
|
чение, получим новый участок зави- |
|
Рис. 4.4. Кр вые намагн ч вания |
симости В(Н). При значительных от- |
||
рицательных значениях напряжённо- |
|||
С |
|
||
|
сти магнитного поля снова наступит |
||
|
|
||
техническое насыщен е ферромагнитного материала. После несколь- |
|||
статическких циклов перемагн ч вания для зависимости В(Н) будет получена симметр чнаябкр вая (см. рис. 4.4). Этот замкнутый цикл В(Н) назы-
вается предельной статической петлёй гистерезиса (предельным м ц клом г стерезиса) ферромагнитного материала.
Предельная стат ческая петля гистерезиса ферромагнитных материалов характер зуется следующими параметрами [3, 5]:
• НС – коэрцитивнаяАсила – напряжённость размагничивающего внешнего магнитного поля, которое необходимо создать в ферромагнетике, предварительно намагниченном до насыщения, чтобы довести до нуля его индукцию В;
• Вr |
– остаточная индукция – магнитная индукция |
ферромагнитного материала при напряжённости магнитного поля, |
|
равной нулю, в условиях циклического перемагничивания; |
|
• k□ |
– коэффициент прямоугольности, представляющий собой |
отношение остаточной индукции Br к максимальной индукции Вmax. |
|
4.2. Пример расчёта параметровДнеразветвленной неоднородной |
|
магнитной цепи с постоянным магнитным потоком |
|
При расчёте неразветвленных магнитных цепей, можно сформу- |
|
лировать две принципиально отличающиеся друг от друга задачи – |
|
прямую и обратную. |
И |
Прямой задачей расчёта неразветвленной магнитной цепи явля- |
|
ется определение МДС F или тока I катушки электромагнита, по заданным значениям магнитного потока Ф или магнитной индукции В на некотором участке магнитопровода (чаще всего с воздушным зазором) [6]. Т.е. прямая задача требует поиска электрических параметров катушки электромагнита по заданным магнитным.
79
Обратной задачей расчёта неразветвленной магнитной цепи |
||||
является определение магнитного потока Ф или магнитной индукции |
||||
В по заданным значениям МДС F или тока I катушки электромагнита. |
||||
Т.е. обратная задача, наоборот, требует поиска магнитных параметров |
||||
магнитопровода по заданным электрическим параметрам катушки. |
||||
Из-за наличия нелинейных ферромагнитных участков магнит- |
||||
ной цепи данные задачи отличаются не только искомыми величина- |
||||
ми, но и принципиальным подходом, а также методикой расчёта не- |
||||
известных параметров. |
|
|
||
Рассмотр м пр мер прямой задачи расчёта неразветвленной |
||||
магнитной цепи. Для магнитной цепи с воздушным зазором δ опреде- |
||||
МДСF, ток I |
ндуктивность L катушки, имеющей w витков, по |
|||
заданному значен ю магнитной индукции Вδ в воздушном зазоре, от- |
||||
деляющ м подв жную часть электромагнита от основной неподвиж- |
||||
ной. Магн топровод выполнен из электротехнической стали и имеет |
||||
заданную геометр ю с размерами в мм (рис. 4.5). Зависимость магнит- |
||||
лить |
|
|
||
ной индукц |
от напряженности магнитного поля B = f(H) для элек- |
|||
тротехн ческой стали задана графически (рис. 4.6). Кривая разделена |
||||
на три участка (а, , в), каждый из которых охватывает свой диапазон |
||||
напряжённостибмагнитного поля в материале магнитопровода. |
||||
Параметры цепи: w = 1000; Вδ = 0,6 Тл; δ = 2 мм. |
||||
|
|
U |
|
|
|
|
w |
I |
|
|
|
|
|
|
|
А |
|||
|
lср |
|
|
66 |
|
|
|
F |
|
|
|
|
|
|
|
|
|
Д |
|
|
Ф |
|
Ф |
198 |
|
|
|
||
|
|
|
|
|
|
66 |
110 |
66 |
И |
|
a |
|
b |
|
δ |
f |
|
c |
|
|
|
|
||
24 |
e |
|
d |
|
|
|
198 |
|
66 |
Рис. 4.5. Принципиальная схема неразветвленной магнитной цепи |
||||
80